| № п/п | № рис. | Наименование | Код детали | УХЛ | Т | У |
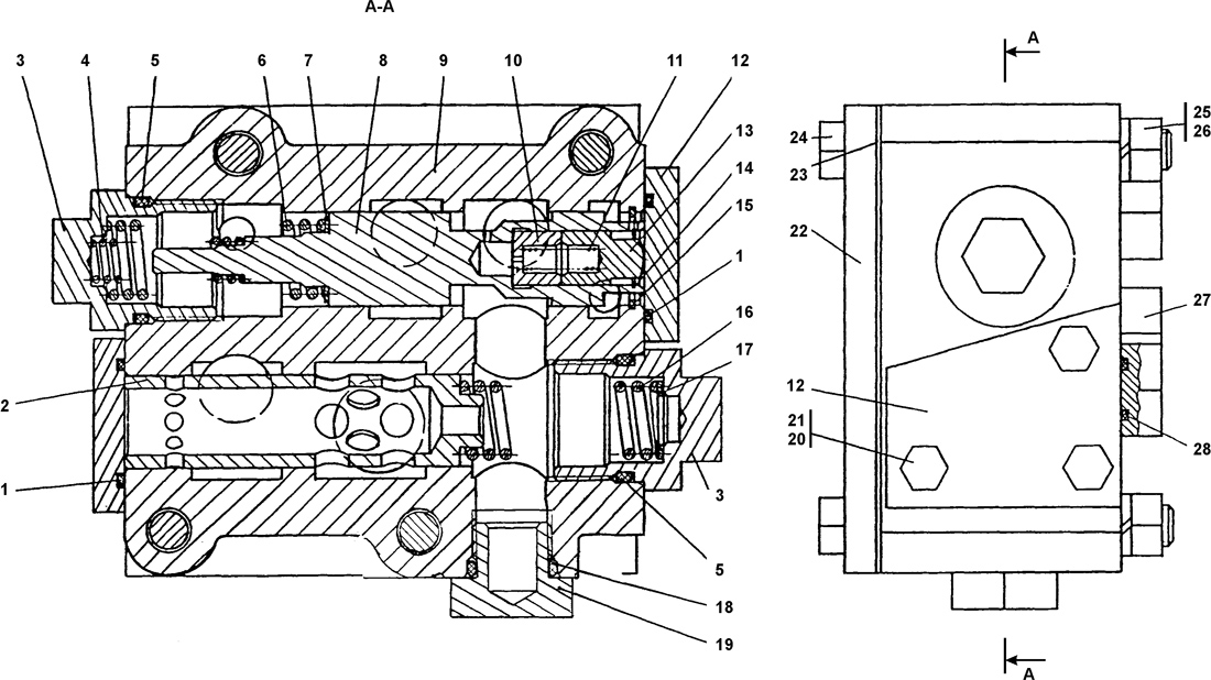
| 0 | 1 | Делитель потока | 1101-15-15СП | 1 |
- | - |
| 0 | 1 | Делитель потока | 1101-15-15-20СП | - |
1 | - |
| 1 | 1 | Кольцо 034-038-36-2-51-1668 | - | 2 |
2 | - |
| 2 | 1 | Золотник | 1101-15-47 | 1 |
1 | - |
| 3 | 1 | Пробка | 1101-15-51 | 2 |
- | - |
| 3 | 1 | Пробка | 1101-15-51-20 | - |
2 | - |
| 4 | 1 | Пружина | 385 274 | 1 |
1 | - |
| 5 | 1 | Кольцо 032-038-36-2-51-1668 | - | 2 |
2 | - |
| 6 | 1 | Пружина | 385 578 | 1 |
1 | - |
| 7 | 1 | Гайка М12 ГОСТ 5915-70 | - | 4 |
4 | - |
| 7 | 1 | Шайба 16x1 ГОСТ 10450-78 | 310 280 | 5 |
5 | - |
| 8 | 1 | Золотник | 1101-15-46 | 1 |
1 | - |
| 9 | 1 | Корпус | 1101-15-45 | 1 |
- | - |
| 9 | 1 | Корпус | 1101-15-45-20 | - |
1 | - |
| 10 | 1 | Клапан | 1101-15-49 | 1 |
1 | - |
| 11 | 1 | Пружина | 700-38-2556 | 1 |
1 | - |
| 12 | 1 | Крышка | 1101-15-50 | 2 |
2 | - |
| 13 | 1 | Плунжер | 1101-15-48 | 1 |
1 | - |
| 14 | 1 | Кольцо С16 | 280 160 | 1 |
1 | - |
| 16 | 1 | Пружина | 385 438 | 1 |
1 | - |
| 17 | 1 | Шайба 12x2 ГОСТ 11371-78 | 310 210 | 3 |
3 | - |
| 18 | 1 | Кольцо 021-027-36-2-51-1668 | - | 1 |
1 | - |
| 19 | 1 | Пробка | 375 714 | 1 |
- | - |
| 19 | 1 | Пробка | 37 5714-20 | - |
1 | - |
| 20 | 1 | Шайба 10 | - | 6 |
6 | - |
| 21 | 1 | Болт М8-6gx25 | - | 6 |
6 | - |
| 22 | 1 | Крышка | 312001-15-11 | 1 |
1 | - |
| 23 | 1 | Прокладка | 450 281 | 1 |
- | - |
| 23 | 1 | Прокладка | 45 0281-20 | - |
1 | - |
| 24 | 1 | Болт М12-6gx100 | 281 389 | 2 |
- | - |
| 24 | 1 | Болт М12-6gx100 | 28 1389-20 | - |
2 | - |
| 25 | 1 | Кольцо С28 | 580 272 | 1 |
1 | - |
| 26 | 1 | Шайба 12 | - | 4 |
4 | - |
| 27 | 1 | Пробка | 375 331 | 4 |
- | - |
| 27 | 1 | Пробка | 37 5331-20 | - |
4 | - |
| 28 | 1 | Кольцо 018-022-25-2-51-1668 | - | 4 |
4 | - |