| № п/п | № рис. | Наименование | Код детали | УХЛ | Т | У |
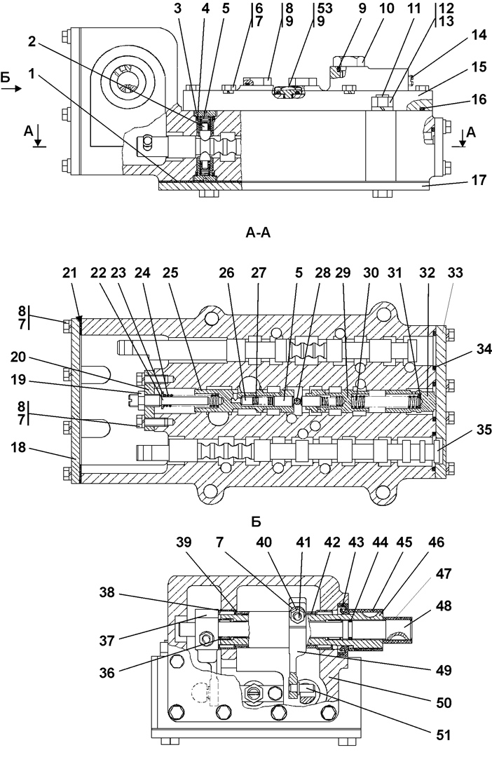
| 0 | 1 | Блок управления | 1501-15-20СП | 1 |
- | - |
| 0 | 1 | Блок управления | 1501-15-20-20СП | - |
1 | - |
| 1 | 1 | Прокладка | 450 291 | 1 |
1 | - |
| 2 | 1 | Фиксатор | 1501-15-12 | 4 |
4 | - |
| 3 | 1 | Корпус фиксатора | 1501-15-11 | 4 |
4 | - |
| 4 | 1 | Кольцо 014-018-25-2-51-1668 | - | 4 |
4 | - |
| 5 | 1 | Пружина | 385 092 | 6 |
6 | - |
| 6 | 1 | Болт М8-6gх30 | - | 9 |
9 | - |
| 7 | 1 | Шайба 8Т | - | 31 |
31 | - |
| 8 | 1 | Пробка | 375 330 | 2 |
2 | - |
| 8 | 1 | Болт М8-6gх25 | - | 20 |
20 | - |
| 9 | 1 | Кольцо 018-022-25-2-51-1668 | - | 5 |
5 | - |
| 10 | 1 | Дроссель | 1501-15-130СП | 1 |
1 | - |
| 11 | 1 | Болт М12-6gх90 | 280 388 | 4 |
- | - |
| 11 | 1 | Болт М12-6gх90 | 28 0388-20 | - |
4 | - |
| 12 | 1 | Гайка М12 | - | 4 |
4 | - |
| 13 | 1 | Шайба 12 | - | 4 |
4 | - |
| 14 | 1 | Пробка кг 1/8” ТУ 23.1.506-91 | 37 0140-08 | 1 |
1 | - |
| 15 | 1 | Крышка | 1501-15-2 | 1 |
1 | - |
| 16 | 1 | Кольцо 190-195-36-2-51-1668 | - | 1 |
1 | - |
| 17 | 1 | Крышка | 1501-15-23 | 1 |
1 | - |
| 18 | 1 | Крышка | 1501-15-21 | 1 |
1 | - |
| 19 | 1 | Гайка М12х1,25 ГОСТ 15522-70 | 300 220 | 1 |
1 | - |
| 20 | 1 | Планка | 1501-15-25 | 1 |
1 | - |
| 21 | 1 | Прокладка | 450 287 | 1 |
- | - |
| 21 | 1 | Прокладка | 45 0287-20 | - |
1 | - |
| 22 | 1 | Винт | 1501-15-24 | 1 |
1 | - |
| 23 | 1 | Золотник | 1501-15-4* | 1 |
1 | - |
| 24 | 1 | Шайба | 310 150 | 1 |
1 | - |
| 25 | 1 | Пружина | 385 273 | 2 |
2 | - |
| 26 | 1 | Золотник | 1501-15-5* | 1 |
1 | - |
| 27 | 1 | Клапан | 1501-15-7 | 1 |
1 | - |
| 28 | 1 | Плунжер | 1501-15-6* | 2 |
2 | - |
| 29 | 1 | Стопор | 1501-15-14 | 1 |
1 | - |
| 30 | 1 | Золотник | 1501-15-9* | 1 |
1 | - |
| 31 | 1 | Шайба 6 ГОСТ 11371-78 | 310 110 | 4 |
4 | - |
| 32 | 1 | Поршень | 1501-15-65 | 1 |
1 | - |
| 33 | 1 | Крышка | 1501-15-20 | 1 |
1 | - |
| 34 | 1 | Кольцо 038-046-46-2-51-1668 | - | 3 |
3 | - |
| 35 | 1 | Золотник | 1501-15-3* | 1 |
1 | - |
| 36 | 1 | Подшипник 941/15 | - | 2 |
2 | - |
| 37 | 1 | Рычаг | 1501-15-19 | 1 |
1 | - |
| 38 | 1 | Подшипник 941/30 | - | 2 |
2 | - |
| 39 | 1 | Втулка | 1501-15-17 | 1 |
1 | - |
| 40 | 1 | Гайка М8 | - | 2 |
2 | - |
| 41 | 1 | Клин | 312501-91-157 | 2 |
2 | - |
| 42 | 1 | Втулка | 1501-15-17-01 | 1 |
1 | - |
| 43 | 1 | Манжета 2.2-30х52-3 ГОСТ 8752-79/ОСТ 38.05146-78 | - | 1 |
1 | - |
| 44 | 1 | Кольцо 016-020-25-2-51-1668 | - | 1 |
1 | - |
| 45 | 1 | Труба | 2501-15-152 | 1 |
1 | - |
| 46 | 1 | Валик | 1501-15-15 | 1 |
1 | - |
| 47 | 1 | Труба | 2501-15-152-01 | 1 |
1 | - |
| 48 | 1 | Валик | 1501-15-16 | 1 |
1 | - |
| 49 | 1 | Рычаг | 1501-15-18 | 1 |
1 | - |
| 50 | 1 | Корпус | 1501-15-1* | 1 |
- | - |
| 50 | 1 | Корпус | 1501-15-1-20 | - |
1 | - |
| 51 | 1 | Палец | 1501-15-22 | 2 |
2 | - |
| 53 | 1 | Прокладка регулировочная | 2 391 722 091 | 3 |
3 | - |