![]() |
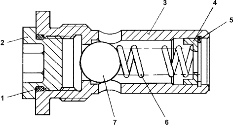
| Рис.1 |
| № п/п | № рис. | Наименование | Код детали | |||
| 0 | 1 | Клапан | 1101-16-112СП | |||
| 0 | 1 | Клапан | 1101-16-112-20СП | |||
| 1 | 1 | Кольцо 026-032-36-2-51-1668 ТУ2531-260-00149245-00 | - | |||
| 2 | 1 | Пробка | 375 920 | |||
| 2 | 1 | Пробка | 37 5920-20 | |||
| 3 | 1 | Корпус | 1101-16-32 | |||
| 4 | 1 | Втулка | 1101-16-33 | |||
| 5 | 1 | Кольцо С26 ГОСТ 13941-86 | - | |||
| 6 | 1 | Пружина | 385 479 | |||
| 7 | 1 | Шарик Б22,225-200 ГОСТ 3722-81 | - |
Обращаем Ваше внимание, что пункты отмеченные звездочкой, обязательны для заполнения.