| № п/п | № рис. | Наименование | Код детали | УХЛ | Т | У |
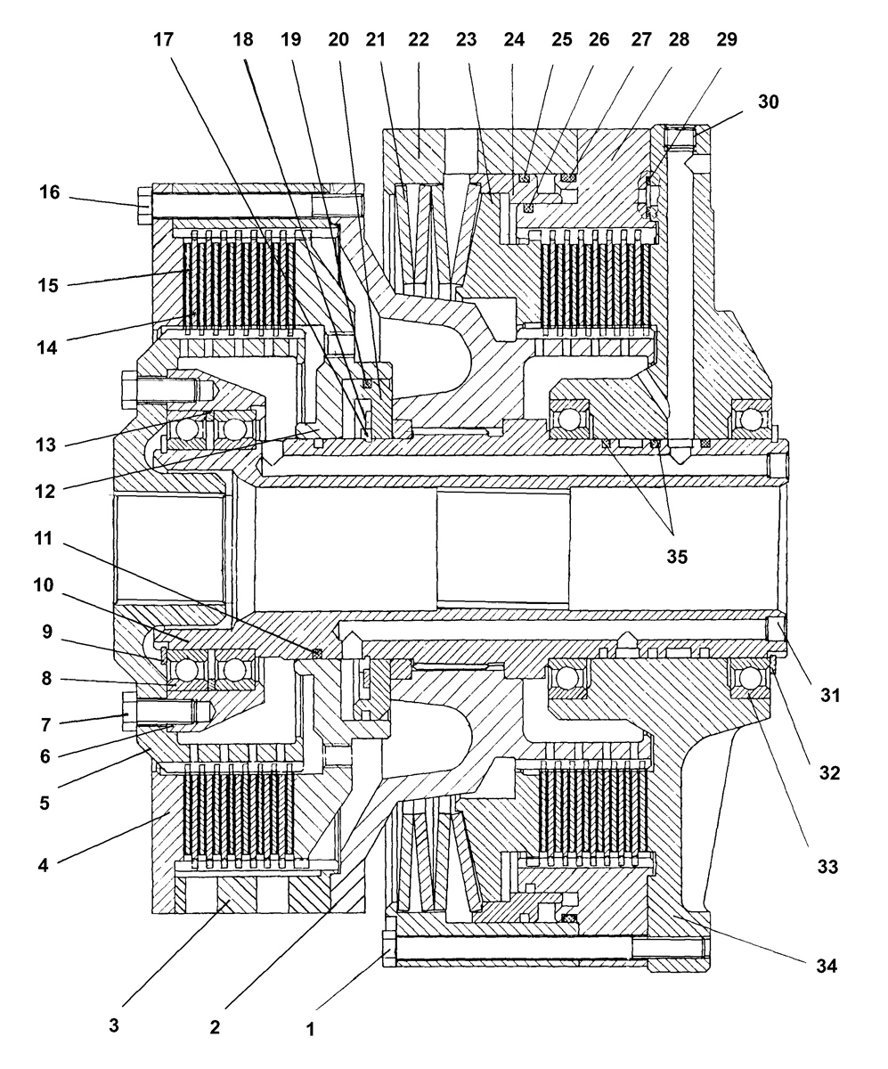
| 0 | 1 | Фрикцион бортовой и тормоз остановочный | 2001-18-10СП | 1 |
1 | - |
| 1 | 1 | Болт | 285 389 | 4 |
4 | - |
| 2 | 1 | Барабан | 2001-18-101СП | 1 |
1 | - |
| 3 | 1 | Барабан | 2001-18-8 | 1 |
1 | - |
| 4 | 1 | Крышка | 2001-18-14 | 1 |
1 | - |
| 5 | 1 | Барабан | 2001-18-9 | 1 |
1 | - |
| 6 | 1 | Обойма | 2001-18-15 | 1 |
1 | - |
| 7 | 1 | Болт 3М12-6gx30 ГОСТ 7798-70 | 280 339 | 6 |
6 | - |
| 8 | 1 | Подшипник 1000920 | - | 2 |
2 | - |
| 9 | 1 | Кольцо С100 | 580 760 | 1 |
1 | - |
| 10 | 1 | Вал | 2001-18-2 | 1 |
1 | - |
| 11 | 1 | Кольцо уплотнительное | 2501-12-181-22 | 2 |
2 | - |
| 12 | 1 | Поршень | 2001-18-10 | 1 |
1 | - |
| 13 | 1 | Кольцо | 2001-18-21 | 1 |
1 | - |
| 14 | 1 | Диск | 2001-18-7 | 14 |
14 | - |
| 15 | 1 | Диск | 2001-18-100СП | 16 |
16 | - |
| 16 | 1 | Болт 3М12x1,25-6gx105 ГОСТ 7796-70 | 280 391 | 15 |
15 | - |
| 17 | 1 | Кольцо | 2001-18-12 | 1 |
1 | - |
| 18 | 1 | Кольцо С120 | 580 814 | 1 |
1 | - |
| 19 | 1 | Кольцо уплотнительное | 2501-12-181-01 | 1 |
1 | - |
| 20 | 1 | Кольцо | 2001-18-11 | 1 |
1 | - |
| 21 | 1 | Тарелка | 312501-90-133 | 4 |
4 | - |
| 22 | 1 | Барабан | 2001-18-6 | 1 |
1 | - |
| 23 | 1 | Диск нажимной | 2001-18-5 | 1 |
1 | - |
| 24 | 1 | Поршень | 2001-18-4 | 1 |
1 | - |
| 25 | 1 | Кольцо уплотнительное | 2501-12-181-30 | 1 |
1 | - |
| 26 | 1 | Кольцо уплотнительное | 2501-12-181-45 | 1 |
1 | - |
| 27 | 1 | Кольцо 345-355-58-2-3 ГОСТ 18829-73 | - | 1 |
1 | - |
| 28 | 1 | Проставка | 2001-18-3 | 1 |
1 | - |
| 29 | 1 | Кольцо 016-020-25-2-51-1668 | - | 1 |
1 | - |
| 30 | 1 | Пробка | 700-37-2071 | 3 |
3 | - |
| 31 | 1 | Штифт | 700-32-2074 | 2 |
2 | - |
| 32 | 1 | Кольцо С110 | 580 805 | 1 |
1 | - |
| 33 | 1 | Подшипник 1000922Л | - | 2 |
2 | - |
| 34 | 1 | Корпус | 2001-18-1 | 1 |
1 | - |
| 35 | 1 | Кольцо уплотнительное | 2001-18-28 | 2 |
2 | - |