| № п/п | № рис. | Наименование | Код детали | УХЛ | Т | У |
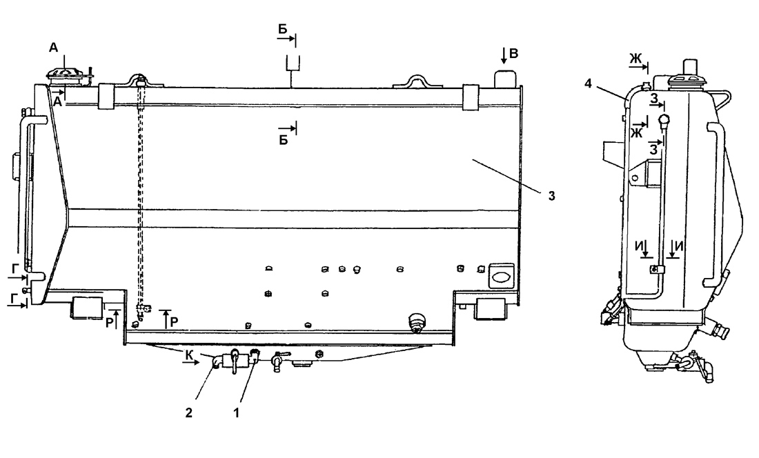
| 0 | 0 | Бак топливный | 311502-25-10СП | 1 |
- | - |
| 0 | 0 | Бак топливный | 311502-25-10-20СП | - |
1 | - |
| 1 | 1 | Угольник ввертной | 1101-25-6 | 1 |
- | - |
| 1 | 1 | Угольник ввертной | 1101-25-6-20 | - |
1 | - |
| 2 | 1 | Угольник ввертной | 1101-25-7 | 1 |
- | - |
| 2 | 1 | Угольник ввертной | 1101-25-7-20 | - |
1 | - |
| 3 | 1 | Бак топливный | 312001-25-20-01СП | 1 |
- | - |
| 3 | 1 | Бак топливный | 312001-25-20-01-20СП | - |
1 | - |
| 4 | 1 | Трубопровод | 311502-25-18СП | 1 |
- | - |
| 4 | 1 | Трубопровод | 311502-25-18-20СП | - |
1 | - |
| 1 | 2 | Фильтр | 46-25-295СП | 1 |
1 | - |
| 2 | 2 | Линейка мерная | 312001-25-54 | 1 |
1 | - |
| 3 | 2 | Кольцо пружинное | 404-25-87 | 1 |
- | - |
| 3 | 2 | Кольцо пружинное | 404-25-87-20 | - |
1 | - |
| 4 | 2 | Кольцо | 46-43-322 | 1 |
1 | - |
| 5 | 2 | Стойка | 404-25-92 | 1 |
- | - |
| 5 | 2 | Стойка | 404-25-92-20 | - |
1 | - |
| 6 | 2 | Сапун | 404-25-58СП | 1 |
- | - |
| 6 | 2 | Сапун | 404-25-58-20СП | - |
1 | - |
| 7 | 2 | Прокладка | 700-40-6684-05 | 2 |
2 | - |
| 8 | 2 | Хомутик | 700-41-2866 | 3 |
3 | - |
| 9 | 2 | Шайба 8Т | - | 3 |
3 | - |
| 10 | 2 | Болт М8-6gx16 ГОСТ 7796-70 | - | 3 |
3 | - |
| 11 | 2 | Кольцо 021-027-36-2-51-1668 ТУ 2531-260-00149245-00 | - | 1 |
1 | - |
| 12 | 2 | Контргайка | Н.036.23.072 | 1 |
- | - |
| 12 | 2 | Контргайка | Н.036.23.072-01 | - |
1 | - |
| 13 | 2 | Кран шаровой Ду15 ЦИУР494647001 ТУ 3742-997-24337661-93 | - | 2 |
2 | - |
| 14 | 2 | Угольник ввертной | 1101-25-8 | 1 |
- | - |
| 14 | 2 | Угольник ввертной | 1101-25-8-20 | - |
1 | - |
| 17 | 2 | Болт зажимной | 700-41-3129 | 1 |
- | - |
| 17 | 2 | Болт зажимной | 700-41-3129-20 | - |
1 | - |
| 18 | 2 | Кольцо 20x26 | - | 2 |
2 | - |
| 19 | 2 | Трубопровод | 311502-25-11СП | 1 |
- | - |
| 19 | 2 | Трубопровод | 311502-25-11-20СП | - |
1 | - |
| 20 | 2 | Шайба 5 | - | 5 |
5 | - |
| 21 | 2 | Винт ВМ5-6gx12 ГОСТ 17473-80 | - | 4 |
4 | - |
| 22 | 2 | Датчик указателя уровня топлива БМ-162Б ТУ 311.00225.621.152-93 | - | 1 |
1 | - |
| 23 | 2 | Гайка М5 ГОСТ 5927-70 | - | 1 |
1 | - |
| 24 | 2 | Шпилька | 2501-25-97 | 1 |
- | - |
| 24 | 2 | Шпилька | 2501-25-97-20 | - |
1 | - |
| 25 | 2 | Колпачок | 2501-25-96 | 1 |
- | - |
| 25 | 2 | Колпачок | 2501-25-96-20 | - |
1 | - |
| 26 | 2 | Прокладка | 450 019 | 1 |
- | - |
| 26 | 2 | Прокладка | 45 0019-20 | - |
1 | - |
| 27 | 2 | Болт зажимной | 700-41-2622 | 1 |
- | - |
| 27 | 2 | Болт зажимной | 700-41-2622-20 | - |
1 | - |
| 28 | 2 | Кольцо 12x16 | - | 2 |
2 | - |
| 29 | 2 | Прокладка | 700-40-6684-15 | 1 |
1 | - |