![]() |
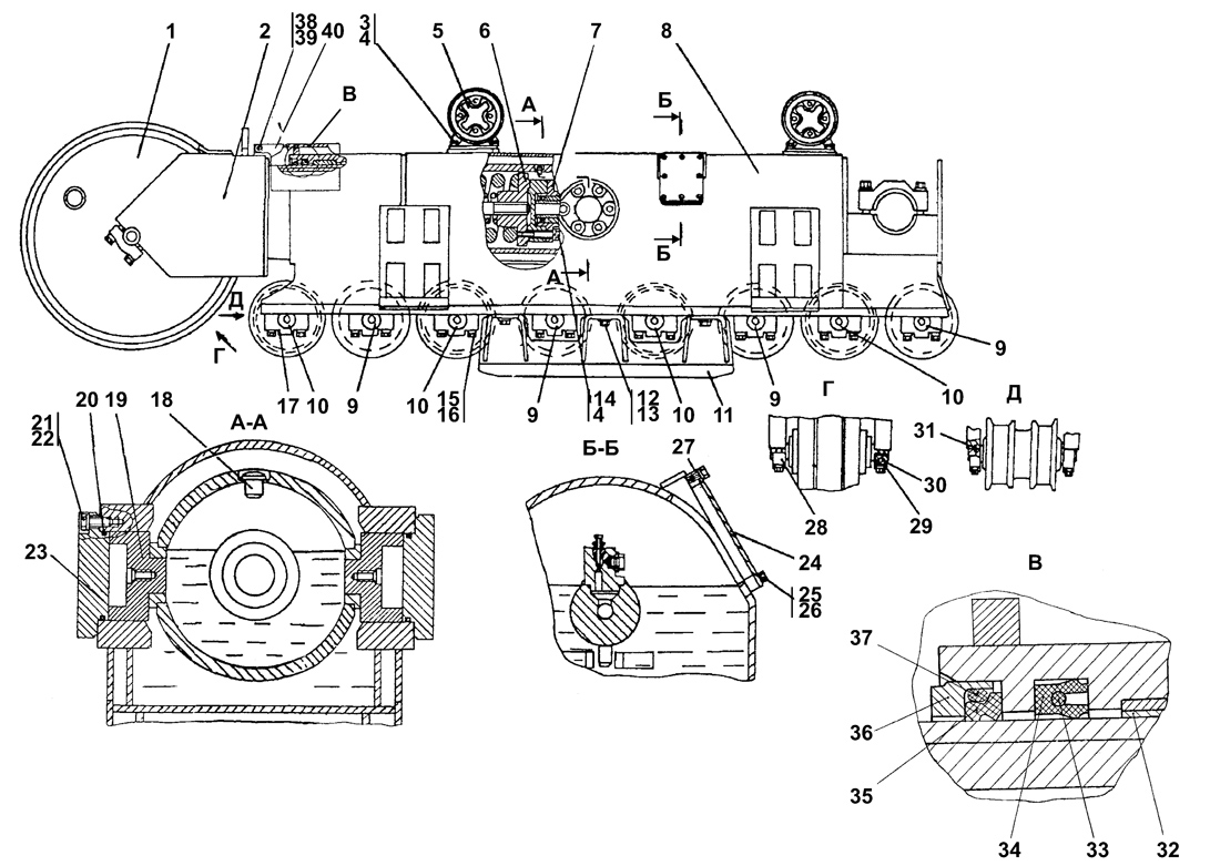
| Рис.1 |
| № п/п | № рис. | Наименование | Код детали | |||
| 0 | 1 | Тележка | 312002-21-3СП* | |||
| 0 | 1 | Тележка | 312002-21-3-20СП | |||
| 0 | 1 | Тележка | 312002-21-2СП** | |||
| 0 | 1 | Тележка | 312002-21-2-20СП | |||
| 1 | 1 | Колесо натяжное | 312002-21-41СП | |||
| 1 | 1 | Колесо натяжное | 312002-21-41-20СП | |||
| 2 | 1 | Рама тележки передняя | 2001-21-9СП | |||
| 2 | 1 | Рама тележки передняя | 2001-21-9-20СП | |||
| 3 | 1 | Болт М20x1,5-6gx60 | 280 730 | |||
| 3 | 1 | Болт М20x1,5-6gx60 | 28 0730-20 | |||
| 4 | 1 | Шайба 20.ОТ | - | |||
| 5 | 1 | Каток поддерживающий | 2001-21-15СП | |||
| 5 | 1 | Каток поддерживающий | 2001-21-15-20СП | |||
| 6 | 1 | Механизм сдавания | 2001-21-33СП | |||
| 6 | 1 | Механизм сдавания | 2001-21-33-20СП | |||
| 7 | 1 | Механизм натяжения | 1101-21-42-02СП* | |||
| 7 | 1 | Механизм натяжения | 1101-21-42-02-20*СП | |||
| 7 | 1 | Механизм натяжения | 1101-21-42-03СП** | |||
| 7 | 1 | Механизм натяжения | 1101-21-42-03-20*СП | |||
| 8 | 1 | Рама тележки | 312002-21-11СП* | |||
| 8 | 1 | Рама тележки | 312002-21-11-20СП | |||
| 8 | 1 | Рама тележки | 312002-21-12СП** | |||
| 8 | 1 | Рама тележки | 312002-21-12-20СП | |||
| 9 | 1 | Каток опорный | 2001-21-40-03СП | |||
| 9 | 1 | Каток опорный | 2001-21-40-03-20СП | |||
| 10 | 1 | Каток опорный | 2001-21-40-02СП | |||
| 10 | 1 | Каток опорный | 2001-21-40-02-20СП | |||
| 11 | 1 | Щиток | 312002-21-26СП | |||
| 11 | 1 | Щиток | 312002-21-26-20СП | |||
| 12 | 1 | Болт М20x1,5-6gx50 | 280 725 | |||
| 12 | 1 | Болт М20x1,5-6gx50 | 28 0725-20 | |||
| 13 | 1 | Шайба | 315 317 | |||
| 13 | 1 | Шайба | 31 5317-20 | |||
| 14 | 1 | Болт М20x1,5-6gx120 | 280 750 | |||
| 14 | 1 | Болт М20x1,5-6gx120 | 28 0750-20 | |||
| 15 | 1 | Шайба | 315 355 | |||
| 15 | 1 | Шайба | 31 5355-20 | |||
| 16 | 1 | Болт М24x2-6gx100 | 280 845 | |||
| 16 | 1 | Болт М24x2-6gx100 | 28 0845-20 | |||
| 17 | 1 | Крышка | 312001-21-25 | |||
| 18 | 1 | Стопор | 1501-21-227 | |||
| 19 | 1 | Вкладыш | 2001-21-68-01 | |||
| 20 | 1 | Кольцо 122-130-46-51-1668 ТУ 2531-260-00149245-00 | - | |||
| 21 | 1 | Болт М16x1,5-6gx38 | 280 535 | |||
| 21 | 1 | Болт М16x1,5-6gx38 | 28 0535-20 | |||
| 22 | 1 | Шайба | 315 271 | |||
| 22 | 1 | Шайба | 31 5271-20 | |||
| 23 | 1 | Крышка | 2001-21-65 | |||
| 24 | 1 | Крышка | 2001-21-71 | |||
| 25 | 1 | Болт М8-6gx16 | - | |||
| 26 | 1 | Шайба 8Т | - | |||
| 27 | 1 | Прокладка | 450 308 | |||
| 27 | 1 | Прокладка | 45 0308-20 | |||
| 28 | 1 | Крышка | 2001-21-57 | |||
| 28 | 1 | Крышка | 2001-21-57-20 | |||
| 29 | 1 | Крышка | 2001-21-55 | |||
| 29 | 1 | Крышка | 2001-21-55-20 | |||
| 30 | 1 | Штифт | 320 260 | |||
| 30 | 1 | Штифт | 32 0260-20 | |||
| 31 | 1 | Штифт | 325 381 | |||
| 31 | 1 | Штифт | 32 5381-20 | |||
| 32 | 1 | Втулка | 2001-21-99 | |||
| 33 | 1 | Кольцо упругое | 400 498 | |||
| 34 | 1 | Манжета | 2001-21-63 | |||
| 35 | 1 | Манжета | 2001-21-164 | |||
| 36 | 1 | Каркас | 2001-21-64 | |||
| 38 | 1 | Шайба | 310 225 | |||
| 38 | 1 | Шайба | 31 0225-20 | |||
| 39 | 1 | Болт М12-6gx20 | - | |||
| 40 | 1 | Кожух | 2001-21-247 | |||
| 40 | 1 | Кожух | 2001-21-247-20 |
Обращаем Ваше внимание, что пункты отмеченные звездочкой, обязательны для заполнения.