| № п/п | № рис. | Наименование | Код детали | УХЛ | Т | У |
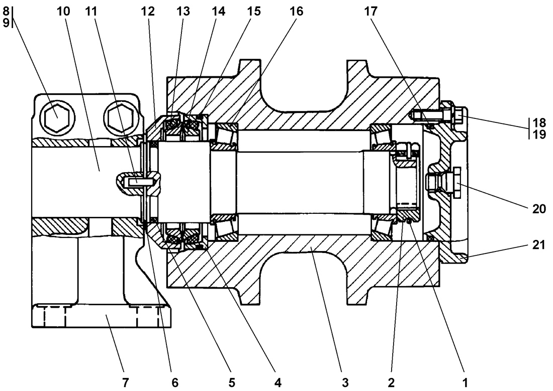
| 0 | 1 | Каток поддерживающий | 2001-21-15СП | 1 |
- | - |
| 0 | 1 | Каток поддерживающий | 2001-21-15-20СП | - |
1 | - |
| 1 | 1 | Кольцо стопорное | 2001-21-125 | 1 |
1 | - |
| 2 | 1 | Гайка | 2001-21-124 | 1 |
1 | - |
| 3 | 1 | Каток | 2001-21-54СП | 1 |
1 | - |
| 4 | 1 | Корпус уплотнения | 2001-21-120 | 1 |
1 | - |
| 5 | 1 | Кольцо 060-070-58-2-51-1668 | - | 1 |
1 | - |
| 6 | 1 | Кольцо С70 ГОСТ 13940-86 | 580 670 | 1 |
1 | - |
| 7 | 1 | Опора | 2001-21-122 | 1 |
- | - |
| 7 | 1 | Опора | 2001-21-122-20 | - |
1 | - |
| 8 | 1 | Болт М16x1,5-6gx60 ГОСТ 7795-70 | - | 2 |
2 | - |
| 9 | 1 | Шайба 16.ОТ | - | 2 |
2 | - |
| 10 | 1 | Ось | 2001-21-119 | 1 |
1 | - |
| 11 | 1 | Штифт | 325 180 | 2 |
2 | - |
| 12 | 1 | Крышка | 2001-21-121 | 1 |
1 | - |
| 13 | 1 | Кольцо упругое | 400 212 | 2 |
2 | - |
| 14 | 1 | Кольцо уплотнительное | 2501-21-142 | 2 |
2 | - |
| 15 | 1 | Кольцо 110-120-58-2-51-1668 | - | 1 |
1 | - |
| 16 | 1 | Подшипник 7211А ТУ 37.006.162-89 | - | 2 |
2 | - |
| 17 | 1 | Кольцо 094-100-36-2-51-1668 | - | 1 |
1 | - |
| 18 | 1 | Болт М10-6g x30 ГОСТ 7796-70 | - | 4 |
4 | - |
| 19 | 1 | Шайба | 315 186 | 4 |
- | - |
| 19 | 1 | Шайба | 31 5186-20 | - |
4 | - |
| 20 | 1 | Пробка | 375 509 | 1 |
- | - |
| 20 | 1 | Пробка | 37 5509-20 | - |
1 | - |
| 21 | 1 | Крышка | 2001-21-123 | 1 |
1 | - |