| № п/п | № рис. | Наименование | Код детали | УХЛ | Т | У |
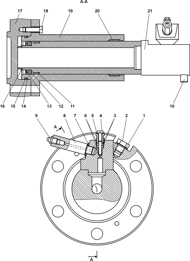
| 0 | 1 | Механизм натяжения | 1101-21-42-02СП* | 1 |
- | - |
| 0 | 1 | Механизм натяжения | 1101-21-42-02-20СП | - |
1 | - |
| 0 | 1 | Механизм натяжения | 1101-21-42-03СП** | 1 |
- | - |
| 0 | 1 | Механизм натяжения | 1101-21-42-03-20СП | - |
1 | - |
| 1 | 1 | Кольцо 16x22 МН4152-62 | - | 1 |
1 | - |
| 2 | 1 | Пробка | 375 515 | 1 |
- | - |
| 2 | 1 | Пробка | 37 5515-20 | - |
1 | - |
| 3 | 1 | Кольцо СТ13-5-4 ГОСТ 288-72 | 500 192 | 4 |
4 | - |
| 4 | 1 | Игла | 46-21-756 | 1 |
- | - |
| 4 | 1 | Игла | 46-21-756-20 | - |
1 | - |
| 5 | 1 | Пробка | 46-21-717 | 1 |
- | - |
| 5 | 1 | Пробка | 46-21-717-20 | - |
1 | - |
| 6 | 1 | Обойма | 46-21-718 | 2 |
2 | - |
| 7 | 1 | Прокладка | 700-40-260-11 | 1 |
1 | - |
| 8 | 1 | Наконечник | 1101-21-136 | 1 |
1 | - |
| 9 | 1 | Масленка 1.2Ц6хр | - | 1 |
- | - |
| 9 | 1 | Масленка 1.2Кд6хр | - | - |
1 | - |
| 10 | 1 | Штифт | 700-32-2177 | 1 |
1 | - |
| 11 | 1 | Кольцо штоковое | 3501-21-95 | 1 |
1 | - |
| 12 | 1 | Манжета | 46-21-978 | 1 |
1 | - |
| 13 | 1 | Кольцо 080-090-58-2-51-1668 | - | 1 |
1 | - |
| 14 | 1 | Шайба | 700-40-4360 | 1 |
1 | - |
| 15 | 1 | Кольцо 115-125-58-2-51-1668 | - | 1 |
1 | - |
| 16 | 1 | Кольцо С70 ГОСТ 13940-86 | 580 670 | 1 |
1 | - |
| 17 | 1 | Крышка | 2001-21-126 | 1 |
1 | - |
| 18 | 1 | Болт М8-6gx35 ГОСТ 7796-70 | - | 2 |
2 | - |
| 19 | 1 | Цилиндр | 1101-21-65СП | 1 |
1 | - |
| 20 | 1 | Втулка опорная | 1101-26-614 | 2 |
2 | - |
| 21 | 1 | Шток | 1101-21-45-02СП* | 1 |
1 | - |
| 21 | 1 | Шток | 1101-21-45-03СП** | 1 |
1 | - |