![]() |
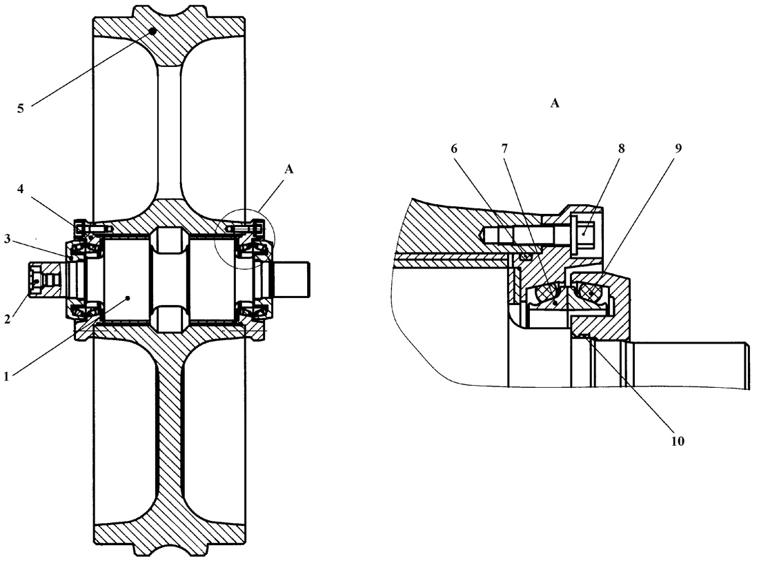
| Рис.1 |
| № п/п | № рис. | Наименование | Код детали | |||
| 0 | 1 | Колесо натяжное | 312002-21-41СП | |||
| 0 | 1 | Колесо натяжное | 312002-21-41-20СП | |||
| 1 | 1 | Ось | 2001-21-251 | |||
| 2 | 1 | Пробка | 375 509 | |||
| 2 | 1 | Пробка | 37 5509-20 | |||
| 3 | 1 | Крышка | 2001-21-107 | |||
| 4 | 1 | Фланец | 2001-21-56СП | |||
| 5 | 1 | Колесо натяжное | 312002-21-31СП | |||
| 5 | 1 | Колесо натяжное | 312002-21-31-20СП | |||
| 6 | 1 | Кольцо 122-130-46-2-51-1668 | - | |||
| 7 | 1 | Кольцо уплотнительное | 2501-21-142 | |||
| 8 | 1 | Болт | 2501-21-411 | |||
| 9 | 1 | Кольцо упругое | 400 212 | |||
| 10 | 1 | Кольцо 066-071-30-2-51-1668 | - |
Обращаем Ваше внимание, что пункты отмеченные звездочкой, обязательны для заполнения.