| № п/п | № рис. | Наименование | Код детали | УХЛ | Т | У |
| 0 | 0 | Установка системы подогрева | 312002-43-2СП | 1 |
- | - |
| 0 | 0 | Установка системы подогрева | 312002-43-2-20CП | - |
1 | - |
| 1 | 1 | Прокладка | 700-40-6684-01 | 7 |
7 | - |
| 2 | 1 | Хомутик | 700-41-3267 | 7 |
7 | - |
| 3 | 1 | Втулка | 40 0354-03 | 7 |
7 | - |
| 4 | 1 | Болт М12x1,25-6gx20 | 280 320 | 17 |
- | - |
| 4 | 1 | Болт М12x1,25-6gx20 | 28 0320-20 | - |
17 | - |
| 5 | 1 | Шайба 12 ОТ | - | 52 |
15 | - |
| 6 | 1 | Прокладка | 700-40-6684-03 | 1 |
- | - |
| 7 | 1 | Хомутик | 700-41-2548 | 1 |
- | - |
| 8 | 1 | Болт М8-6gx16 | - | 2 |
2 | - |
| 9 | 1 | Шайба 8Т | - | 5 |
2 | - |
| 10 | 1 | Коммутатор транзисторный 9301.3734 | - | 1 |
- | - |
| 11 | 1 | Модуль зажигания отопителя 9301.3734-01 | - | 1 |
- | - |
| 12 | 1 | Болт М6-6gx16 ГОСТ 7798-70 | - | 2 |
- | - |
| 13 | 1 | Шайба 6Т | - | 2 |
- | - |
| 14 | 1 | Шайба 12x2 ГОСТ 11371-78 | 310 210 | 19 |
- | - |
| 15 | 1 | Болт М12x1,25-6gx25 | - | 8 |
- | - |
| 16 | 1 | Кронштейн | 312002-43-66СП | 1 |
- | - |
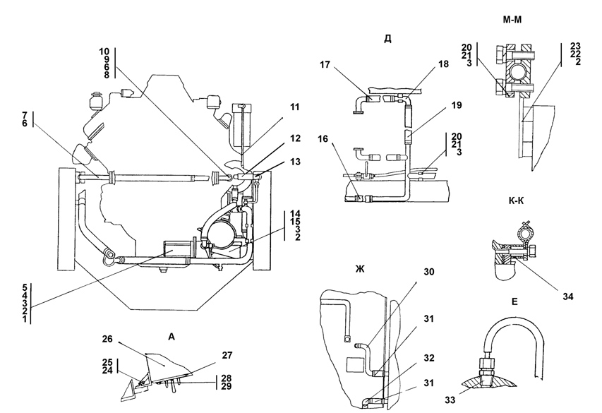
| 17 | 1 | Котел подогревателя ПЖД-30Л-1015010 | - | 1 |
- | - |
| 18 | 1 | Рукав | 461 501 | 1 |
- | - |
| 19 | 1 | Воздуховод | 1106-43-74СП | 1 |
- | - |
| 20 | 1 | Переходник | 2502-43-90СП | 2 |
- | - |
| 21 | 1 | Рукав | 46 0901-27 | 1 |
- | - |
| 21 | 1 | Рукав | 46 0901-27-20 | - |
1 | - |
| 22 | 1 | Рукав | 46 1201-01 | 3 |
- | - |
| 23 | 1 | Болт зажимной | 700-41-2622 | 7 |
- | - |
| 24 | 1 | Прокладка | 46-43-313 | 15 |
- | - |
| 25 | 1 | Рукав | 46 1201-21 | 3 |
- | - |
| 26 | 1 | Трубопровод | 312002-43-36СП | 2 |
- | - |
| 27 | 1 | Прижим | 2502-43-79 | 9 |
4 | - |
| 28 | 1 | Болт М12x1,25-6gx40 | - | 18 |
8 | - |
| 29 | 1 | Трубопровод | 1102-43-20СП | 1 |
- | - |
| 30 | 1 | 1045-У-02 | - | 17 |
- | - |
| 31 | 1 | Трубопровод | 312002-43-12СП | 1 |
- | - |
| 32 | 1 | Скоба | 312002-43-21СП | 2 |
2 | - |
| 33 | 1 | Болт М12x1,25-6gx65 ГОСТ 7795-70 | 281 379 | 3 |
- | - |
| 34 | 1 | Рукав | 46 1201-13 | 1 |
- | - |
| 35 | 1 | 1070-У-02 | - | 4 |
- | - |
| 36 | 1 | Рукав | 46 1501-06 | 1 |
- | - |
| 37 | 1 | Зажим | 1102-43-41-01 | 1 |
- | - |
| 38 | 1 | Агрегат насосный ПЖД-30Л-1015200 | - | 1 |
- | - |
| 39 | 1 | Трубопровод | 312002-43-37СП | 1 |
- | - |
| 40 | 1 | Рукав | 2706-43-14-02СП | 1 |
- | - |
| 41 | 1 | 11018-У-02 | - | 3 |
- | - |
| 42 | 1 | Кран | 311506-43-107СП | 1 |
- | - |
| 43 | 1 | Рукав | 46 0901-09 | 3 |
- | - |
| 43 | 1 | Рукав | 46 0901-09-20 | - |
2 | - |
| 44 | 1 | Трубопровод | 312002-43-48СП | 1 |
- | - |
| 44 | 1 | Переходник | 311506-43-24 | 1 |
1 | - |
| 45 | 1 | Рукав | 46 0501-17 | 1 |
- | - |
| 46 | 1 | Рукав | 46 0901-21 | 1 |
- | - |
| 46 | 1 | Рукав | 46 0901-21-20 | - |
1 | - |
| 47 | 1 | Трубопровод | 312002-43-38СП | 1 |
- | - |
| 47 | 1 | Трубопровод | 312002-43-38-20СП | - |
1 | - |
| 48 | 1 | Трубопровод | 312002-43-39СП | 1 |
- | - |
| 48 | 1 | Трубопровод | 312002-43-39-20СП | - |
1 | - |
| 49 | 1 | 1040-У-02 | - | 22 |
20 | - |
| 50 | 1 | Рукав | 46 0901-02 | 1 |
- | - |
| 51 | 1 | Рукав | 46 0901-13 | 2 |
- | - |
| 52 | 1 | Прокладка | 312002-43-13 | 2 |
1 | - |
| 53 | 1 | Патрубок | 312002-43-15СП | 1 |
- | - |
| 53 | 1 | Патрубок | 312002-43-15-20СП | - |
1 | - |
| 54 | 1 | Трубопровод | 312002-43-70СП | - |
1 | - |
| 55 | 1 | Рукав | 46 0901-16-20 | - |
1 | - |
| 1 | 2 | Гайка М12x1,25 ГОСТ 5915-70 | - | 3 |
- | - |
| 2 | 2 | Шайба 12x2.01 | 310 210 | 19 |
- | - |
| 3 | 2 | Шайба 12.ОТ | - | 52 |
15 | - |
| 4 | 2 | Болт М12x1,25-6gx35 | - | 3 |
- | - |
| 5 | 2 | Газовод | 312002-43-10СП | 1 |
- | - |
| 6 | 2 | Прокладка | 312002-43-13 | 2 |
1 | - |
| 7 | 2 | Трубопровод | 312002-43-47СП | 1 |
- | - |
| 8 | 2 | Патрубок | 312002-43-15СП | 1 |
1 | - |
| 9 | 2 | Шайба 8Т | - | 5 |
2 | - |
| 10 | 2 | Болт М8-6gx16 | - | 2 |
2 | - |
| 11 | 2 | Трубопровод | 0602-43-31СП | 1 |
- | - |
| 12 | 2 | Рукав | 46 1201-01 | 3 |
- | - |
| 13 | 2 | Патрубок | 312002-43-41СП | 1 |
- | - |
| 14 | 2 | Кронштейн | 312002-43-20СП | 1 |
- | - |
| 15 | 2 | Болт М12x1,25-6gx25 | - | 8 |
- | - |
| 16 | 2 | Рукав | 46 1201-21 | 3 |
- | - |
| 17 | 2 | Рукав | 46 0901-13 | 2 |
- | - |
| 18 | 2 | Трубопровод | 312002-43-49СП | 1 |
1 | - |
| 19 | 2 | Рукав | 46 0901-09 | 3 |
- | - |
| 19 | 2 | Рукав | 46 0901-09-20 | - |
2 | - |
| 20 | 2 | Прижим | 2502-43-79 | 9 |
4 | - |
| 21 | 2 | Болт М12x1,25-6gx40 | - | 18 |
8 | - |
| 22 | 2 | Болт М12x1,25-6gx20 | 280 320 | 17 |
- | - |
| 22 | 2 | Болт М12x1,25-6gx20 | 28 0320-20 | - |
7 | - |
| 23 | 2 | Кронштейн | 2002-43-67 | 1 |
- | - |
| 24 | 2 | Болт М10-6gx20 | - | 2 |
- | - |
| 25 | 2 | Шайба 10.ОТ | - | 2 |
- | - |
| 26 | 2 | Корпус | 312505-43-17-01СП | 1 |
- | - |
| 27 | 2 | Щиток управления ПЖД-600И-1015410* | - | 1 |
- | - |
| 28 | 2 | Шайба 5 | - | 4 |
- | - |
| 29 | 2 | Винт В.М5-6gx12 ГОСТ 17473-80 | - | 4 |
- | - |
| 30 | 2 | Трубопровод | 312002-43-65СП | 1 |
- | - |
| 31 | 2 | Рукав | 46 0901-01 | 3 |
3 | - |
| 32 | 2 | Переходник | 2502-43-90СП | 2 |
- | - |
| 33 | 2 | Штуцер | 415 149 | 1 |
- | - |
| 34 | 2 | Втулка | 312002-43-81 | 1 |
- | - |