| № п/п | № рис. | Наименование | Код детали | УХЛ | Т | У |
| 0 | 0 | Установка гидросистемы | 312002-26-1СП | 1 |
- | - |
| 0 | 0 | Установка гидросистемы | 312002-26-1-20СП | - |
1 | - |
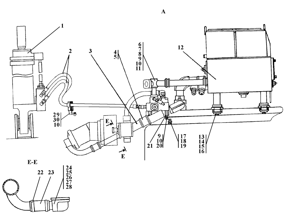
| 1 | 1 | Фланец | 2501-26-303 | 1 |
- | - |
| 1 | 1 | Фланец | 2501-26-303-20 | - |
1 | - |
| 2 | 1 | Болт М10-6gx70 | - | 4 |
4 | - |
| 3 | 1 | Болт М10-6gx35 | 280 210 | 2 |
- | - |
| 3 | 1 | Болт М10-6gx35 | 28 0210-20 | - |
2 | - |
| 4 | 1 | Шайба 10 ОТ | - | 20 |
20 | - |
| 5 | 1 | Кольцо 039-045-36-2-51-1668 | - | 1 |
1 | - |
| 6 | 1 | Муфта | 312001-26-48 | 1 |
1 | - |
| 7 | 1 | Кольцо С25 | 700-58-2332 | 1 |
- | - |
| 7 | 1 | Кольцо С25 | 700-58-2332-20 | - |
1 | - |
| 8 | 1 | Трубопровод | 312001-26-15СП | 1 |
- | - |
| 8 | 1 | Трубопровод | 312001-26-15-20СП | - |
1 | - |
| 9 | 1 | Шайба | 315 220 | 4 |
4 | - |
| 10 | 1 | Болт М14-6gx70 | 280 504 | 4 |
- | - |
| 10 | 1 | Болт М14-6gx70 | 28 0504-20 | - |
4 | - |
| 11 | 1 | Кольцо 049-055-36-2-51-1668 | - | 1 |
1 | - |
| 12 | 1 | Рукав | 46 1501-01 | 1 |
- | - |
| 12 | 1 | Рукав | 46 1501-01-20 | - |
1 | - |
| 13 | 1 | Хомут стяжной червячный 1070-У-02 ПО4.435.002ТУ | - | 14 |
14 | - |
| 14 | 1 | Рукав d25 | 3501-26-177-05СП | 1 |
- | - |
| 14 | 1 | Рукав d25 | 3501-26-177-05-20СП | - |
1 | - |
| 15 | 1 | Контргайка | Н.036.23.022 | 2 |
- | - |
| 15 | 1 | Контргайка | Н.,36.23.022-01 | - |
2 | - |
| 16 | 1 | Кольцо 018-022-25-2-51-1668 | - | 2 |
2 | - |
| 17 | 1 | Угольник поворотный | 5001-26-77-01 | 1 |
- | - |
| 17 | 1 | Угольник поворотный | 5001-26-77-01-20 | - |
1 | - |
| 18 | 1 | Кольцо 021-027-36-2-51-1668 | - | 4 |
4 | - |
| 19 | 1 | Угольник | 312002-26-11СП | 4 |
- | - |
| 19 | 1 | Угольник | 312002-26-11-20СП | - |
4 | - |
| 20 | 1 | Гайка М16x1,5 | - | 2 |
2 | - |
| 21 | 1 | Шайба 16 ОТ | - | 6 |
6 | - |
| 23 | 1 | Болт М16x1,5-6gx60 | - | 1 |
1 | - |
| 24 | 1 | Втулка | 40 0354-05 | 2 |
2 | - |
| 25 | 1 | Планка | 2501-26-301 | 2 |
- | - |
| 25 | 1 | Планка | 2501-26-301-20 | - |
2 | - |
| 26 | 1 | Болт М16x1,5-6gx30 | 280 520 | 2 |
- | - |
| 26 | 1 | Болт М16x1,5-6gx30 | 28 0520-20 | - |
2 | - |
| 27 | 1 | Скоба | 2501-26-300 | 2 |
- | - |
| 27 | 1 | Скоба | 2501-26-300-20 | - |
2 | - |
| 28 | 1 | Контргайка | Н.036.23.072 | 4 |
- | - |
| 28 | 1 | Контргайка | Н.036.23.072-01 | - |
4 | - |
| 29 | 1 | Распределитель | 312001-26-25СП | 1 |
- | - |
| 29 | 1 | Распределитель | 312001-26-25-20СП | - |
1 | - |
| 30 | 1 | Рукав | 1101-26-121-05 | 2 |
2 | - |
| 31 | 1 | Трубопровод | 312001-26-16СП | 1 |
- | - |
| 31 | 1 | Трубопровод | 312001-26-16-20СП | - |
1 | - |
| 32 | 1 | Планка | 405-26-25 | 1 |
1 | - |
| 33 | 1 | Шайба 16 | 310 270 | 2 |
- | - |
| 33 | 1 | Шайба 16 | 31 0270-20 | - |
2 | - |
| 34 | 1 | Трубопровод | 312001-26-13СП | 1 |
- | - |
| 34 | 1 | Трубопровод | 312001-26-13-20СП | - |
1 | - |
| 35 | 1 | Рукав d12 | 404-26-213-01СП | 1 |
- | - |
| 35 | 1 | Рукав d12 | 404-26-213-01-20СП | - |
1 | - |
| 36 | 1 | Кольцо 012-016-25-2-51-1668 | - | 2 |
2 | - |
| 37 | 1 | Шпилька | 295 220 | 2 |
- | - |
| 37 | 1 | Шпилька | 29 5220-20 | - |
2 | - |
| 38 | 1 | Болт М10-6gx30 | - | 4 |
4 | - |
| 39 | 1 | Гайка М10 | - | 2 |
2 | - |
| 40 | 1 | Кольцо 088-095-46-2-51-1668 | - | 1 |
1 | - |
| 41 | 1 | Насос НШ50А-3 | - | 1 |
- | - |
| 41 | 1 | Насос НШ50А-3-Т | - | - |
1 | - |
| 43 | 1 | Болт М8-6gx70 | - | 8 |
8 | - |
| 44 | 1 | Бугель | 312501-94-105 | 3 |
- | - |
| 44 | 1 | Бугель | 312501-94-105-20 | - |
3 | - |
| 45 | 1 | Прокладка | 700-40-6684-01 | 4 |
4 | - |
| 46 | 1 | Болт М12x1,25-6gx35 | - | 4 |
4 | - |
| 47 | 1 | Шайба 12 ОТ | - | 16 |
16 | - |
| 48 | 1 | Шайба 12x2 | 310 210 | 6 |
- | - |
| 48 | 1 | Шайба 12x2 | 31 0210-20 | - |
6 | - |
| 49 | 1 | Кольцо защитное | 440 038 | 3 |
3 | - |
| 50 | 1 | Кольцо 032-038-36-2-51-1668 | - | 3 |
3 | - |
| 51 | 1 | Фланец | 2501-26-83 | 6 |
- | - |
| 51 | 1 | Фланец | 2501-26-83-20 | - |
6 | - |
| 52 | 1 | Гайка накидная | Н.036.01.005 | 2 |
- | - |
| 52 | 1 | Гайка накидная | Н.036.01.005-01 | - |
2 | - |
| 53 | 1 | Заглушка | 400-26-55 | 2 |
- | - |
| 53 | 1 | Заглушка | 400-26-55-20 | - |
2 | - |
| 1 | 2 | Гидроцилиндр d160 | 312002-26-80СП | 1 |
- | - |
| 1 | 2 | Гидроцилиндр d160 | 312002-26-80-20СП | - |
1 | - |
| 2 | 2 | Рукав высокого давления d16 армированный | 46-26-355-12СП | 2 |
- | - |
| 2 | 2 | Рукав высокого давления d16 армированный | 46-26-355-12-20СП | - |
2 | - |
| 3 | 2 | Трубопровод | 312001-26-36СП | 1 |
- | - |
| 3 | 2 | Трубопровод | 312001-26-36-20СП | - |
1 | - |
| 4 | 2 | Рукав | 461 701 | 3 |
- | - |
| 4 | 2 | Рукав | 46 1701-20 | - |
3 | - |
| 5 | 2 | Хомут стяжной червячный 1085-У-02 ПО4.435.002ТУ | - | 6 |
6 | - |
| 6 | 2 | Трубопровод | 312001-26-12СП | 1 |
- | - |
| 6 | 2 | Трубопровод | 312001-26-12-20СП | - |
1 | - |
| 7 | 2 | Фланец | 2501-26-83 | 6 |
- | - |
| 7 | 2 | Фланец | 2501-26-83-20 | - |
6 | - |
| 8 | 2 | Кольцо защитное | 440 038 | 3 |
3 | - |
| 9 | 2 | Болт М12-6gx35 | - | 11 |
11 | - |
| 10 | 2 | Шайба 12.ОТ | - | 16 |
16 | - |
| 11 | 2 | Кольцо 032-038-36-2-51-1668 | - | 3 |
3 | - |
| 12 | 2 | Бак гидросистемы | 312001-26-30СП | 1 |
- | - |
| 12 | 2 | Бак гидросистемы | 312001-26-30-20СП | - |
1 | - |
| 13 | 2 | Амортизатор | 2501-25-37СП | 8 |
8 | - |
| 14 | 2 | Шайба | 1101-25-36 | 4 |
4 | - |
| 15 | 2 | Болт М16x1,5-6gx105 | 280 570 | 4 |
- | - |
| 15 | 2 | Болт М16x1,5-6gx105 | 28 0570-20 | - |
4 | - |
| 16 | 2 | Шайба 16.ОТ | - | 6 |
6 | - |
| 17 | 2 | Штуцер ввертной | 5001-26-78 | 1 |
- | - |
| 17 | 2 | Штуцер ввертной | 5001-26-78-20 | - |
1 | - |
| 18 | 2 | Кольцо 018-022-25-2-51-1668 | - | 2 |
2 | - |
| 19 | 2 | Контргайка | Н.036.23.022 | 2 |
- | - |
| 19 | 2 | Контргайка | Н.036.23.022-01 | - |
2 | - |
| 20 | 2 | Шайба 12x2 | 310 210 | 6 |
- | - |
| 20 | 2 | Шайба 12x2 | 31 0210-20 | - |
6 | - |
| 21 | 2 | Опора | 312001-26-46 | 3 |
- | - |
| 21 | 2 | Опора | 312001-26-46-20 | - |
3 | - |
| 22 | 2 | Хомут стяжной червячный 1055-У-02 ПО4.435.002ТУ | - | 2 |
2 | - |
| 23 | 2 | Рукав | 461 401 | 1 |
- | - |
| 23 | 2 | Рукав | 46 1401-20 | - |
1 | - |
| 24 | 2 | Трубопровод | 312001-26-11СП | 1 |
- | - |
| 24 | 2 | Трубопровод | 312001-26-11-20СП | - |
1 | - |
| 25 | 2 | Болт М10-6gx70 | - | 4 |
4 | - |
| 26 | 2 | Болт М10-6gx30 | - | 4 |
4 | - |
| 27 | 2 | Шайба 10.ОТ | - | 20 |
20 | - |
| 28 | 2 | Кольцо 042-050-46-2-51-1668 | - | 1 |
1 | - |
| 29 | 2 | Планка | 312501-94-155 | 1 |
- | - |
| 29 | 2 | Планка | 312501-94-155-20 | - |
1 | - |
| 30 | 2 | Болт М12x1,25-6gx35 | - | 1 |
1 | - |