| № п/п | № рис. | Наименование | Код детали | УХЛ | Т | У |
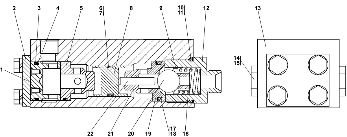
| 0 | 1 | Гидрозамок | 312501-26-24СП(SP) | 1 |
- | - |
| 0 | 1 | Гидрозамок | 312501-26-24-20СП(SP) | - |
1 | - |
| 1 | 1 | Втулка | 312501-26-182 | 1 |
- | - |
| 1 | 1 | Втулка | 312501-26-182-20 | - |
1 | - |
| 2 | 1 | Крышка | 312501-26-181 | 1 |
- | - |
| 2 | 1 | Крышка | 312501-26-181-20 | - |
1 | - |
| 3 | 1 | Шайба защитная | 440 005 | 3 |
3 | - |
| 4 | 1 | Кольцо 021-027-36-2-51-1668 | - | 4 |
4 | - |
| 5 | 1 | Седло | 312501-26-183 | 1 |
1 | - |
| 6 | 1 | Кольцо защитное | 2501-93-581 | 2 |
2 | - |
| 7 | 1 | Кольцо 042-050-46-2-51-1668 | - | 3 |
3 | - |
| 7 | 1 | Кольцо 032-038-36-2-51-1668 | - | 1 |
1 | - |
| 8 | 1 | Поршень | 2501-93-573 | 1 |
1 | - |
| 9 | 1 | Вкладыш | 2501-93-574 | 1 |
1 | - |
| 10 | 1 | Шайба защитная | 2501-26-1158 | 1 |
1 | - |
| 12 | 1 | Крышка | 2501-93-571 | 1 |
- | - |
| 12 | 1 | Крышка | 2501-93-571-20 | - |
1 | - |
| 12 | 1 | Шайба 16 OT ГОСТ 6402-70 | - | 8 |
8 | - |
| 13 | 1 | Корпус | 312501-26-129 | 1 |
1 | - |
| 14 | 1 | Пробка | 312501-26-134 | 4 |
- | - |
| 14 | 1 | Пробка | 312501-26-134-20 | - |
4 | - |
| 15 | 1 | Кольцо 049-055-36-2-51-1668 | - | 1 |
1 | - |
| 16 | 1 | Пружина | 385 582 | 1 |
1 | - |
| 17 | 1 | Кольцо защитное | 46-93-607-02 | 1 |
1 | - |
| 18 | 1 | Кольцо 040-048-46-2-51-1668 ТУ 2531-260-149245-00 | - | 1 |
1 | - |
| 19 | 1 | Седло | 2501-93-572-01 | 1 |
1 | - |
| 20 | 1 | Шарик 26,988-40 ГОСТ 3722-81 | 46 9195 1665 06 | 1 |
1 | - |
| 21 | 1 | Седло | 2501-93-572 | 1 |
1 | - |
| 22 | 1 | Толкатель | 2501-93-577 | 1 |
1 | - |