| № п/п | № рис. | Наименование | Код детали | УХЛ | Т | У |
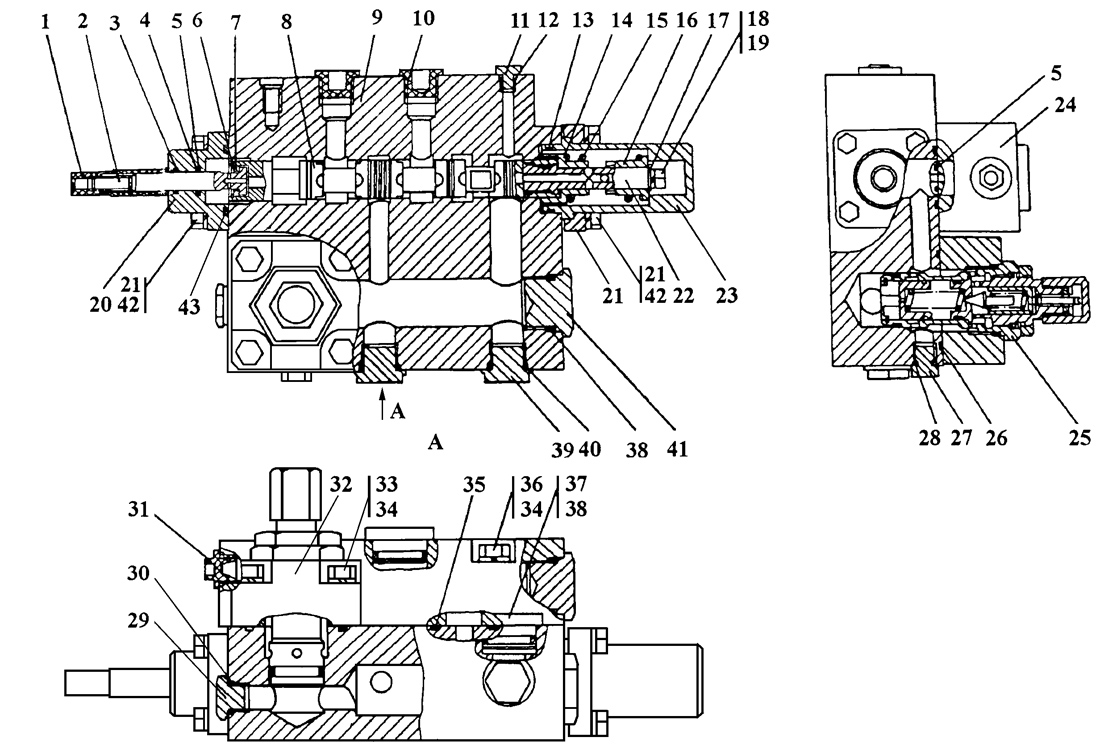
| 0 | 1 | Распределитель | 312001-26-25СП | 1 |
- | - |
| 0 | 1 | Распределитель | 312001-26-25-20СП | - |
1 | - |
| 1 | 1 | Колпачок | 2001-26-180 | 1 |
- | - |
| 1 | 1 | Колпачок | 2001-26-180-20 | - |
1 | - |
| 2 | 1 | Хвостовик | 312001-26-54 | 1 |
1 | - |
| 3 | 1 | Кольцо 014-018-25-2-51-1668 | - | 1 |
1 | - |
| 4 | 1 | Кольцо | 3501-26-259 | 1 |
1 | - |
| 5 | 1 | Кольцо 016-020-25-2-51-1668 | - | 2 |
2 | - |
| 6 | 1 | Кольцо С22 ГОСТ 13943-86 | 580 220 | 1 |
1 | - |
| 7 | 1 | Кольцо | 312001-26-55 | 1 |
1 | - |
| 8 | 1 | Золотник | 312001-26-2 | 1 |
1 | - |
| 9 | 1 | Корпус | 312001-26-1 | 1 |
1 | - |
| 10 | 1 | Заглушка | 440 065 | 2 |
- | - |
| 10 | 1 | Заглушка | 44 0065-20 | - |
2 | - |
| 11 | 1 | Пробка | 375 245 | 1 |
- | - |
| 11 | 1 | Пробка | 37 5245-20 | - |
1 | - |
| 12 | 1 | Кольцо 007-011-25-2-51-1668 | - | 1 |
1 | - |
| 13 | 1 | Кольцо 045-048-46-2-51-1668 | - | 1 |
1 | - |
| 14 | 1 | Втулка | 2001-26-159 | 1 |
1 | - |
| 15 | 1 | Пружина | 700-38-2273 | 1 |
1 | - |
| 16 | 1 | Втулка | 2001-26-160-02 | 1 |
1 | - |
| 17 | 1 | Шайба 10 | 310 170 | 1 |
- | - |
| 17 | 1 | Шайба 10 | 31 0170-20 | - |
1 | - |
| 18 | 1 | Болт М10-6gx20 | - | 1 |
1 | - |
| 19 | 1 | Шайба 10 ОТ | - | 1 |
1 | - |
| 20 | 1 | Крышка | 312001-26-56 | 1 |
1 | - |
| 21 | 1 | Фланец | 2001-26-155 | 1 |
- | - |
| 21 | 1 | Фланец | 2001-26-155-20 | - |
1 | - |
| 21 | 1 | Болт М8-6gx35 | - | 8 |
8 | - |
| 22 | 1 | Хвостовик | 2001-26-156-01 | 1 |
1 | - |
| 23 | 1 | Крышка | 2001-26-153 | 1 |
1 | - |
| 24 | 1 | Коллектор | 312001-26-3 | 1 |
1 | - |
| 25 | 1 | Клапан | 2601-28-21СП | 1 |
1 | - |
| 26 | 1 | Кольцо 066-071-30-2-51-1668 | - | 1 |
1 | - |
| 27 | 1 | Пробка | 375 516 | 1 |
- | - |
| 27 | 1 | Пробка | 37 5516-20 | - |
1 | - |
| 28 | 1 | Кольцо 012-016-25-2-51-1668 | - | 1 |
1 | - |
| 29 | 1 | Пробка | 375 625 | 1 |
- | - |
| 29 | 1 | Пробка | 37 5625-20 | - |
1 | - |
| 30 | 1 | Кольцо 018-022-25-2-51-1668 | - | 1 |
1 | - |
| 31 | 1 | Заглушка | 440 057 | 1 |
- | - |
| 31 | 1 | Заглушка | 44 0057-20 | - |
1 | - |
| 32 | 1 | Фланец | 312001-26-53 | 1 |
1 | - |
| 33 | 1 | Болт М12-6gx50 | 280 364 | 4 |
- | - |
| 33 | 1 | Болт М12-6gx50 | 28 0364-20 | - |
4 | - |
| 34 | 1 | Шайба 12 ОТ | - | 8 |
8 | - |
| 35 | 1 | Кольцо 039-045-36-2-51-1668 | - | 2 |
2 | - |
| 36 | 1 | Болт 3М12-6gx65 | 280 379 | 4 |
- | - |
| 36 | 1 | Болт 3М12-6gx65 | 28 0379-20 | - |
4 | - |
| 37 | 1 | Заглушка | 2501-26-150 | 2 |
- | - |
| 37 | 1 | Заглушка | 2501-26-150-20 | - |
2 | - |
| 38 | 1 | Кольцо 032-038-36-2-51-1668 | - | 3 |
3 | - |
| 39 | 1 | Пробка | 37 5710-01 | 2 |
2 | - |
| 40 | 1 | Кольцо 021-027-36-2-51-1668 | - | 2 |
2 | - |
| 41 | 1 | Пробка | 375 952 | 2 |
- | - |
| 41 | 1 | Пробка | 37 5952-20 | - |
2 | - |
| 42 | 1 | Шайба 8Т | - | 8 |
8 | - |
| 43 | 1 | Кольцо 040-048-46-2-31-1668 | - | 1 |
1 | - |