| № п/п | № рис. | Наименование | Код детали | УХЛ | Т | У |
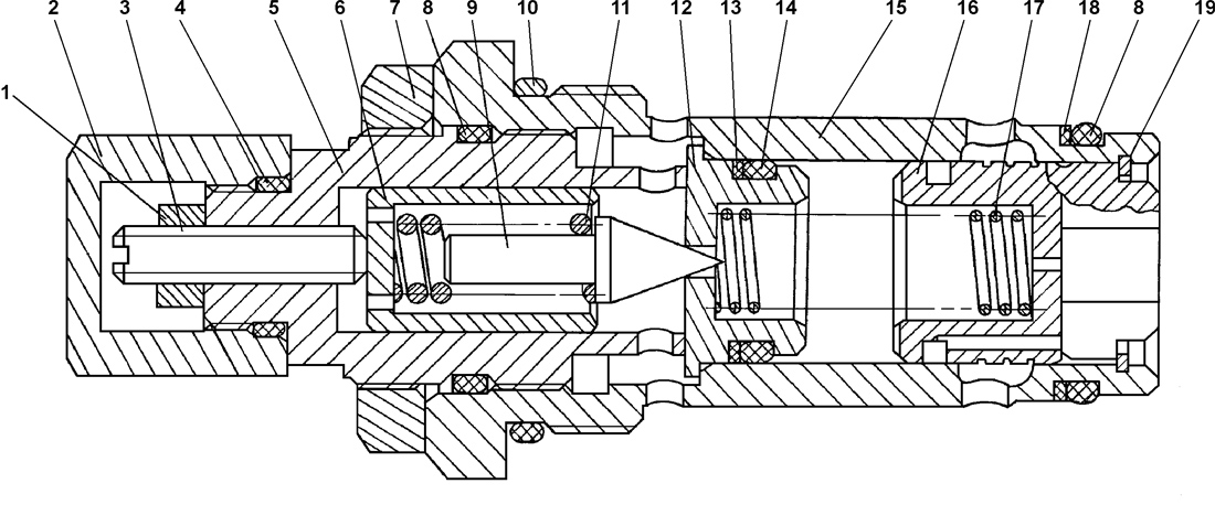
| 0 | 1 | Клапан | 2601-28-21СП | 1 |
1 | - |
| 1 | 1 | Гайка М8 ГОСТ 5915-70 | - | 1 |
1 | - |
| 2 | 1 | Заглушка | 2601-28-209 | 1 |
1 | - |
| 3 | 1 | Винт | 2601-28-212 | 1 |
1 | - |
| 4 | 1 | Кольцо 018-022-25-2-51-1668 | - | 1 |
1 | - |
| 5 | 1 | Штуцер | 312501-91-147 | 1 |
1 | - |
| 6 | 1 | Стакан | 2601-28-210 | 1 |
1 | - |
| 7 | 1 | Гайка | 305 430 | 1 |
1 | - |
| 8 | 1 | Кольцо 032-038-36-2-51-1668 | - | 2 |
2 | - |
| 9 | 1 | Клапан | 1501-15-46 | 1 |
1 | - |
| 10 | 1 | Кольцо 045-050-30-2-51-1668 | - | 1 |
1 | - |
| 11 | 1 | Пружина | 385 420 | 1 |
1 | - |
| 12 | 1 | Поршень | 2601-28-207 | 1 |
1 | - |
| 13 | 1 | Шайба защитная | 2601-28-214 | 1 |
1 | - |
| 14 | 1 | Кольцо 022-028-36-2-51-1668 | - | 1 |
1 | - |
| 15 | 1 | Корпус | 2601-28-205 | 1 |
1 | - |
| 16 | 1 | Клапан | 2601-28-208 | 1 |
1 | - |
| 17 | 1 | Пружина | 700-38-2517 | 1 |
1 | - |
| 18 | 1 | Кольцо защитное | 440 038 | 1 |
1 | - |
| 19 | 1 | Кольцо С28 ГОСТ 13941-86 | 580 272 | 1 |
1 | - |