| № п/п | № рис. | Наименование | Код детали | УХЛ | Т | У |
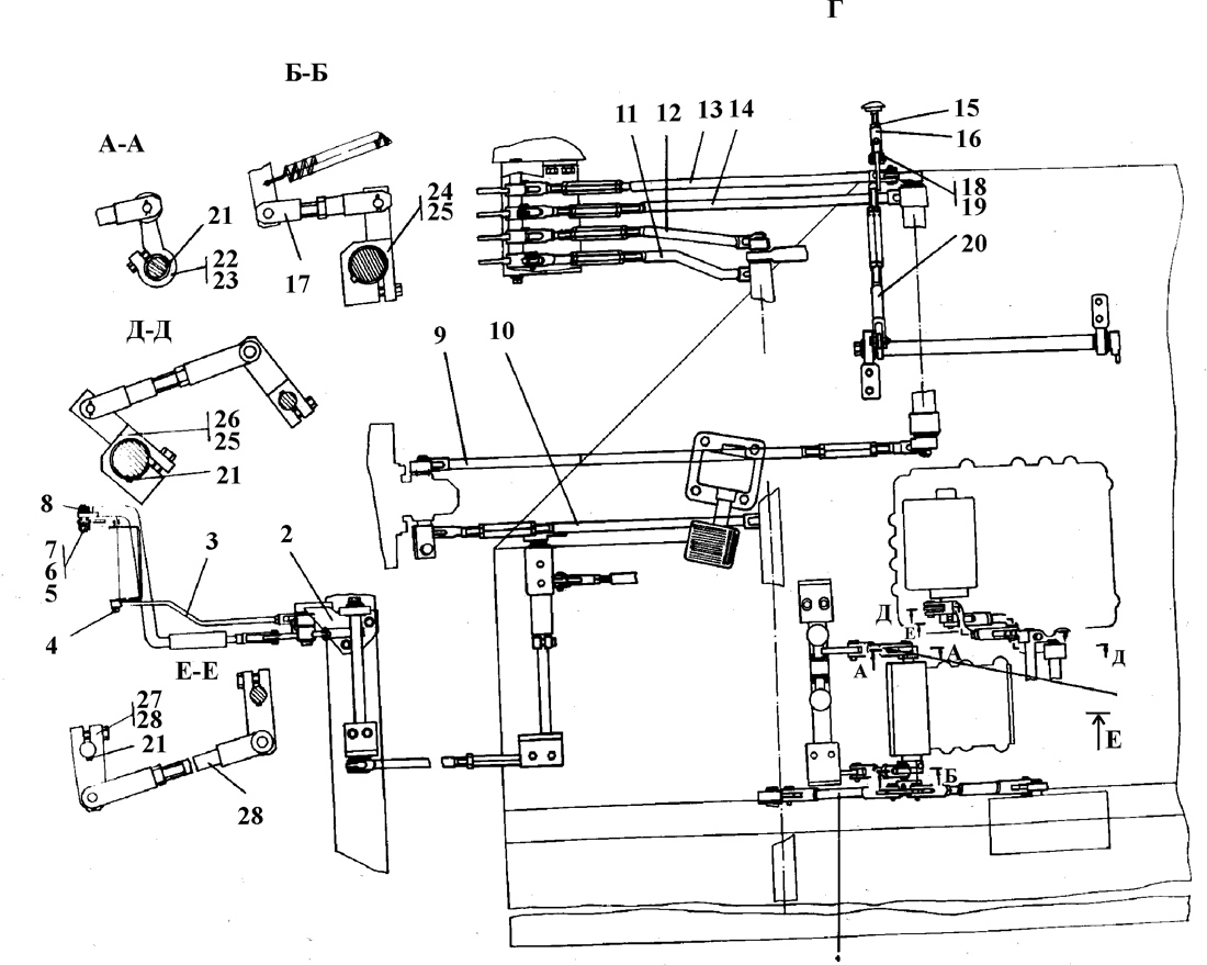
| 0 | 0 | Управление трактором | 312001-13-1-02СП | 1 |
- | - |
| 0 | 0 | Управление трактором | 312001-13-1-02-20СП | - |
1 | - |
| 1 | 1 | Ось | 404-13-269 | 41 |
- | - |
| 1 | 1 | Ось | 404-13-269-20 | - |
41 | - |
| 2 | 1 | Шплинт 3,2x14 ГОСТ 397-79 | - | 41 |
41 | - |
| 3 | 1 | Тяга | 312001-13-80СП | 1 |
- | - |
| 3 | 1 | Тяга | 312001-13-80-20СП | - |
1 | - |
| 4 | 1 | Тяга | 312001-13-80-01СП | 1 |
- | - |
| 4 | 1 | Тяга | 312001-13-80-01-20СП | - |
1 | - |
| 5 | 1 | Тяга | 2501-13-290-03СП | 1 |
- | - |
| 5 | 1 | Тяга | 2501-13-290-03-20СП | - |
1 | - |
| 6 | 1 | Рычаг | 312001-13-27СП | 1 |
- | - |
| 6 | 1 | Рычаг | 312001-13-27-20СП | - |
1 | - |
| 8 | 1 | Привод управления | 312001-13-50СП | 1 |
- | - |
| 8 | 1 | Привод управления | 312001-13-50-20СП | - |
1 | - |
| 9 | 1 | Тяга | 2001-13-113-01СП | 1 |
- | - |
| 9 | 1 | Тяга | 2001-13-113-01-20СП | - |
1 | - |
| 10 | 1 | Ось | 404-13-269-02 | 1 |
- | - |
| 10 | 1 | Ось | 404-13-269-02-20 | - |
1 | - |
| 11 | 1 | Шайба 10.ОТ | - | 2 |
2 | - |
| 12 | 1 | Болт М10-6gx30 | - | 4 |
4 | - |
| 13 | 1 | Тяга | 312001-13-128-04СП | 1 |
- | - |
| 13 | 1 | Тяга | 312001-13-128-04-20СП | - |
1 | - |
| 14 | 1 | Шайба 12 | 310 230 | 4 |
- | - |
| 14 | 1 | Шайба 12 | 31 0230-20 | - |
4 | - |
| 15 | 1 | Шайба 12.ОТ | - | 4 |
4 | - |
| 16 | 1 | Шпонка 5x7,5 ГОСТ 24071-80 | 340 350 | 11 |
11 | - |
| 17 | 1 | Болт М8-6gx25 | - | 5 |
5 | - |
| 18 | 1 | Рычаг | 2501-13-232СП | 1 |
- | - |
| 18 | 1 | Рычаг | 2501-13-232-20СП | - |
1 | - |
| 19 | 1 | Болт М8-6gx30 | - | 8 |
8 | - |
| 20 | 1 | Рычаг | 312001-13-146СП | 1 |
1 | - |
| 21 | 1 | Болт М12-6gx30 | - | 4 |
4 | - |
| 22 | 1 | Тяга | 312201-13-129-02СП | 1 |
- | - |
| 22 | 1 | Тяга | 312001-13-129-02-20СП | - |
1 | - |
| 23 | 1 | Тяга | 312001-13-129-04СП | 1 |
- | - |
| 23 | 1 | Тяга | 312001-13-129-04-20СП | - |
1 | - |
| 25 | 1 | Шайба 8 | 310 150 | 3 |
- | - |
| 25 | 1 | Шайба 8 | 31 0150-20 | - |
3 | - |
| 26 | 1 | Шайба 8Т | - | 3 |
3 | - |
| 27 | 1 | Тяга | 312001-13-129-05СП | 1 |
- | - |
| 27 | 1 | Тяга | 312001-13-129-05-20СП | - |
1 | - |
| 28 | 1 | Рычаг | 312501-13-115-02СП | 1 |
- | - |
| 28 | 1 | Рычаг | 312501-13-115-02-20СП | - |
1 | - |
| 29 | 1 | Рычаг | 312501-13-116-01СП | 1 |
- | - |
| 29 | 1 | Рычаг | 312501-13-116-01-20СП | - |
1 | - |
| 30 | 1 | Тяга | 312201-13-129-01СП | 1 |
- | - |
| 30 | 1 | Тяга | 312001-13-129-01-20СП | - |
1 | - |
| 31 | 1 | Мостик | 312001-13-101СП | 1 |
- | - |
| 31 | 1 | Мостик | 312001-13-101-20СП | - |
1 | - |
| 32 | 1 | Рычаг | 312501-13-116-02СП | 1 |
- | - |
| 32 | 1 | Рычаг | 312501-13-116-02-20СП | - |
1 | - |
| 33 | 1 | Тяга | 312001-13-129-03СП | 1 |
- | - |
| 33 | 1 | Тяга | 312001-13-129-03-20СП | - |
1 | - |
| 34 | 1 | Тяга | 312001-13-129СП | 1 |
- | - |
| 34 | 1 | Тяга | 312001-13-129-20СП | - |
1 | - |
| 35 | 1 | Мостик | 312001-13-111СП | 1 |
- | - |
| 35 | 1 | Мостик | 312001-13-111-20СП | - |
1 | - |
| 36 | 1 | Гайка М6 | - | 2 |
2 | - |
| 37 | 1 | Тяга | 2001-13-86-01СП | 1 |
- | - |
| 37 | 1 | Тяга | 2001-13-86-01-20СП | - |
1 | - |
| 38 | 1 | Шайба 6 | 310 110 | 1 |
- | - |
| 38 | 1 | Шайба 6 | 31 0110-20 | - |
1 | - |
| 39 | 1 | Гайка М8 | - | 1 |
1 | - |
| 40 | 1 | Ось специальная | 312001-13-27 | 1 |
1 | - |
| 1 | 2 | Тяга | 312001-13-26СП | 2 |
- | - |
| 1 | 2 | Тяга | 312001-13-26-20СП | - |
2 | - |
| 2 | 2 | Мостик | 312001-13-70СП | 1 |
- | - |
| 2 | 2 | Мостик | 312001-13-70-20СП | - |
1 | - |
| 3 | 2 | Тяга | 2001-13-86-01СП | 1 |
- | - |
| 3 | 2 | Тяга | 2001-13-86-01-20СП | - |
1 | - |
| 4 | 2 | Шайба 6 | 310 110 | 1 |
- | - |
| 4 | 2 | Шайба 6 | 31 0110-20 | - |
1 | - |
| 5 | 2 | Шайба 8Т | - | 3 |
3 | - |
| 6 | 2 | Гайка М8 | - | 1 |
1 | - |
| 7 | 2 | Ось специальная | 312001-13-27 | 1 |
1 | - |
| 8 | 2 | Гайка М6 | - | 2 |
2 | - |
| 9 | 2 | Тяга | 312001-13-128-01СП | 2 |
- | - |
| 9 | 2 | Тяга | 312001-13-128-01-20СП | - |
2 | - |
| 10 | 2 | Тяга | 312001-13-144СП | 1 |
- | - |
| 10 | 2 | Тяга | 312001-13-144-20СП | - |
1 | - |
| 11 | 2 | Тяга | 312001-13-125-07СП | 1 |
- | - |
| 11 | 2 | Тяга | 312001-13-125-07-20СП | - |
1 | - |
| 12 | 2 | Тяга | 312001-13-125-06СП | 1 |
- | - |
| 12 | 2 | Тяга | 312001-13-125-06-20СП | - |
1 | - |
| 13 | 2 | Тяга | 312001-13-125-04СП | 1 |
- | - |
| 13 | 2 | Тяга | 312001-13-125-04-20СП | - |
1 | - |
| 14 | 2 | Тяга | 312001-13-125-05СП | 1 |
- | - |
| 14 | 2 | Тяга | 312001-13-125-05-20СП | - |
1 | - |
| 15 | 2 | Гайка М12x1,25 | 300 220 | 1 |
- | - |
| 15 | 2 | Гайка М12x1,25 | 30 0220-20 | - |
1 | - |
| 16 | 2 | Вилка | 312001-13-129 | 1 |
1 | - |
| 17 | 2 | Тяга | 312001-13-64СП | 1 |
1 | - |
| 18 | 2 | Ось | 404-13-269 | 41 |
- | - |
| 18 | 2 | Ось | 404-13-269-20 | - |
41 | - |
| 19 | 2 | Шплинт 3,2x14 ГОСТ 397-79 | - | 41 |
41 | - |
| 20 | 2 | Тяга | 3501-13-214СП | 1 |
1 | - |
| 21 | 2 | Шпонка 5x7,5 ГОСТ 24071-80 | 340 350 | 11 |
11 | - |
| 22 | 2 | Рычаг | 2501-13-232-11СП | 1 |
- | - |
| 22 | 2 | Рычаг | 2501-13-232-11-20СП | - |
1 | - |
| 23 | 2 | Болт М8-6gx25 | - | 5 |
5 | - |
| 24 | 2 | Рычаг | 312001-13-51СП | 1 |
- | - |
| 24 | 2 | Рычаг | 312001-13-51-20СП | - |
1 | - |
| 25 | 2 | Болт М10-6gx30 | - | 4 |
4 | - |
| 26 | 2 | Рычаг | 312001-13-67СП | 1 |
- | - |
| 26 | 2 | Рычаг | 312001-13-67-20СП | - |
1 | - |
| 27 | 2 | Рычаг | ТТ2501-13-128СП | 2 |
2 | - |
| 28 | 2 | Болт М8-6gx30 | - | 8 |
8 | - |
| 29 | 2 | Тяга | 312001-13-80СП | 1 |
- | - |
| 29 | 2 | Тяга | 312001-13-80-20СП | - |
1 | - |