![]() |
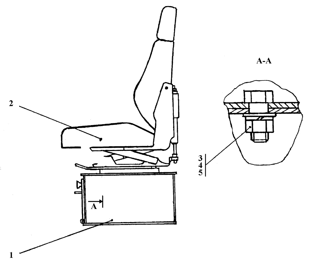
| Рис.1 |
| № п/п | № рис. | Наименование | Код детали | |||
| 0 | 1 | Установка сиденья | 2501-23-1СП | |||
| 1 | 1 | Переходной каркас | 2501-23-100СП | |||
| 2 | 1 | Сиденье водителя тракторное СТРК1-6800010ГЧ | - | |||
| 3 | 1 | Гайка М8 ГОСТ 5915-70 | - | |||
| 4 | 1 | Шайба 8Т ГОСТ 6402-70 | - | |||
| 5 | 1 | Шайба 8 ГОСТ 11371-78 | 310 150 |
Обращаем Ваше внимание, что пункты отмеченные звездочкой, обязательны для заполнения.