| № п/п | № рис. | Наименование | Код детали | УХЛ | Т | У |
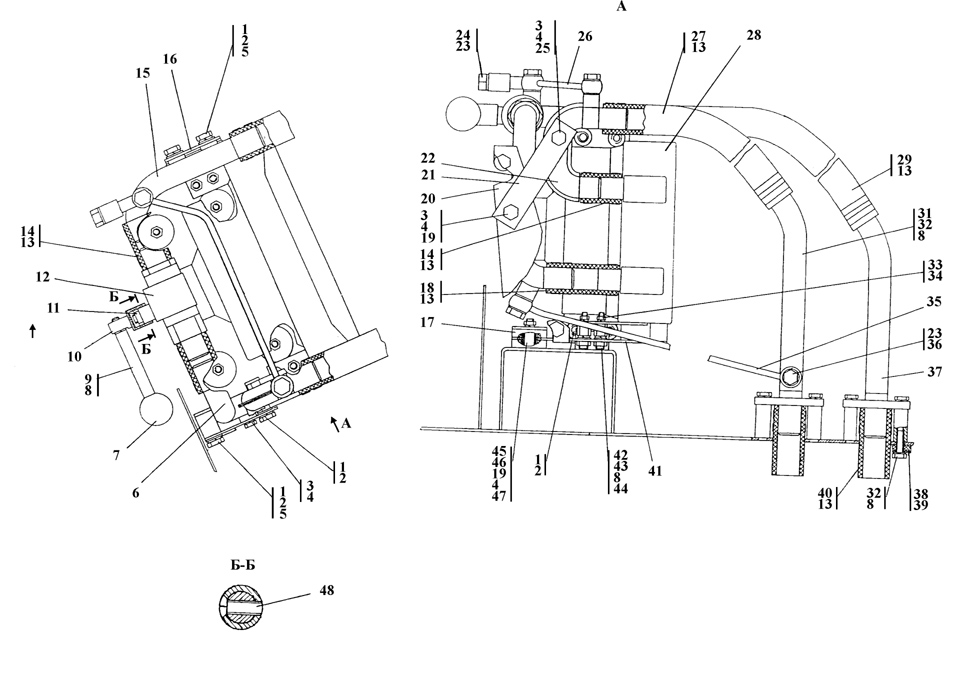
| 0 | 1 | Установка отопителя кабины | 312002-43-40СП | 1 |
- | - |
| 1 | 1 | Болт М12x1,25-6gx30 | - | 6 |
- | - |
| 2 | 1 | Шайба 12 | - | 6 |
- | - |
| 3 | 1 | Болт М8-6gx16 | - | 3 |
- | - |
| 4 | 1 | Шайба 8Т | - | 7 |
- | - |
| 5 | 1 | Шайба 12x2 | 310 210 | 3 |
- | - |
| 6 | 1 | Трубопровод | 2002-43-62СП | 1 |
- | - |
| 7 | 1 | Рукоятка | 46-43-133 | 1 |
- | - |
| 8 | 1 | Шайба 10 | - | 13 |
- | - |
| 9 | 1 | Стержень | 2002-43-68 | 1 |
- | - |
| 10 | 1 | Переходник | 2002-43-94 | 1 |
- | - |
| 11 | 1 | Прижим | 2002-43-82 | 1 |
- | - |
| 12 | 1 | Кран | 2002-43-43СП | 1 |
- | - |
| 13 | 1 | Хомут стяжной червячный 1040-У-02 ПО 4.435.002ТУ | - | 21 |
- | - |
| 14 | 1 | Рукав | 460 901 | 3 |
- | - |
| 15 | 1 | Трубопровод | 2002-43-57СП | 1 |
- | - |
| 16 | 1 | Пластина | 2002-43-83 | 1 |
- | - |
| 17 | 1 | Кольцо | 400 426 | 8 |
- | - |
| 18 | 1 | Рукав | 46 0901-01 | 1 |
- | - |
| 19 | 1 | Гайка М8 | - | 5 |
- | - |
| 20 | 1 | Кронштейн | 2002-43-81 | 1 |
- | - |
| 21 | 1 | Пластина | 2502-43-103 | 1 |
- | - |
| 22 | 1 | Трубопровод | 312002-43-53СП | 1 |
- | - |
| 23 | 1 | Прокладка | 46-43-313 | 9 |
- | - |
| 24 | 1 | Пробка | 375 321 | 1 |
- | - |
| 25 | 1 | Шайба 8 | 310 150 | 1 |
- | - |
| 26 | 1 | Трубопровод | 312002-43-54СП | 1 |
- | - |
| 27 | 1 | Рукав | 46 0901-15 | 1 |
- | - |
| 28 | 1 | Отопитель автобусный ОА-24-4М ТУ 4591-001-07511614-98 | - | 1 |
- | - |
| 29 | 1 | Рукав | 46 0901-16 | 1 |
- | - |
| 31 | 1 | Трубопровод | 312002-43-64СП | 1 |
- | - |
| 32 | 1 | Болт М10-6gx25 | 280 230 | 8 |
- | - |
| 33 | 1 | Гайка М6 | - | 4 |
- | - |
| 34 | 1 | Шайба 6Т | - | 4 |
- | - |
| 35 | 1 | Трубопровод | 312002-43-62СП | 1 |
- | - |
| 36 | 1 | Болт зажимной | 700-41-2622 | 4 |
- | - |
| 37 | 1 | Трубопровод | 312002-43-63СП | 1 |
- | - |
| 38 | 1 | Пластина | 2002-43-75 | 2 |
- | - |
| 39 | 1 | Амортизатор | 400 469 | 2 |
- | - |
| 40 | 1 | Рукав | 46 0901-05 | 2 |
- | - |
| 41 | 1 | Основание | 2002-43-59СП | 1 |
- | - |
| 42 | 1 | Упор | 2002-43-57 | 4 |
- | - |
| 43 | 1 | Гайка М10 | - | 4 |
- | - |
| 44 | 1 | Шайба 10 | 310 170 | 4 |
- | - |
| 45 | 1 | Втулка | 2002-43-54 | 4 |
- | - |
| 46 | 1 | Упор | 2002-43-95 | 4 |
- | - |
| 47 | 1 | Шайба специальная | 2002-43-93 | 4 |
- | - |
| 48 | 1 | Винт ВМ8-6gx30 ГОСТ 17475-80 | - | 1 |
- | - |