![]() |
| Рис.1 |
![]() |
| Рис.2 |
| № п/п | № рис. | Наименование | Код детали | |||
| 0 | 0 | Облицовка | 312002-55-1СП | |||
| 0 | 0 | Облицовка | 312002-55-1-20СП | |||
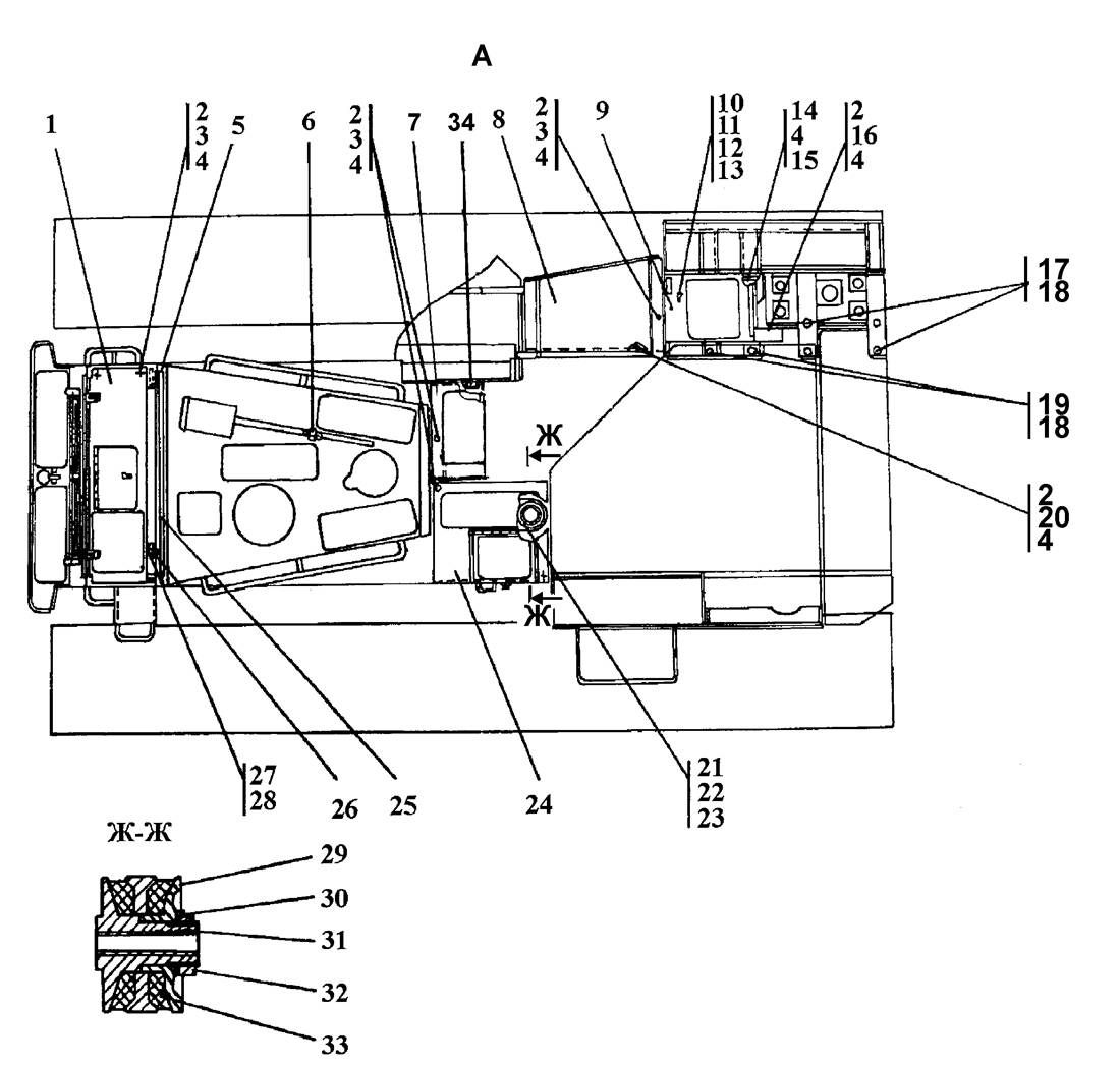
| 1 | 1 | Планка | 312001-51-16 | |||
| 1 | 1 | Планка | 312001-51-16-20 | |||
| 2 | 1 | Палец | 312001-51-14СП | |||
| 2 | 1 | Палец | 312001-51-14-20СП | |||
| 3 | 1 | Шайба 12.ОТ | - | |||
| 4 | 1 | Болт М12x1,25-6gx30 | 280 342 | |||
| 5 | 1 | Шайба 12 | 310 230 | |||
| 5 | 1 | Шайба 12 | 31 0230-20 | |||
| 6 | 1 | Болт М12x1,25-6gx25 | - | |||
| 7 | 1 | Корпус | 312002-55-10СП | |||
| 7 | 1 | Корпус | 312002-55-10-20СП | |||
| 8 | 1 | Болт М8-6gx25 | - | |||
| 9 | 1 | Шайба 8Т | - | |||
| 10 | 1 | Шайба 8 | 310 150 | |||
| 10 | 1 | Шайба 8 | 31 0150-20 | |||
| 11 | 1 | Накладка | 312002-55-68 | |||
| 11 | 1 | Накладка | 312002-55-68-20 | |||
| 12 | 1 | Капот | 312002-55-12СП | |||
| 12 | 1 | Капот | 312002-55-12-20СП | |||
| 13 | 1 | Шайба | 700-31-2209 | |||
| 13 | 1 | Шайба | 700-31-2209-20 | |||
| 14 | 1 | Болт М16x1,5-6gx45 | 280 544 | |||
| 14 | 1 | Болт М16x1,5-6gx45 | 28 0544-20 | |||
| 15 | 1 | Шайба 16.ОТ | - | |||
| 16 | 1 | Крыло | 312001-55-16СП | |||
| 16 | 1 | Крыло | 312001-55-16-20СП | |||
| 17 | 1 | Решетка | 1501-55-19СП | |||
| 17 | 1 | Решетка | 1501-55-19-20СП | |||
| 18 | 1 | Болт М12x1,25-6gx65 | 281 379 | |||
| 18 | 1 | Болт М12x1,25-6gx65 | 28 1379-20 | |||
| 19 | 1 | Шайба | 315 211 | |||
| 19 | 1 | Шайба | 31 5211-20 | |||
| 21 | 1 | Кожух | 312001-55-26СП | |||
| 21 | 1 | Кожух | 312001-55-26-20СП | |||
| 22 | 1 | Палец | 312001-55-15-01 | |||
| 23 | 1 | Пластина | 312002-55-75 | |||
| 23 | 1 | Пластина | 312002-55-75-20 | |||
| 24 | 1 | Болт специальный | 312002-55-74 | |||
| 24 | 1 | Болт специальный | 312002-55-74-20 | |||
| 26 | 1 | Ось | 401-55-383 | |||
| 27 | 1 | Кольцо | 46-43-105-01 | |||
| 27 | 1 | Кольцо | 46-43-105-01-10 | |||
| 28 | 1 | Защелка | 401-55-384 | |||
| 28 | 1 | Защелка | 401-55-384-20 | |||
| 29 | 1 | Шплинт 2x14 | - | |||
| 30 | 1 | Гайка | 300 160 | |||
| 30 | 1 | Гайка | 30 0160-20 | |||
| 31 | 1 | Прокладка | 312002-55-60 | |||
| 32 | 1 | Планка | 312001-55-161 | |||
| 32 | 1 | Планка | 312001-55-161-20 | |||
| 33 | 1 | Пружина | 700-38-2563 | |||
| 33 | 1 | Пружина | 700-38-2563-20 | |||
| 34 | 1 | Стержень | 2501-55-215 | |||
| 35 | 1 | Ручка | 2501-55-169СП | |||
| 36 | 1 | Шплинт 4x25 | - | |||
| 37 | 1 | Ручка | 2001-55-30СП | |||
| 38 | 1 | Боковина | 312002-55-14СП | |||
| 38 | 1 | Боковина | 312002-55-14-20СП | |||
| 39 | 1 | Болт М12x1,25-6gx45 | 280 361 | |||
| 39 | 1 | Болт М12x1,25-6gx45 | 28 0361-20 | |||
| 40 | 1 | Боковина | 312002-55-13СП | |||
| 40 | 1 | Боковина | 312002-55-13-20СП | |||
| 41 | 1 | Боковина | 312001-55-21СП | |||
| 41 | 1 | Боковина | 312001-55-21-20СП | |||
| 42 | 1 | Боковина | 312001-55-29СП | |||
| 42 | 1 | Боковина | 312001-55-29-20СП | |||
| 43 | 1 | Болт М12x1,25-6gx55 | 280 370 | |||
| 43 | 1 | Болт М12x1,25-6gx55 | 28 0370-20 | |||
| 1 | 2 | Крышка | 311502-55-13СП | |||
| 1 | 2 | Крышка | 311502-55-13-20СП | |||
| 2 | 2 | Шайба | 315 211 | |||
| 2 | 2 | Шайба | 31 5211-20 | |||
| 3 | 2 | Болт М12x1,25-6gx30 | 280 342 | |||
| 3 | 2 | Болт М12x1,25-6gx30 | 28 0342-20 | |||
| 4 | 2 | Шайба 12ОТ | - | |||
| 5 | 2 | Прокладка | 312002-55-59 | |||
| 6 | 2 | Хомут | А30.06.100 | |||
| 6 | 2 | Хомут | А30.06.100-20 | |||
| 7 | 2 | Щиток | 311502-55-20-01СП | |||
| 7 | 2 | Щиток | 311502-55-20-01-20СП | |||
| 8 | 2 | Защита | 311502-55-18СП | |||
| 8 | 2 | Защита | 311502-55-18-20СП | |||
| 8 | 2 | Болт М8-6gx25 | - | |||
| 9 | 2 | Кожух | 312001-55-31СП | |||
| 9 | 2 | Кожух | 312001-55-31-20СП | |||
| 10 | 2 | Ручка | 2501-55-169СП | |||
| 11 | 2 | Стержень | 2501-55-215 | |||
| 12 | 2 | Пружина | 700-38-2563 | |||
| 12 | 2 | Пружина | 700-38-2563-20 | |||
| 13 | 2 | Шплинт 4x25 ГОСТ 397-79 | - | |||
| 14 | 2 | Болт М12x1,25-6gx80 | 280 385 | |||
| 14 | 2 | Болт М12x1,25-6gx80 | 28 0385-20 | |||
| 15 | 2 | Шайба 12 | 310 230 | |||
| 15 | 2 | Шайба 12 | 31 0230-20 | |||
| 16 | 2 | Болт М12x1,25-6gx45 | 280 361 | |||
| 16 | 2 | Болт М12x1,25-6gx45 | 28 0361-20 | |||
| 17 | 2 | Болт М24x2-6gx110 | 280 850 | |||
| 17 | 2 | Болт М24x2-6gx110 | 28 0850-20 | |||
| 18 | 2 | Шайба 24 | 310 350 | |||
| 18 | 2 | Шайба 24 | 31 0350-20 | |||
| 19 | 2 | Болт М24x2-6gx100 | 280 845 | |||
| 19 | 2 | Болт М24x2-6gx100 | 28 0845-20 | |||
| 20 | 2 | Болт М12x1,25-6gx65 | 281 379 | |||
| 20 | 2 | Болт М12x1,25-6gx65 | 28 1379-20 | |||
| 21 | 2 | Кронштейн | 312001-55-14-01СП | |||
| 21 | 2 | Кронштейн | 312001-55-14-01-20СП | |||
| 22 | 2 | Шайба | ТТ2501-55-230 | |||
| 22 | 2 | Шайба | ТТ2501-55-230-20 | |||
| 23 | 2 | Болт М20x1,5-6gx40 | 280 720 | |||
| 23 | 2 | Болт М20x1,5-6gx40 | 28 0720-20 | |||
| 24 | 2 | Щиток | 312002-55-15СП | |||
| 24 | 2 | Щиток | 312002-55-15-20СП | |||
| 25 | 2 | Накладка | 2001-55-135 | |||
| 25 | 2 | Накладка | 2001-55-135-20 | |||
| 26 | 2 | Хомут | 46-55-228СП | |||
| 26 | 2 | Хомут | 46-55-228-20СП | |||
| 27 | 2 | Болт М8-6gx16 | - | |||
| 28 | 2 | Шайба 8Т | - | |||
| 29 | 2 | Прижим | 2501-20-26 | |||
| 29 | 2 | Прижим | 2501-55-26-20 | |||
| 30 | 2 | Шайба Н42 | 310 460 | |||
| 30 | 2 | Шайба Н42 | 31 0460-20 | |||
| 31 | 2 | Упор | 2501-60-134 | |||
| 31 | 2 | Упор | 2501-60-134-20 | |||
| 32 | 2 | Гайка | 305 485 | |||
| 32 | 2 | Гайка | 30 5485-20 | |||
| 33 | 2 | Амортизатор | 400 224 | |||
| 34 | 2 | Опора | 400085 |
Обращаем Ваше внимание, что пункты отмеченные звездочкой, обязательны для заполнения.