| № п/п | № рис. | Наименование | Код детали | УХЛ | Т | У |
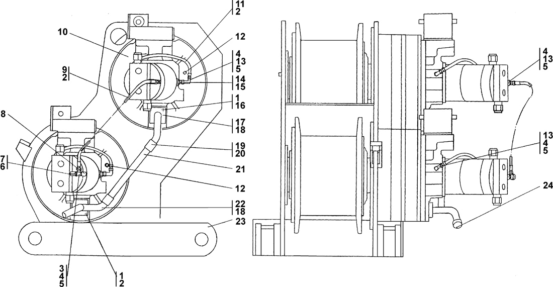
| 0 | 1 | Установка лебедок | 312001-90-1-01СП | 1 |
- | - |
| 0 | 1 | Установка лебедок | 312001-90-1-01-20СП | - |
1 | - |
| 1 | 1 | Болт М10-6gx30 ГОСТ 7796-70 | - | 8 |
8 | - |
| 2 | 1 | Кольцо 012-016-25-2-51-1668 | - | 6 |
6 | - |
| 3 | 1 | Тройник | 312501-90-19СП | 1 |
- | - |
| 3 | 1 | Тройник | 312501-90-19-20СП | - |
1 | - |
| 4 | 1 | Контргайка | Н.036.23.022 | 6 |
- | - |
| 4 | 1 | Контргайка | Н.036.23.022-20 | - |
6 | - |
| 5 | 1 | Кольцо 018-022-25-2-51-1668 | - | 1 |
1 | - |
| 6 | 1 | Кольцо 014-018-25-2-51-1668 | - | 2 |
2 | - |
| 7 | 1 | Штуцер | 312001-90-101 | 2 |
- | - |
| 7 | 1 | Штуцер | 312001-90-101-20 | - |
2 | - |
| 8 | 1 | Заглушка | 2501-26-294 | 1 |
1 | - |
| 9 | 1 | Рукав d12 | 404-26-213-11СП | 1 |
- | - |
| 9 | 1 | Рукав d12 | 404-26-213-11-20СП | - |
1 | - |
| 10 | 1 | Лебедка | 312001-90-9СП | 2 |
- | - |
| 10 | 1 | Лебедка | 312001-90-9-20СП | - |
2 | - |
| 11 | 1 | Рукав d12 | 404-26-213-02СП | 2 |
- | - |
| 11 | 1 | Рукав d12 | 404-26-213-02-20СП | - |
2 | - |
| 12 | 1 | Штуцер | 403-16-109СП | 2 |
- | - |
| 12 | 1 | Штуцер | 403-16-109-20СП | - |
2 | - |
| 13 | 1 | Угольник поворотный | 5001-26-77 | 5 |
5 | - |
| 14 | 1 | Штуцер | 415 333 | 2 |
- | - |
| 14 | 1 | Штуцер | 41 5333-20 | - |
2 | - |
| 15 | 1 | Кольцо 019-023-25-2-51-1668 | - | 6 |
6 | - |
| 17 | 1 | Фланец | 312001-90-32СП | 1 |
- | - |
| 17 | 1 | Фланец | 312001-90-32-20СП | - |
1 | - |
| 18 | 1 | Кольцо 039-045-36-2-51-1668 | - | 2 |
2 | - |
| 19 | 1 | Рукав | 46 1201-02 | 2 |
- | - |
| 19 | 1 | Рукав | 46 1201-02-20 | - |
2 | - |
| 19 | 1 | Шайба 10 ОТ ГОСТ 6402-70 | - | 6 |
6 | - |
| 20 | 1 | Шланговый хомут DIN3017-AS30-45/12C7-W2 | - | 4 |
4 | - |
| 21 | 1 | Труба | 312001-90-60 | 1 |
- | - |
| 21 | 1 | Труба | 312001-90-60-20 | - |
1 | - |
| 22 | 1 | Фланец | 312001-90-31СП | 1 |
- | - |
| 22 | 1 | Фланец | 312001-90-31-20СП | - |
1 | - |
| 23 | 1 | Корпус | 312001-90-27СП | 1 |
- | - |
| 23 | 1 | Корпус | 312001-90-27-20СП | - |
1 | - |
| 24 | 1 | Пробка | 440 006 | 1 |
1 | - |