![]() |
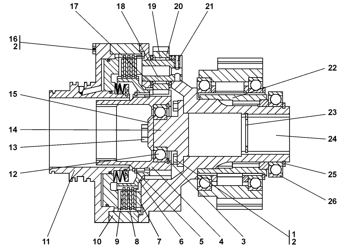
| Рис.1 |
| № п/п | № рис. | Наименование | Код детали | |||
| 0 | 1 | Фрикцион | 312001-90-13СП | |||
| 1 | 1 | Болт | 285 120 | |||
| 2 | 1 | Проволока 1,6-0-С ГОСТ 3282-74 | - | |||
| 3 | 1 | Кольцо С80 ГОСТ 13941-86 | 580 676 | |||
| 4 | 1 | Шестерня | 312001-90-29 | |||
| 5 | 1 | Кольцо С110 | 580 805 | |||
| 6 | 1 | Муфта | 312001-90-37 | |||
| 7 | 1 | Диск | 312001-90-38 | |||
| 8 | 1 | Диск | 312001-90-39 | |||
| 9 | 1 | Диск | 312001-90-17СП | |||
| 10 | 1 | Барабан | 312001-90-40 | |||
| 11 | 1 | Бустер | 312001-90-18СП | |||
| 12 | 1 | Подшипник 208А | - | |||
| 13 | 1 | Болт М16-6gx30 | 280 521 | |||
| 14 | 1 | Ступица | 312001-90-34 | |||
| 15 | 1 | Шайба | 312001-90-35 | |||
| 16 | 1 | Болт 3М8-6gx75 | 280 166 | |||
| 17 | 1 | Кольцо упорное | 312001-90-36 | |||
| 18 | 1 | Ось | 312001-90-26 | |||
| 19 | 1 | Подшипник 5К30x36x25 ГОСТ 24310-80 | - | |||
| 20 | 1 | Сателлит | 312001-90-25 | |||
| 21 | 1 | Штифт | 2001-12-111СП | |||
| 22 | 1 | Муфта обгонная | 312001-90-29СП | |||
| 23 | 1 | Кольцо С52 ГОСТ 1943-86 | 580 515 | |||
| 24 | 1 | Водило | 312001-90-67 | |||
| 25 | 1 | Кольцо С80 | 700-58-2122 | |||
| 26 | 1 | Подшипник 116А | - |
Обращаем Ваше внимание, что пункты отмеченные звездочкой, обязательны для заполнения.