| № п/п | № рис. | Наименование | Код детали | УХЛ | Т | У |
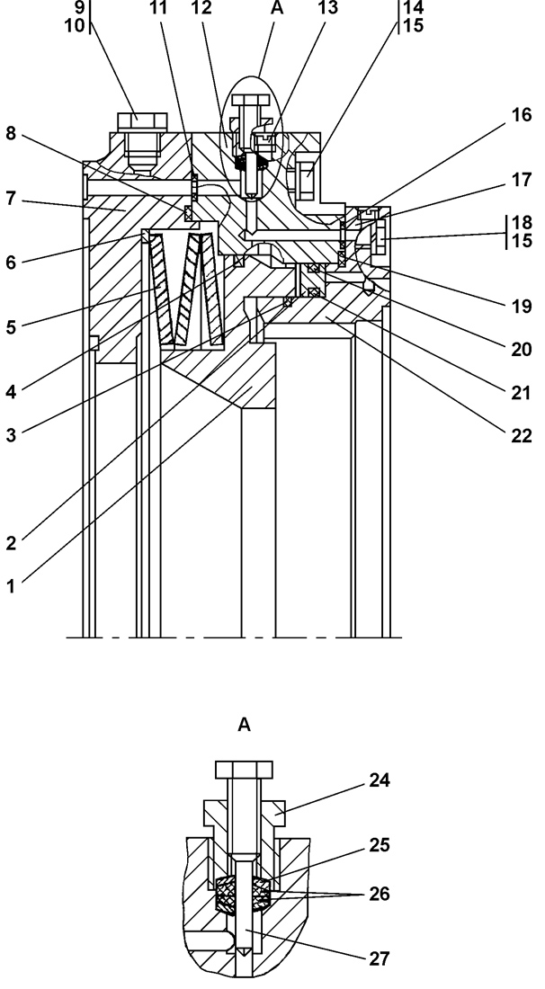
| 0 | 1 | Бустер тормоза | 312001-90-14СП | 1 |
1 | - |
| 1 | 1 | Поршень | 312001-90-75 | 1 |
1 | - |
| 2 | 1 | Поршень | 312001-90-33 | 1 |
1 | - |
| 3 | 1 | Кольцо уплотнительное | 2501-12-181-07 | 1 |
1 | - |
| 4 | 1 | Кольцо уплотнительное | 2501-12-181-31 | 1 |
1 | - |
| 5 | 1 | Тарелка | 2501-18-28 | 3 |
3 | - |
| 6 | 1 | Кольцо | 2501-18-30 | 1 |
1 | - |
| 7 | 1 | Корпус | 312001-90-5 | 1 |
1 | - |
| 8 | 1 | Кольцо | 40 0468-06 | 1 |
1 | - |
| 9 | 1 | Пробка | 375 515 | 1 |
1 | - |
| 10 | 1 | Прокладка | 700-40-260-11 | 1 |
1 | - |
| 11 | 1 | Кольцо 012-016-25-2-51-1668 | - | 1 |
1 | - |
| 12 | 1 | Корпус | 312001-90-6 | 1 |
1 | - |
| 13 | 1 | Пробка 3-КГ 1/4? | 370 260 | 1 |
1 | - |
| 14 | 1 | Болт М12-6gx80 ГОСТ 7795-70 | - | 4 |
4 | - |
| 15 | 1 | Шайба 12.ОТ ГОСТ 6402-70 | - | 8 |
8 | - |
| 16 | 1 | Кольцо 007-011-25-2-51-1668 | - | 2 |
2 | - |
| 17 | 1 | Пробка 3-КГ 1/8? | 37 0150-08 | 1 |
1 | - |
| 18 | 1 | Болт М12-6gx30 ГОСТ 7796-70 | - | 4 |
4 | - |
| 19 | 1 | Кольцо | 40 0468-03 | 1 |
1 | - |
| 20 | 1 | Кольцо 345-355-58-2-3 | - | 1 |
1 | - |
| 20 | 1 | или | - | - |
- | - |
| 20 | 1 | Кольцо | 40 0468-07 | 1 |
1 | - |
| 21 | 1 | Кольцо 330-340-58-2-3 | - | 1 |
1 | - |
| 22 | 1 | Корпус | 312001-90-76 | 1 |
1 | - |
| 24 | 1 | Пробка | 46-21-717 | 1 |
1 | - |
| 25 | 1 | Обойма | 46-21-718 | 2 |
2 | - |
| 26 | 1 | Кольцо СТ13-5-4 ГОСТ 288-72 | 500 192 | 4 |
4 | - |
| 27 | 1 | Игла | 46-21-756 | 1 |
1 | - |