| № п/п | № рис. | Наименование | Код детали | УХЛ | Т | У |
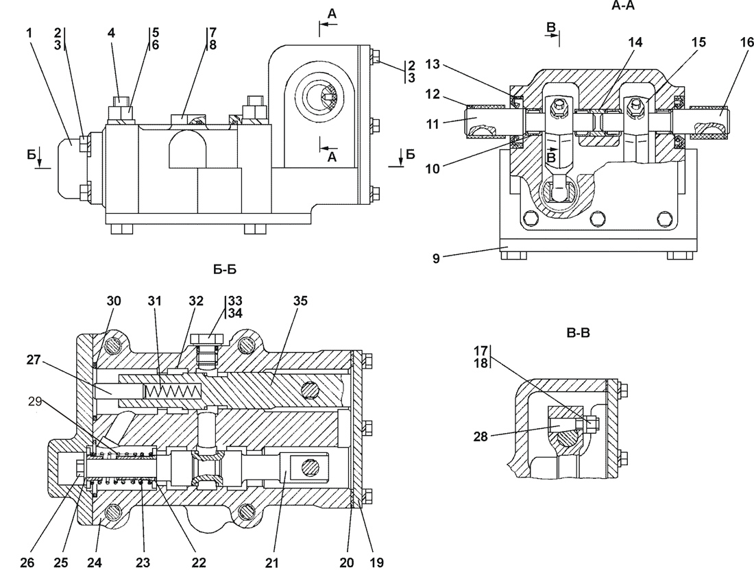
| 0 | 1 | Распределитель лебедки | 312001-91-1СП | 1 |
- | - |
| 0 | 1 | Распределитель лебедки | 312001-91-1-20СП | - |
1 | - |
| 1 | 1 | Крышка | 312001-91-2 | 1 |
- | - |
| 1 | 1 | Крышка | 312001-91-2-20 | - |
1 | - |
| 2 | 1 | Болт М8-6gx20 | - | 14 |
14 | - |
| 3 | 1 | Шайба 8Т | - | 16 |
16 | - |
| 4 | 1 | Болт 2М12x1,25-6gx100 | 281 388 | 4 |
- | - |
| 4 | 1 | Болт 2М12x1,25-6gx100 | 28 1388-20 | - |
4 | - |
| 5 | 1 | Гайка М12x1,25 | - | 4 |
4 | - |
| 6 | 1 | Шайба 12.ОТ | - | 4 |
4 | - |
| 7 | 1 | Пробка | 375 331 | 3 |
- | - |
| 7 | 1 | Пробка | 37 5331-20 | - |
3 | - |
| 8 | 1 | Кольцо 018-022-25-2-51-1668 | - | 3 |
3 | - |
| 9 | 1 | Крышка | 2601-15-10 | 1 |
1 | - |
| 10 | 1 | Подшипник 941/15 ГОСТ 4060-78 | - | 4 |
4 | - |
| 11 | 1 | Труба | 2501-15-152-01 | 2 |
2 | - |
| 12 | 1 | Валик | 312501-91-146-01 | 1 |
1 | - |
| 13 | 1 | Манжета 1,2-20x40-3 ГОСТ 8752-79 ОСТ 38.05146-78 | - | 2 |
2 | - |
| 14 | 1 | Втулка | 2601-15-11 | 1 |
1 | - |
| 15 | 1 | Рычаг | 312501-91-106 | 2 |
2 | - |
| 16 | 1 | Валик | 312501-91-146 | 1 |
1 | - |
| 17 | 1 | Гайка М8 | - | 2 |
2 | - |
| 18 | 1 | Прокладка | 2501-15-266 | 2 |
2 | - |
| 19 | 1 | Крышка | 2601-15-6 | 1 |
1 | - |
| 20 | 1 | Прокладка | 450 215 | 1 |
- | - |
| 20 | 1 | Прокладка | 45 0215-20 | - |
1 | - |
| 21 | 1 | Золотник передач | 312001-91-8 | 1 |
1 | - |
| 22 | 1 | Упор | 312501-91-110 | 2 |
2 | - |
| 23 | 1 | Втулка | 312501-91-112 | 1 |
1 | - |
| 24 | 1 | Корпус | 312001-91-1 | 1 |
- | - |
| 24 | 1 | Корпус | 312001-91-1-20 | - |
1 | - |
| 25 | 1 | Шайба 8 ГОСТ 6958-78 | 310 140 | 1 |
1 | - |
| 26 | 1 | Болт М8-6gx16 | - | 1 |
1 | - |
| 27 | 1 | Палец | 312001-91-9 | 1 |
1 | - |
| 28 | 1 | Клин | 312501-91-157 | 2 |
2 | - |
| 29 | 1 | Пружина | 38 327 | 1 |
1 | - |
| 30 | 1 | Кольцо 039-045-36-2-51-1668 | - | 2 |
2 | - |
| 31 | 1 | Пружина | 385 120 | 1 |
1 | - |
| 32 | 1 | Кольцо 016-020-25-2-51-1668 | - | 7 |
7 | - |
| 33 | 1 | Пробка | 375 516 | 1 |
- | - |
| 33 | 1 | Пробка | 37 5516-20 | - |
1 | - |
| 34 | 1 | Кольцо 012-016-25-2-51-1668 | - | 1 |
1 | - |
| 35 | 1 | Золотник тормозной | 312001-91-7 | 1 |
1 | - |