| № п/п | № рис. | Наименование | Код детали | УХЛ | Т | У |
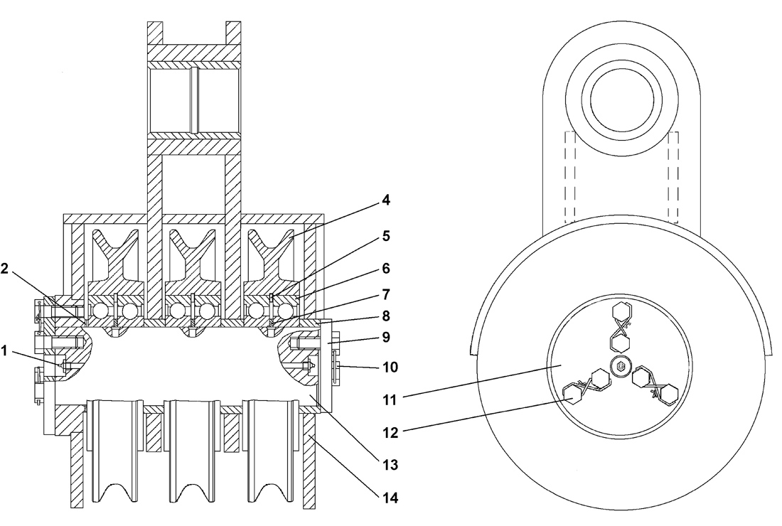
| 0 | 1 | Обойма стреловая | 313502-92-580-01СП | 1 |
- | - |
| 0 | 1 | Обойма стреловая | 313502-92-580-01-20СП | - |
1 | - |
| 1 | 1 | Масленка 1.2Ц6хр | - | 2 |
- | - |
| 1 | 1 | Масленка 1.2Кд6хр | - | - |
2 | - |
| 2 | 1 | Кольцо | 312501-92-107 | 5 |
5 | - |
| 4 | 1 | Блок | 313502-92-402-01 | 3 |
- | - |
| 4 | 1 | Блок | 313502-92-402-01-20 | - |
3 | - |
| 5 | 1 | Кольцо C180 ГОСТ 13941-86 | 580 880 | 3 |
3 | - |
| 6 | 1 | Подшипник 60.220 ГОСТ 7242-81 | - | 6 |
6 | - |
| 7 | 1 | Кольцо | 312502-92-28 | 3 |
3 | - |
| 8 | 1 | Втулка | 313502-92-107 | 3 |
3 | - |
| 9 | 1 | Шайба | 313502-92-26 | 1 |
- | - |
| 9 | 1 | Шайба | 313502-92-26-20 | - |
1 | - |
| 10 | 1 | Проволока 1.6-0-C ГОСТ 3282-74 | - | 0,4м |
0,4м | - |
| 11 | 1 | Крышка | 313502-92-27 | 1 |
1 | - |
| 12 | 1 | Болт 3M16x1.5-6gx45 | 280 545 | 9 |
- | - |
| 12 | 1 | Болт 3M16x1.5-6gx45 | 28 0545-20 | - |
9 | - |
| 13 | 1 | Ось | 313502-92-22 | 1 |
1 | - |
| 14 | 1 | Корпус | 313502-92-590СП(SP) | 1 |
- | - |
| 14 | 1 | Корпус | 313502-92-590-20СП(SP) | - |
1 | - |