![]() |
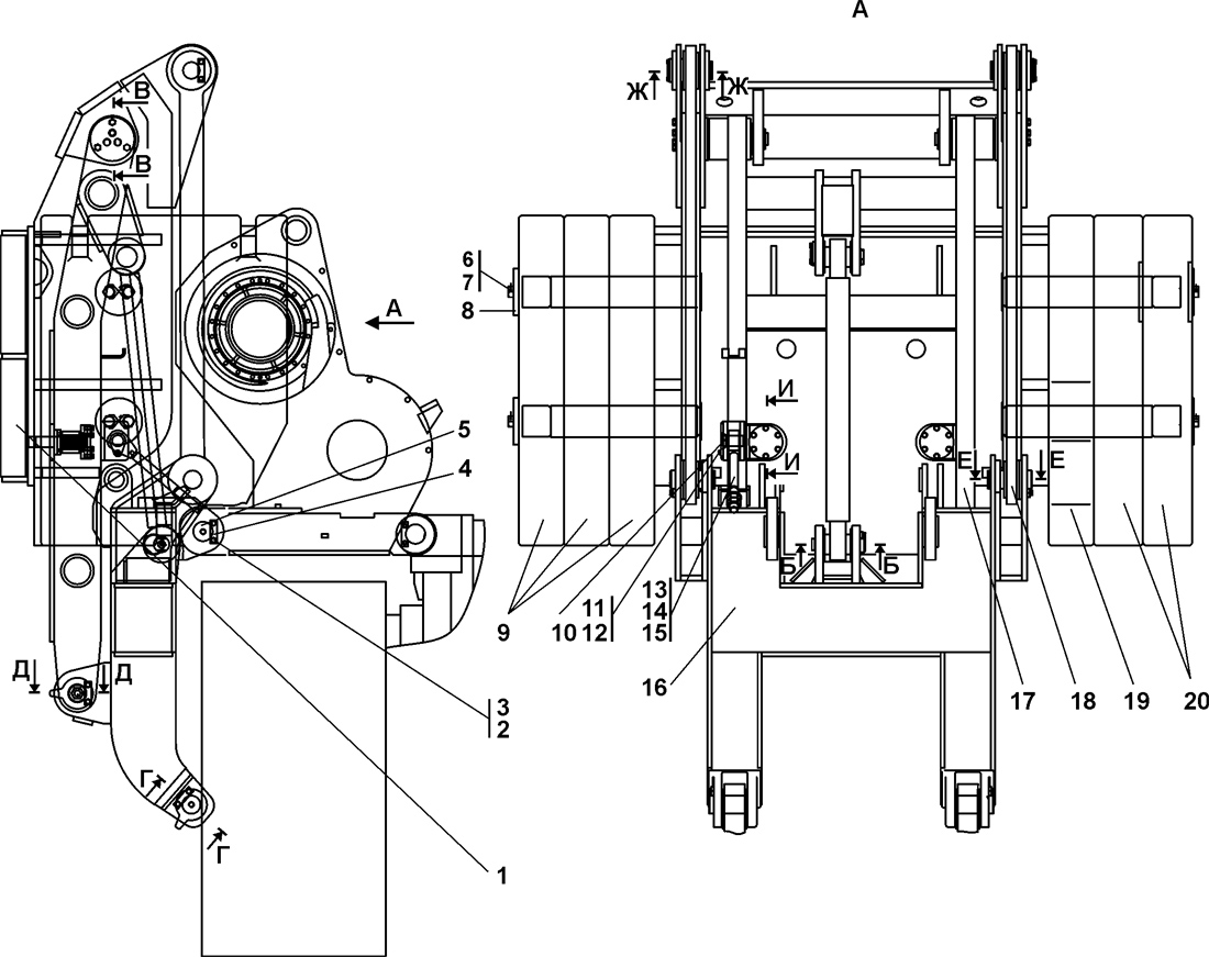
| Рис.1 |
![]() |
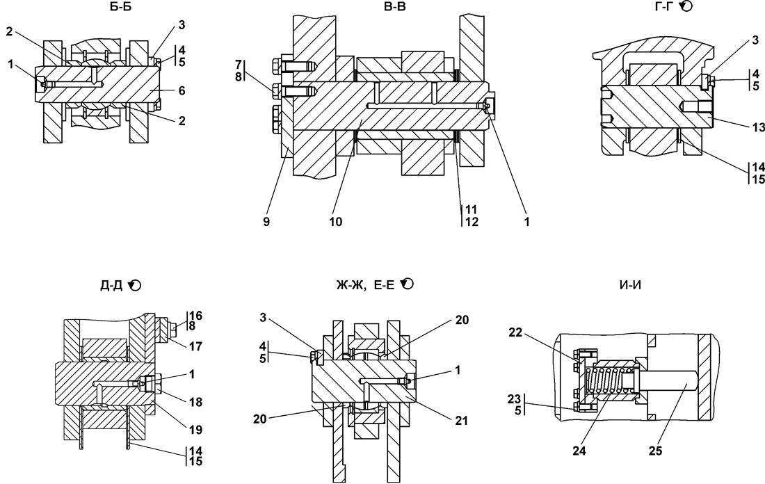
| Рис.2 |
| № п/п | № рис. | Наименование | Код детали | |||
| 0 | 0 | Установка противовеса | 312002-93-1СП | |||
| 0 | 0 | Установка противовеса | 312002-93-1-20СП | |||
| 1 | 1 | Противовес | 312002-93-60СП | |||
| 1 | 1 | Противовес | 312002-93-60-20СП | |||
| 2 | 1 | Шайба 12.ОТ | - | |||
| 3 | 1 | Болт М12x1,25-6gx30 | - | |||
| 4 | 1 | Пластина | 312501-94-103 | |||
| 4 | 1 | Пластина | 312501-94-103-20 | |||
| 5 | 1 | Палец | 312001-94-6 | |||
| 5 | 1 | Палец | 312001-94-6-20 | |||
| 6 | 1 | Болт | 28 5943-01 | |||
| 6 | 1 | Болт | 28 5943-01-20 | |||
| 7 | 1 | Проволока 1,6-0-С ГОСТ 3282-74 | - | |||
| 8 | 1 | Шайба | 312501-93-11 | |||
| 8 | 1 | Шайба | 312501-93-11-20 | |||
| 9 | 1 | Груз | 312002-93-41СП | |||
| 9 | 1 | Груз | 312002-93-41-20СП | |||
| 10 | 1 | Палец | 312001-94-12СП | |||
| 11 | 1 | Болт М10-6gx30 | - | |||
| 12 | 1 | Шайба 10.ОТ | - | |||
| 13 | 1 | Болт | 313502-93-140СП | |||
| 13 | 1 | Болт | 313502-93-140-20СП | |||
| 14 | 1 | Гайка М30x2 ГОСТ 5915 | 300 411 | |||
| 15 | 1 | Шайба 30 ГОСТ 11371-78 | 31 0410-01 | |||
| 16 | 1 | Кронштейн противовеса | 312002-93-70СП | |||
| 16 | 1 | Кронштейн противовеса | 312002-93-70-20СП | |||
| 17 | 1 | Рама противовеса | 312002-93-100СП | |||
| 17 | 1 | Рама противовеса | 312002-93-100-20СП | |||
| 18 | 1 | Тяга | 312002-93-18СП | |||
| 18 | 1 | Тяга | 312002-93-18-20СП | |||
| 19 | 1 | Груз | 312002-93-42СП | |||
| 19 | 1 | Груз | 312002-93-42-20СП | |||
| 20 | 1 | Груз | 312002-93-40СП | |||
| 20 | 1 | Груз | 312002-93-40-20СП | |||
| 1 | 2 | Масленка 1.2Ц6хр | - | |||
| 1 | 2 | Масленка 1.2кд6хр | - | |||
| 2 | 2 | Кольцо | 312002-93-96 | |||
| 2 | 2 | Кольцо | 312002-93-96-20 | |||
| 3 | 2 | Пластина | 312501-94-103 | |||
| 3 | 2 | Пластина | 312501-94-103-20 | |||
| 4 | 2 | Болт М12-6gx30 | - | |||
| 5 | 2 | Шайба 12 ОТ | - | |||
| 6 | 2 | Ось | 312002-93-95 | |||
| 6 | 2 | Ось | 312002-93-95-20 | |||
| 7 | 2 | Болт М16-6gx50 | 280 551 | |||
| 8 | 2 | Шайба 16 ОТ | - | |||
| 9 | 2 | Крышка | 312002-93-87 | |||
| 9 | 2 | Крышка | 312002-93-87-20 | |||
| 10 | 2 | Ось | 312002-93-117 | |||
| 11 | 2 | Прокладка | 312501-94-134 | |||
| 12 | 2 | Прокладка | 312501-94-134-01 | |||
| 13 | 2 | Палец | 312001-94-6-01 | |||
| 13 | 2 | Палец | 312001-94-6-01-20 | |||
| 14 | 2 | Шайба регулировочная | 312001-93-28 | |||
| 15 | 2 | Шайба регулировочная | 312001-93-28-01 | |||
| 16 | 2 | Болт М16x1,5-6gx35 | - | |||
| 17 | 2 | Планка | 46-98-2 | |||
| 17 | 2 | Планка | 46-98-2-20 | |||
| 18 | 2 | Пробка | 375 780 | |||
| 19 | 2 | Ось | 312002-93-210-01CП | |||
| 20 | 2 | Кольцо | 312002-93-53 | |||
| 20 | 2 | Кольцо | 312002-93-53-20 | |||
| 21 | 2 | Ось | 312002-93-44 | |||
| 21 | 2 | Ось | 312002-93-44-20 | |||
| 22 | 2 | Крышка | 312002-93-71 | |||
| 22 | 2 | Крышка | 312002-93-71-20 | |||
| 23 | 2 | Болт М12x1,25-6gx30 | - | |||
| 24 | 2 | Пружина | 385 760 | |||
| 25 | 2 | Упор | 312002-93-70-01 |
Обращаем Ваше внимание, что пункты отмеченные звездочкой, обязательны для заполнения.