| ||||||
| № п/п | Наименование | Код детали | ||||
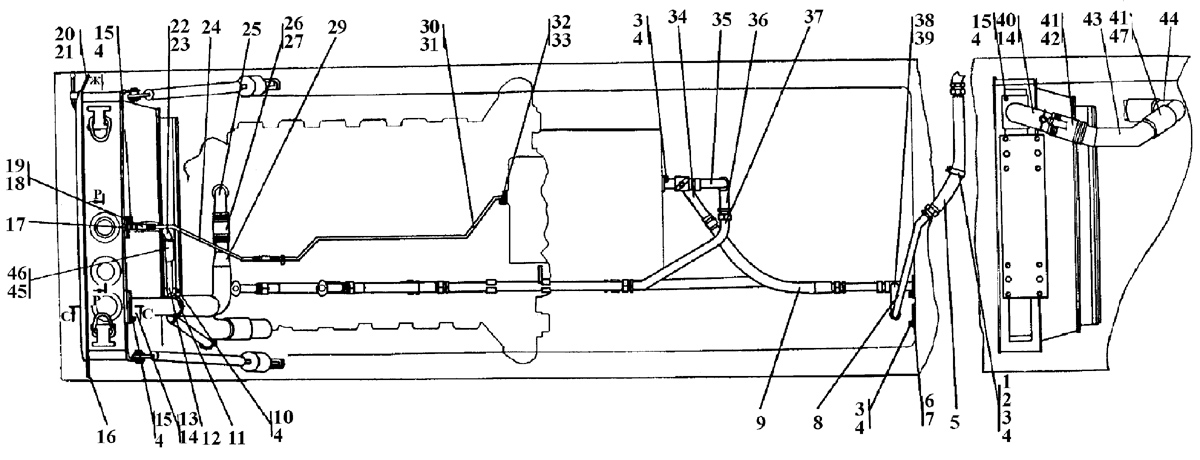
| 1 | Втулка | 40 0354-04 | ||||
| 2 | Хомутик | 700-41-3267 | ||||
| 2 | Хомутик | 700-41-3267-20 | ||||
| 3 | Болт M12-6g?30 | - | ||||
| 4 | Шайба 12.OT | - | ||||
| 5 | Рукав | 46-60-392-05СП(SP) | ||||
| 5 | Рукав | 46-60-392-05-20СП(SP) | ||||
| 6 | Заглушка | 313502-60-33 | ||||
| 6 | Заглушка | 313502-60-33-20 | ||||
| 7 | Прокладка | 700-40-6618 | ||||
| 7 | Прокладка | 700-40-6618-20 | ||||
| 8 | Трубопровод | 313502-60-118СП(SP) | ||||
| 8 | Трубопровод | 313502-60-118-20СП | ||||
| 9 | Рукав | 46-60-392-06СП(SP) | ||||
| 9 | Рукав | 46-60-392-06-20СП(SP) | ||||
| 10 | Болт M12?1,25-6g?40 | - | ||||
| 11 | Фланец | 404-43-87 | ||||
| 11 | Фланец | 404-43-87-20 | ||||
| 12 | Трубопровод | 3502-60-142СП(SP) | ||||
| 12 | Трубопровод | 3502-60-142-20СП(SP) | ||||
| 13 | Патрубок | 3502-60-138СП(SP) | ||||
| 13 | Патрубок | 3502-60-138-20СП(SP) | ||||
| 14 | Прокладка | 45 0132 | ||||
| 14 | Прокладка | 45 0132-20 | ||||
| 15 | Болт M12?1,25-6g?30 | - | ||||
| 16 | Щиток | 313502-60-10 | ||||
| 16 | Щиток | 313502-60-10-20 | ||||
| 17 | Штуцер | 2602-60-39 | ||||
| 17 | Штуцер | 2602-60-39-20 | ||||
| 18 | Рукав | 46 0501-01 | ||||
| 18 | Рукав | 46 0501-01-20 | ||||
| 19 | Хомут стяжной червячный 1028-У-02 ПО4.435.002ТУ | - | ||||
| 20 | Щиток | 313502-60-11-01 | ||||
| 20 | Щиток | 313502-60-11-01-20 | ||||
| 21 | Щиток | 313502-60-11 | ||||
| 21 | Щиток | 313502-60-11-20 | ||||
| 22 | Патрубок | 3502-60-141СП(SP) | ||||
| 22 | Патрубок | 3502-60-141-20СП(SP) | ||||
| 23 | Прокладка | 700-40-6097 | ||||
| 23 | Прокладка | 700-40-6097-20 | ||||
| 24 | Трубопровод | 3502-60-112СП(SP) | ||||
| 24 | Трубопровод | 3502-60-112-20СП(SP) | ||||
| 25 | Трубопровод | 3502-60-113СП(SP) | ||||
| 25 | Трубопровод | 3502-60-113-20СП(SP) | ||||
| 26 | Хомут | 5001-26-130СП(SP) | ||||
| 26 | Хомут | 5001-26-130-20СП(SP) | ||||
| 27 | Рукав | 46 1602 | ||||
| 27 | Рукав | 46 1602-20 | ||||
| 29 | Трубопровод | 3502-60-114СП(SP) | ||||
| 29 | Трубопровод | 3502-60-114-20СП(SP) | ||||
| 30 | Трубопровод | 403-60-197СП(SP) | ||||
| 30 | Трубопровод | 403-60-197-20СП(SP) | ||||
| 31 | Прокладка | 45 0208 | ||||
| 31 | Прокладка | 45 0208-20 | ||||
| 32 | Болт M8-6g?25 | - | ||||
| 33 | Шайба 8Т | - | ||||
| 34 | Трубопровод | 3502-60-107СП(SP) | ||||
| 34 | Трубопровод | 3502-60-107-20СП(SP) | ||||
| 35 | Трубопровод | 3502-60-100СП(SP) | ||||
| 35 | Трубопровод | 3502-60-100-20СП(SP) | ||||
| 36 | Трубопровод | 3502-60-101СП(SP) | ||||
| 36 | Трубопровод | 3502-60-101-20СП(SP) | ||||
| 37 | Трубопровод | 3502-60-102СП(SP) | ||||
| 37 | Трубопровод | 3502-60-102-20СП(SP) | ||||
| 38 | Прокладка | 700-40-6617 | ||||
| 38 | Прокладка | 700-40-6617-20 | ||||
| 39 | Патрубок | 313502-60-120СП(SP) | ||||
| 39 | Патрубок | 313502-60-120-20СП | ||||
| 40 | Патрубок | 313502-60-125СП(SP) | ||||
| 40 | Патрубок | 313502-60-125-20СП | ||||
| 41 | Хомут | 25-05-152СП(SP) | ||||
| 41 | Хомут | 25-05-152-20СП(SP) | ||||
| 42 | Рукав | 46 1901-06 | ||||
| 42 | Рукав | 46 1901-06-20 | ||||
| 43 | Трубопровод | 313502-60-126СП(SP) | ||||
| 43 | Трубопровод | 313502-60-126-20СП | ||||
| 44 | Трубопровод | 3502-60-122СП(SP) | ||||
| 44 | Трубопровод | 3502-60-122-20СП(SP) | ||||
| 45 | Хомут | 58-60-180СП(SP) | ||||
| 45 | Хомут | 58-60-180-20СП(SP) | ||||
| 46 | Рукав | 46 1201-14 | ||||
| 46 | Рукав | 46 1201-14-20 | ||||
| 47 | Рукав | 46 1901-09 | ||||
| 47 | Рукав | 46 1901-09-20 | ||||
Обращаем Ваше внимание, что пункты отмеченные звездочкой, обязательны для заполнения.