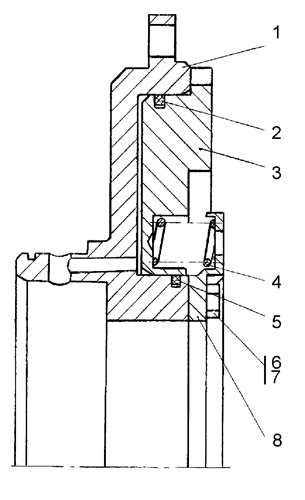
| ||||||
| № п/п | Наименование | Код детали | ||||
| 0 | Бустер | 312501-90-10СП(SP) | ||||
| 1 | Бустер | 312501-90-104 | ||||
| 2 | Кольцо уплотнительное | 2501-12-181-04 | ||||
| 3 | Поршень | 312501-90-105 | ||||
| 4 | Пружина | 38 5482 | ||||
| 5 | Кольцо уплотнительное | 2501-12-181 | ||||
| 6 | Болт | 28 5130 | ||||
| 7 | Проволока КС-1,6 ГОСТ 792-67 | - | ||||
| 8 | Тарелка | 312501-90-106 | ||||
Обращаем Ваше внимание, что пункты отмеченные звездочкой, обязательны для заполнения.