| ||||||
| № п/п | Наименование | Код детали | ||||
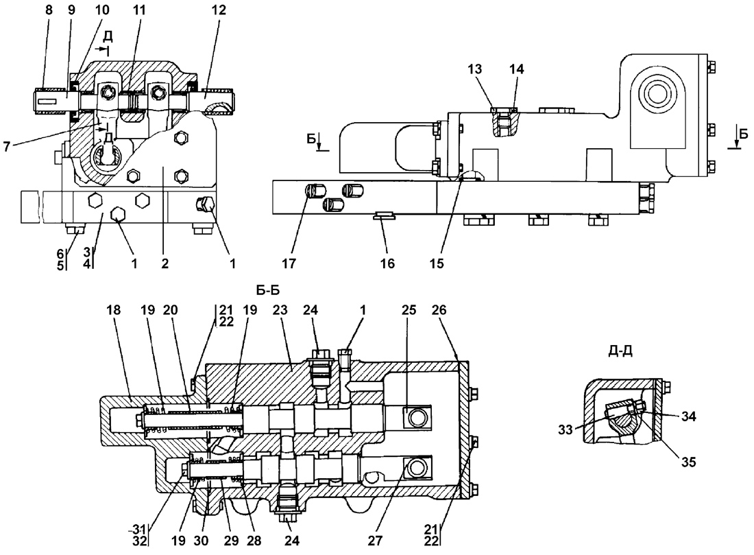
| 0 | Распределитель лебедки* | 312501-91-1-02СП(SP) | ||||
| 0 | Распределитель лебедки | 312501-91-1-02-20СП | ||||
| 0 | Распределитель лебедки** | 312501-91-1-03СП(SP) | ||||
| 0 | Распределитель лебедки | 312501-91-1-03-20СП | ||||
| 1 | Пробка КГ ?? ТУ 23 1.506-91 | 37 0250-08 | ||||
| 2 | Крышка | 312501-91-150 | ||||
| 3 | Плита нижняя | 312501-91-151* | ||||
| 4 | Плита верхняя | 312501-91-152** | ||||
| 5 | Шайба 12.OT | - | ||||
| 6 | Болт M12-6g?50 | 28 0364 | ||||
| 6 | Болт M12-6g?50 | 28 0364-20 | ||||
| 7 | Рычаг | 312501-91-106 | ||||
| 8 | Труба | 2501-15-152-01 | ||||
| 9 | Валик | 312501-91-146-01 | ||||
| 10 | Манжета 1.2-20?40-3 ГОСТ 8752-79/ОСТ 38.05.146-78 | - | ||||
| 11 | Подшипник 941/15 ГОСТ 4060-78 | - | ||||
| 12 | Валик | 312501-91-146 | ||||
| 13 | Пробка | 37 5331 | ||||
| 13 | Пробка | 37 5331-20 | ||||
| 14 | Кольцо 018-022-25-2-51-1668 | - | ||||
| 15 | Кольцо 016-020-25-2-51-1668 | - | ||||
| 16 | Заглушка | 7879-4226-01 | ||||
| 17 | Пробка 3 КГ ?? ТУ 23 1.506-91 | 37 0260 | ||||
| 18 | Крышка | 312501-91-103 | ||||
| 18 | Крышка | 312501-91-103-20 | ||||
| 19 | Пружина | 38 327 | ||||
| 20 | Втулка | 312501-91-112-01 | ||||
| 21 | Болт M8-6g?25 | - | ||||
| 22 | Шайба 8T | - | ||||
| 23 | Корпус | 312501-91-149 | ||||
| 23 | Корпус | 312501-91-149-20 | ||||
| 24 | Заглушка | 44 0057 | ||||
| 24 | Заглушка | 44 0057-20 | ||||
| 25 | Золотник | 312501-91-105 | ||||
| 26 | Прокладка | 45 0239 | ||||
| 26 | Прокладка | 45 0239-20 | ||||
| 27 | Золотник | 312501-91-104 | ||||
| 28 | Упор | 312501-91-110 | ||||
| 29 | Втулка | 312501-91-112 | ||||
| 30 | Кольцо 039-045-36-2-51-1668 | - | ||||
| 31 | Болт M8-6g?16 | - | ||||
| 32 | Шайба 8 ГОСТ 11731-78 | 31 0150 | ||||
| 33 | Клин | 312501-91-157 | ||||
| 34 | Гайка M8 ГОСТ 5915-70 | - | ||||
| 35 | Прокладка | 2501-15-226 | ||||
Обращаем Ваше внимание, что пункты отмеченные звездочкой, обязательны для заполнения.