| ||||||
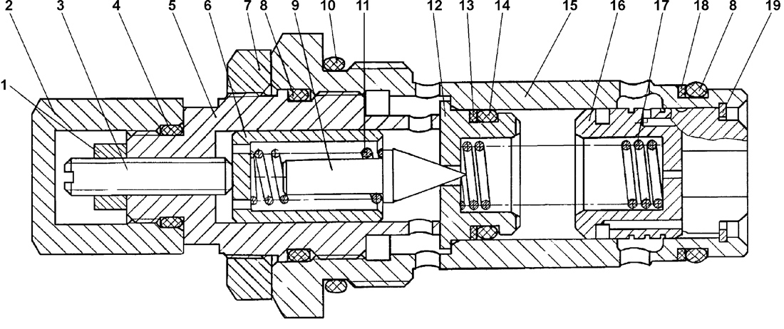
| № п/п | Наименование | Код детали | ||||
| 0 | Клапан | 312501-91-11СП(SP) | ||||
| 1 | Гайка М8 ГОСТ 5915-70 | - | ||||
| 2 | Заглушка | 2601-28-209 | ||||
| 3 | Винт | 2601-28-212 | ||||
| 4 | Кольцо 018-022-25-2-51-1668 | - | ||||
| 5 | Штуцер | 312501-91-147 | ||||
| 6 | Стакан | 2601-28-210 | ||||
| 7 | Гайка | 30 5430 | ||||
| 8 | Кольцо 032-038-36-2-51-1668 | - | ||||
| 9 | Клапан | 1501-15-46 | ||||
| 10 | Кольцо 045-050-30-2-51-1668 | - | ||||
| 11 | Пружина | 38 5271 | ||||
| 12 | Поршень | 2601-28-207 | ||||
| 13 | Кольцо защитное | 2001-26-193 | ||||
| 14 | Кольцо 022-028-36-2-51-1668 | - | ||||
| 15 | Корпус | 2601-28-205 | ||||
| 16 | Клапан | 2601-28-208-01 | ||||
| 17 | Пружина | 38 5278 | ||||
| 18 | Кольцо защитное | 44 0038 | ||||
| 19 | Кольцо С28 ГОСТ 13941-86 | 58 0272 | ||||
Обращаем Ваше внимание, что пункты отмеченные звездочкой, обязательны для заполнения.