| ||||||
| № п/п | Наименование | Код детали | ||||
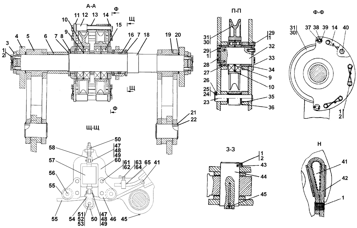
| 1 | Проволока 1,6-0-С ГОСТ 3282-74 | - | ||||
| 2 | Болт 3М16?1,5-6g?45 | 28 0545 | ||||
| 2 | Болт 3М16?1,5-6g?45 | 28 0545-20 | ||||
| 3 | Крышка | 313502-92-19 | ||||
| 4 | Стойка | 313502-92-270СП(SP) | ||||
| 4 | Стойка | 313502-92-270-20СП | ||||
| 5 | Стойка | 312501-92-260СП(SP) | ||||
| 5 | Стойка | 312501-92-260-20СП | ||||
| 6 | Втулка | 313502-92-9-01 | ||||
| 6 | Втулка | 313502-92-9-01-20 | ||||
| 7 | Кольцо | 313502-92-12 | ||||
| 8 | Втулка | 313502-92-11 | ||||
| 9 | Кольцо | 312501-92-28 | ||||
| 10 | Кольцо С180 ГОСТ 13941-86 | 58 0880 | ||||
| 11 | Боковина | 313502-92-570СП(SP) | ||||
| 11 | Боковина | 313502-92-570-20СП | ||||
| 12 | Втулка | 313502-92-14 | ||||
| 13 | Втулка | 313502-92-15 | ||||
| 14 | Боковина | 313502-92-560СП(SP) | ||||
| 14 | Боковина | 313502-92-560-20СП | ||||
| 15 | Подшипник 60220 ГОСТ 7242-81 | - | ||||
| 16 | Втулка | 312002-92-40 | ||||
| 18 | Ось | 313502-92-1-01 | ||||
| 18 | Ось | 313502-92-1-01-20 | ||||
| 19 | Стойка | 312501-92-26-01СП | ||||
| 19 | Стойка | 312501-92-260-01-20СП | ||||
| 20 | Шайба регулировочная | 312501-92-15 | ||||
| 21 | Кольцо С80 Ц9хр ГОСТ 13940-86 | 700-58-2122-01 | ||||
| 21 | Кольцо С80 Кд9хр ГОСТ 13940-86 | 700-58-2122-01-20 | ||||
| 22 | Ось | 312501-92-6 | ||||
| 22 | Ось | 312501-92-6-20 | ||||
| 23 | Ось | 313502-92-5 | ||||
| 23 | Ось | 313502-92-5-20 | ||||
| 24 | Шайба 12.ОТ | - | ||||
| 25 | Болт М12-6g?25 | - | ||||
| 26 | Ригель | 313502-92-7 | ||||
| 26 | Ригель | 313502-92-7-20 | ||||
| 27 | Втулка | 313502-92-25 | ||||
| 28 | Шайба | 312501-92-26 | ||||
| 29 | Болт 3М12-6g?30 | 28 0339 | ||||
| 29 | Болт 3М12-6g?30 | 28 0339-20 | ||||
| 30 | Блок | 313502-92-402 | ||||
| 30 | Блок | 313502-92-402-20 | ||||
| 31 | Блок | 313502-92-391 | ||||
| 31 | Блок | 313502-92-391-20 | ||||
| 32 | Ось | 313502-92-4 | ||||
| 32 | Ось | 313502-92-4-20 | ||||
| 33 | Крышка | 312501-92-27 | ||||
| 34 | Втулка | 313502-92-107-01 | ||||
| 35 | Кольцо | 312501-92-12 | ||||
| 36 | Ролик | 312501-92-290СП(SP) | ||||
| 37 | Шайба 20 | 31 0330 | ||||
| 37 | Шайба 20 | 31 0330-20 | ||||
| 38 | Палец | 313502-92-16 | ||||
| 39 | Шплинт 5?50 | - | ||||
| 40 | Стяжка | 313502-92-13 | ||||
| 40 | Стяжка | 313502-92-13-20 | ||||
| 41 | Клин | 312501-90-155 | ||||
| 41 | Клин | 312501-90-155-20 | ||||
| 42 | Канат | 313502-92-310СП(SP) | ||||
| 43 | Ригель | 313502-92-432 | ||||
| 44 | Палец | 313502-92-431 | ||||
| 44 | Палец | 313502-92-431-20 | ||||
| 45 | Масленка 1.2 Ц6хр | - | ||||
| 45 | Масленка 1.2 Кд6хр | - | ||||
| 46 | Крышка | 312002-92-136 | ||||
| 46 | Крышка | 312002-92-136-20 | ||||
| 47 | Палец* | - | ||||
| 48 | Шайба 12?2 | 31 0210 | ||||
| 48 | Шайба 12?2 | 31 0210-20 | ||||
| 49 | Шплинт 3,2?25* | - | ||||
| 50 | Ролик | 312002-92-33 | ||||
| 51 | Ось | 312002-92-29 | ||||
| 52 | Шайба | 31 5390 | ||||
| 53 | Шплинт 4?36 | - | ||||
| 54 | Серьга | 312002-92-23СП(SP) | ||||
| 54 | Серьга | 312002-92-23-20СП | ||||
| 55 | Канат | 313502-92-310-01СП | ||||
| 56 | Ось | 312002-92-28 | ||||
| 57 | Датчик усилия цифровой (ДУЦ)* ЛГФИ.404176.023-06 (из комплекта ОНК-160С-07 ЛГФИ.408844.026ТУ) | - | ||||
| 58 | Стяжка | 313512-92-25СП(SP) | ||||
| 59 | Гайка М16?1,5 | 30 0275 | ||||
| 59 | Гайка М16?1,5 | 30 0275-20 | ||||
| 60 | Качалка | 312002-92-22-01СП | ||||
| 60 | Качалка | 312002-92-22-01-20СП | ||||
| 61 | Болт М16?1,5-6g?45 | 28 0544 | ||||
| 61 | Болт М16?1,5-6g?45 | 28 0544-20 | ||||
| 62 | Шайба 16.ОТ | - | ||||
| 63 | Болт М12?1,25-6g?40 | - | ||||
| 64 | Гайка М12?1,25 | 300220 | ||||
| 64 | Гайка М12?1,25 | 300220-20 | ||||
| 65 | Упор | 312002-92-44 | ||||
Обращаем Ваше внимание, что пункты отмеченные звездочкой, обязательны для заполнения.