| ||||||
| № п/п | Наименование | Код детали | ||||
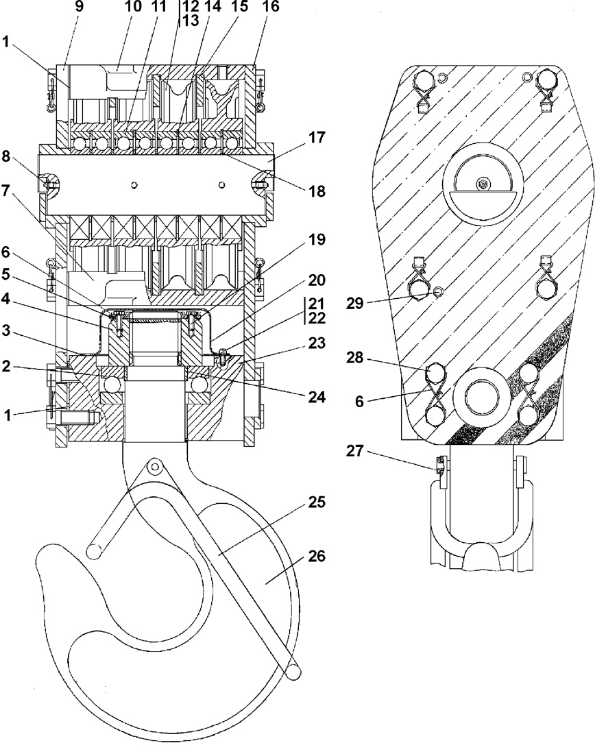
| 0 | Подвеска крюка | 313502-92-390СП | ||||
| 0 | Подвеска крюка | 313502-92-390-20СП | ||||
| 1 | Прокладка | 313502-92-406 | ||||
| 2 | Подшипник 8322 ГОСТ 7872-89 | - | ||||
| 3 | Прокладка | 45 0245 | ||||
| 3 | Прокладка | 45 0245-20 | ||||
| 4 | Гайка | 313502-92-397 | ||||
| 5 | Планка | 313502-92-401 | ||||
| 6 | Проволока 1,6-0-С ГОСТ 382-74 | - | ||||
| 7 | Проставка | 313502-92-395 | ||||
| 7 | Проставка | 313502-92-395-20 | ||||
| 8 | Масленка 1.2Ц6Хр | - | ||||
| 8 | Масленка 1.2Кд6Хр | - | ||||
| 9 | Боковина | 313502-92-410СП(SP) | ||||
| 9 | Боковина | 313502-92-410-20СП | ||||
| 10 | Проставка | 313502-92-395-01 | ||||
| 10 | Проставка | 313502-92-395-01-20 | ||||
| 11 | Подшипник 60220 ГОСТ 7242-81 | - | ||||
| 12 | Блок (допускается замена на поз. 13) | 313502-92-391 | ||||
| 12 | Блок | 313502-92-391-20 | ||||
| 13 | Блок (допускается замена на поз. 12) | 313502-92-402 | ||||
| 13 | Блок | 313502-92-402-20 | ||||
| 14 | Кольцо С180 ГОСТ 13941-86 | 58 0880 | ||||
| 15 | Диск | 313502-92-396 | ||||
| 16 | Боковина | 313502-92-410-01СП | ||||
| 16 | Боковина | 313502-92-510-01-20СП | ||||
| 17 | Ось | 313502-92-392 | ||||
| 18 | Кольцо | 312501-92-28 | ||||
| 19 | Болт 3М10-6g?25 ГОСТ 7798-70 | 28 0231 | ||||
| 20 | Колпак | 313502-92-399 | ||||
| 20 | Колпак | 313502-92-399-20 | ||||
| 21 | Винт В.М8-6g?18 ГОСТ 17473-80 | - | ||||
| 22 | Шайба 8Т ГОСТ 6402-70 | - | ||||
| 23 | Траверса | 313502-92-394 | ||||
| 23 | Траверса | 313502-92-394-20 | ||||
| 24 | Втулка | 313502-92-398 | ||||
| 25 | Скоба | 313502-92-420СП(SP) | ||||
| 25 | Скоба | 313502-92-420-20СП | ||||
| 26 | Крюк | 313502-92-393 | ||||
| 27 | Штифт | 32 5472 | ||||
| 28 | Болт 3М24-6g?2-60 | 28 0823 | ||||
| 28 | Болт 3М24-6g?2-60 | 28 0823-20 | ||||
| 29 | Штифт | 32 0450 | ||||
Обращаем Ваше внимание, что пункты отмеченные звездочкой, обязательны для заполнения.