| ||||||
| № п/п | Наименование | Код детали | ||||
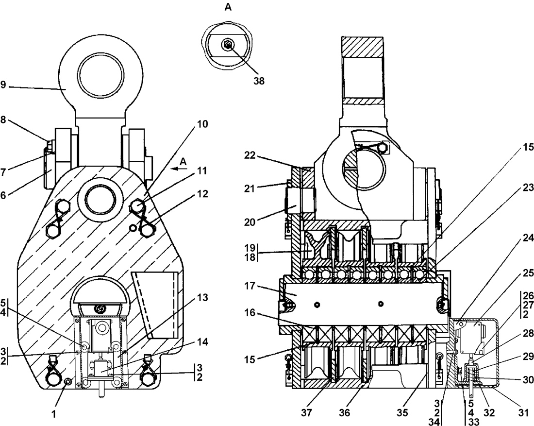
| 0 | Обойма подвесная | 313502-92-430СП(SP) | ||||
| 0 | Обойма подвесная | 313502-92-430-20СП | ||||
| 1 | Штифт | 32 0450 | ||||
| 2 | Шайба 5 | - | ||||
| 3 | Винт ВМ5-6g?12 ГОСТ 17473-80 | - | ||||
| 4 | Шайба 8Т | - | ||||
| 5 | Болт М8-6g?20 | - | ||||
| 6 | Палец | 313502-92-431 | ||||
| 7 | Ригель | 313502-92-432 | ||||
| 8 | Болт 3M16?1,5-6g?45 | 28 0545 | ||||
| 8 | Болт 3M16?1,5-6g?45 | 28 0545-20 | ||||
| 9 | Серьга | 313502-92-435 | ||||
| 9 | Серьга | 313502-92-435-20 | ||||
| 10 | Боковина | 313502-92-450СП(SP) | ||||
| 10 | Боковина | 313502-92-450-20СП | ||||
| 11 | Болт 3M24?2-6g?60 | 28 0823 | ||||
| 11 | Болт 3M24?2-6g?60 | 28 0823-20 | ||||
| 12 | Проволока 1,6-0-S ГОСТ 3282-74 | - | ||||
| 13 | Плита | 312001-92-51 | ||||
| 13 | Плита | 312001-92-51-20 | ||||
| 14 | Стакан | 312001-92-53 | ||||
| 15 | Кольцо С180 ГОСТ 13941-86 | 58 0880 | ||||
| 16 | Блок (допускается замена на деталь поз.18) | 313502-92-391 | ||||
| 16 | Блок | 313502-92-391-20 | ||||
| 16 | Кольцо | 312501-92-28 | ||||
| 17 | Ось | 313502-92-392 | ||||
| 18 | Блок (допускается замена на деталь поз. 19) | 313502-92-402 | ||||
| 18 | То же | 313502-92-402-20 | ||||
| 20 | Палец | 313502-92-434 | ||||
| 21 | Боковина | 313502-92-440СП(SP) | ||||
| 21 | Боковина | 313502-92-440-20СП | ||||
| 22 | Кронштейн | 313502-92-460СП(SP) | ||||
| 22 | Кронштейн | 313502-92-460-20СП | ||||
| 23 | Подшипник 60220 ГОСТ 7242-89 | - | ||||
| 24 | Уголок | 311102-92-40 | ||||
| 25 | Выключатель ВПК210БУХЛ2 | - | ||||
| 25 | Выключатель ВПК2110 БТ2 экспорт | - | ||||
| 26 | Винт | 35 0380 | ||||
| 26 | Винт | 35 0380-20 | ||||
| 27 | Гайка М5 ГОСТ 5927-70 | - | ||||
| 28 | Стяжка | 312001-92-54 | ||||
| 29 | Пружина | 38 5211 | ||||
| 30 | Втулка | 312001-92-55 | ||||
| 31 | Кожух | 311102-92-39 | ||||
| 31 | Кожух | 311102-92-39-20 | ||||
| 32 | Кронштейн | 312001-92-52 | ||||
| 33 | Шайба 8 | 31 0150 | ||||
| 33 | Шайба 8 | 31 0150-20 | ||||
| 34 | Шайба 5 | 31 0080 | ||||
| 34 | Шайба 5 | 31 0080-20 | ||||
| 35 | Прокладка | 313502-92-406 | ||||
| 36 | Проставка | 313502-92-395 | ||||
| 36 | Проставка | 313502-92-395-20 | ||||
| 37 | Диск | 313502-92-396 | ||||
| 38 | Масленка 1.2Ц 6 ГОСТ 19853-74 | - | ||||
| 38 | Масленка 1.2Kд6xp ГОСТ 19853-74 | - | ||||
Обращаем Ваше внимание, что пункты отмеченные звездочкой, обязательны для заполнения.