| ||||||
| № п/п | Наименование | Код детали | ||||
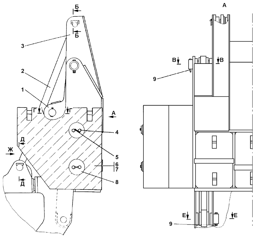
| 0 | Установка противовеса | 313502-93-1СП(SP) | ||||
| 0 | Установка противовеса | 313502-93-1-20СП(SP) | ||||
| 1 | Тяга | 313502-93-100СП(SP) | ||||
| 1 | Тяга | 313502-93-100-20СП | ||||
| 2 | Тяга | 312501-93-140СП(SP) | ||||
| 2 | Тяга | 312501-93-140-20СП | ||||
| 3 | Противовес | 313502-93-20СП(SP) | ||||
| 3 | Противовес | 313502-93-20-20СП | ||||
| 4 | Болт | 28 5943-01 | ||||
| 4 | Болт | 28 5943-01-20 | ||||
| 5 | Проволока 1,6-0-С ГОСТ 3282-74 | - | ||||
| 6 | Груз | 312501-93-80СП(SP) | ||||
| 6 | Груз | 312501-93-80-20СП | ||||
| 7 | Груз | 312501-93-80-01СП | ||||
| 7 | Груз | 312501-93-80-01-20СП | ||||
| 8 | Шайба | 312501-93-11 | ||||
| 8 | Шайба | 312501-93-11-20 | ||||
| 9 | Гайка M20?1,5 | 30 0310 | ||||
| 9 | Гайка M20?1,5 | 30 0310-20 | ||||
Обращаем Ваше внимание, что пункты отмеченные звездочкой, обязательны для заполнения.