| ||||||
| № п/п | Наименование | Код детали | ||||
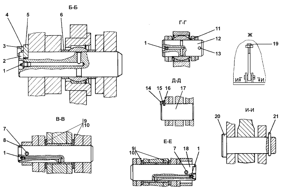
| 1 | Масленка 1.2. Ц6xp | - | ||||
| 1 | Масленка 1.2кд6хр | - | ||||
| 2 | Палец | 312501-93-1 | ||||
| 2 | Палец | 312501-93-1-20 | ||||
| 3 | Болт M16-6g?45 | - | ||||
| 4 | Шайба 16.OT | - | ||||
| 5 | Ригель | 312501-93-9 | ||||
| 5 | Ригель | 312501-93-9-20 | ||||
| 6 | Втулка | 312001-26-45 | ||||
| 6 | Втулка | 312001-26-45-20 | ||||
| 7 | Болт M20?1,5-6g?170 | 28 0770 | ||||
| 7 | БолтM20?1,5-6g?170 | 28 0770-20 | ||||
| 8 | Ось | 312501-93-2 | ||||
| 8 | Ось | 312501-93-2-20 | ||||
| 9 | Прокладка | 312501-94-134-01 | ||||
| 10 | Шайба регулировочная | 313502-93-1 | ||||
| 11 | Кольцо | 312501-93-6 | ||||
| 12 | Палец | 312501-93-3 | ||||
| 12 | Палец | 312501-93-3-20 | ||||
| 13 | Шплинт | 33 5900 | ||||
| 14 | Болт M12?1,25-6g?35 | - | ||||
| 15 | Шайба 12.OT | - | ||||
| 16 | Пластина | 312501-94-103 | ||||
| 16 | Пластина | 312501-94-103-20 | ||||
| 17 | Палец | 312501-94-102 | ||||
| 17 | Палец | 312501-94-102-20 | ||||
| 18 | Ось | 312501-93-2-01 | ||||
| 18 | Ось | 312501-93-2-01-20 | ||||
| 19 | Гайка M30?2 | 30 0411 | ||||
| 19 | Гайка M30?2 | 30 0411-20 | ||||
| 20 | Палец | 312501-93-4 | ||||
| 20 | Палец | 312501-93-4-20 | ||||
| 21 | Шплинт 6,3?63 ГОСТ 397-79 | - | ||||
Обращаем Ваше внимание, что пункты отмеченные звездочкой, обязательны для заполнения.