| ||||||
| № п/п | Наименование | Код детали | ||||
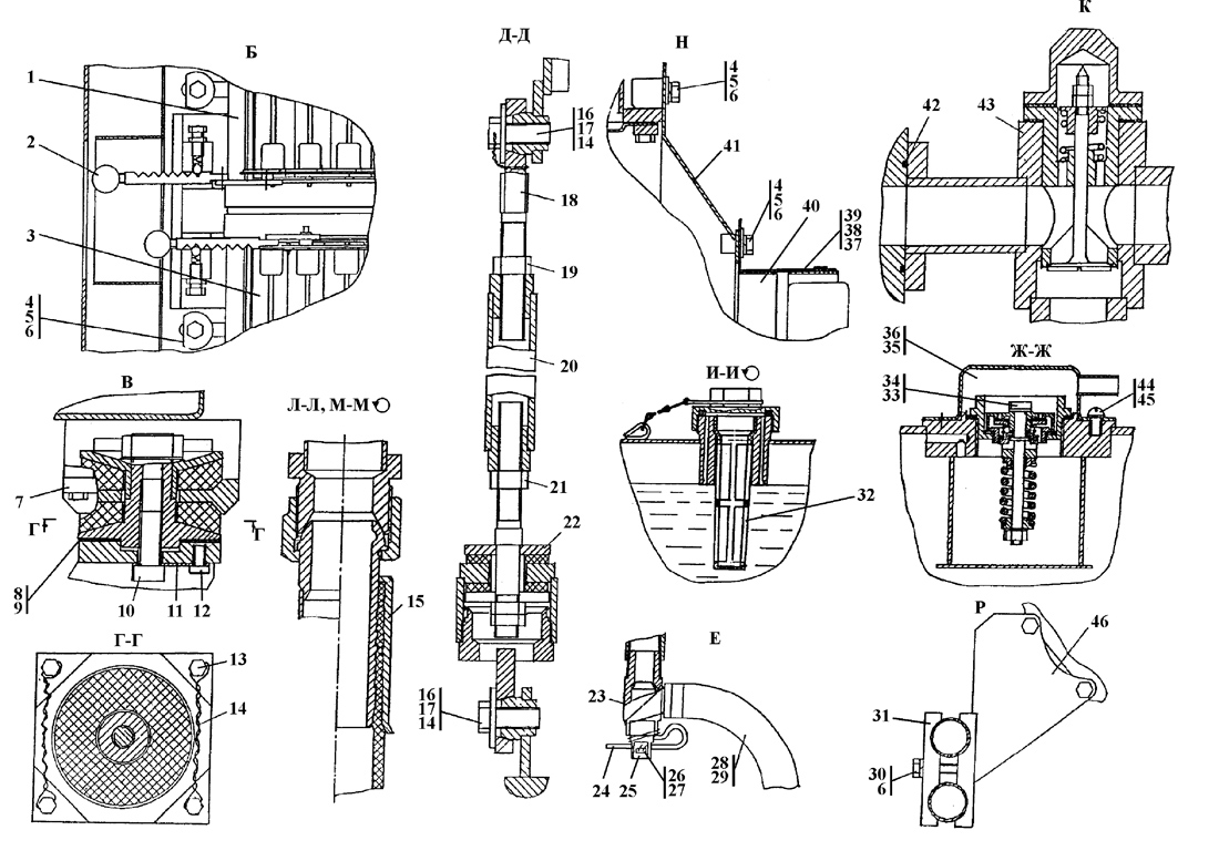
| 1 | Жалюзи | 3501-60-146СП(SP) | ||||
| 2 | Рукоятка | 46-23-133 | ||||
| 3 | Жалюзи | 3501-60-147СП(SP) | ||||
| 4 | Шайба | 46-11-476 | ||||
| 4 | Шайба | 46-11-476-20 | ||||
| 5 | Болт М12?1,25-6g?30 | - | ||||
| 6 | Шайба 12.ОТ | - | ||||
| 7 | Опора | 2501-60-157СП(SP) | ||||
| 7 | Опора | 2501-60-157-20СП(SP) | ||||
| 8 | Прокладка | 25-01-5 | ||||
| 9 | Прокладка | 25-01-6 | ||||
| 10 | Болт 3М24?2-6g?55 | 28 0820 | ||||
| 10 | Болт 3М24?2-6g?55 | 28 0820-20 | ||||
| 11 | Пластина | 2501-60-215 | ||||
| 11 | Пластина | 2501-60-215-20 | ||||
| 12 | Болт М12?1,25-6g?20 | 28 0320 | ||||
| 12 | Болт М12?1,25-6g?20 | 28 0320-20 | ||||
| 13 | Болт | 28 5355 | ||||
| 13 | Болт | 28 5355-20 | ||||
| 14 | Проволока КС1,0 ГОСТ 792-67 | - | ||||
| 15 | Рукав | 46-60-392-02СП(SP) | ||||
| 15 | Рукав | 46-60-392-02-20СП(SP) | ||||
| 16 | Болт 3М20?1,5-6g?40 | 28 0719 | ||||
| 16 | Болт 3М20?1,5-6g?40 | 28 0719-20 | ||||
| 17 | Шайба 20 | 31 0320 | ||||
| 17 | Шайба 20 | 31 0320-20 | ||||
| 18 | Опора | 3501-60-128-01СП(SP) | ||||
| 18 | Опора | 3501-60-128-01-20СП | ||||
| 19 | Гайка М24?2 | 30 0367 | ||||
| 19 | Гайка М24?2 | 30 0367-20 | ||||
| 20 | Муфта | 3501-60-127-02СП(SP) | ||||
| 20 | Муфта | 3501-60-127-02-20СП | ||||
| 21 | Гайка М24?2 | 30 0350-01 | ||||
| 21 | Гайка М24?2 | 30 0350-01-20 | ||||
| 22 | Головка | 2501-60-235СП(SP) | ||||
| 22 | Головка | 2501-60-235-20СП(SP) | ||||
| 23 | Корпус | 404-60-165СП(SP) | ||||
| 24 | Стопор | 2501-60-176 | ||||
| 24 | Стопор | 2501-60-176-20 | ||||
| 25 | Клапан | 404-60-165 | ||||
| 26 | Пломба 10 / 6,5 ТУ31-ЦТВР-04-89 | - | ||||
| 27 | Проволока 0,8-0-С ГОСТ 3282-74 | - | ||||
| 28 | Рукав | 46 0901-14 | ||||
| 28 | Рукав | 46 0901-14-20 | ||||
| 29 | Хомут стяжной червячный 1040-У-02 ПО 4.435.002ТУ | - | ||||
| 30 | Болт 3М20?1,5-6g?40 | 28 0365 | ||||
| 30 | Болт 3М20?1,5-6g?40 | 28 0365-20 | ||||
| 31 | Прижим | 404-60-292-01 | ||||
| 31 | Прижим | 404-60-292-01-20 | ||||
| 32 | Фильтр | 46-43-194СП(SP) | ||||
| 33 | Кольцо | 45 0134 | ||||
| 33 | Кольцо | 45 0134-20 | ||||
| 34 | Клапан паровоздушный | 404-60-137СП(SP) | ||||
| 34 | Клапан паровоздушный | 404-60-137-20СП(SP) | ||||
| 35 | Грибок (допускается замена на поз. 36) | 404-60-256СП(SP) | ||||
| 35 | Грибок | 404-60-256-20СП(SP) | ||||
| 36 | Грибок (допускается замена на поз. 35) | 404-60-166СП(SP) | ||||
| 36 | Грибок | 404-60-166-20СП(SP) | ||||
| 37 | Болт | 28 0160 | ||||
| 37 | Болт | 28 0160-20 | ||||
| 38 | Втулка | 46-60-600-10 | ||||
| 38 | Втулка | 46-60-600-20 | ||||
| 39 | Лента | 403-60-168СП(SP) | ||||
| 39 | Лента | 403-60-168-20СП(SP) | ||||
| 40 | Кожух | 3502-60-120СП(SP) | ||||
| 40 | Кожух | 3502-60-120-20СП | ||||
| 41 | Кожух | 313502-60-133СП(SP) | ||||
| 41 | Кожух | 313502-60-133-20СП | ||||
| 42 | Кольцо 050-055-30-2-3 ГОСТ 18829-73 | 25 3111 4118 | ||||
| 43 | Клапан | 2501-60-189-03СП(SP) | ||||
| 43 | Клапан | 2501-60-189-03-20СП | ||||
| 44 | Винт ВМ6-6g?8 | 35 0420 | ||||
| 44 | Винт ВМ6-6g?8 | 35 0420-20 | ||||
| 45 | Шайба 6Т | - | ||||
| 46 | Кронштейн | 3502-60-126СП(SP) | ||||
| 46 | Кронштейн | 3502-60-126-20СП(SP) | ||||
| 47 | Щиток | 313502-60-87-20 | ||||
Обращаем Ваше внимание, что пункты отмеченные звездочкой, обязательны для заполнения.