| ||||||
| № п/п | Наименование | Код детали | ||||
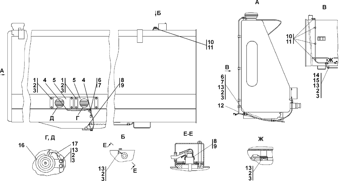
| 0 | Электрооборудование топливного бака | 313502-10-16СП | ||||
| 0 | Электрооборудование топливного бака | 313502-10-16-10СП | ||||
| 0 | Электрооборудование топливного бака | 313502-10-16-20СП | ||||
| 1 | Болт М8-6g?20 | - | ||||
| 2 | Шайба 8Т ГОСТ 6402-70 | - | ||||
| 3 | Шайба 8 | 31 0150 | ||||
| 3 | Шайба 8 | 31 0150-20 | ||||
| 4 | Кольцо | 700-40-6695 | ||||
| 5 | Кожух защитный | 3501-10-15 | ||||
| 5 | Кожух защитный | 3501-10-15-20 | ||||
| 6 | Хомутик | 41 5119 | ||||
| 7 | Прокладка | 700-40-6684-06 | ||||
| 8 | Колпачок (допускается замена на поз. 9) | 40 0195 | ||||
| 9 | Наконечник | 700-40-5607 | ||||
| 10 | Прокладка | 700-40-6684-07 | ||||
| 11 | Хомутик | 700-41-3310 | ||||
| 12 | Жгут | 313502-10-116СП(SP) | ||||
| 12 | Жгут | 313502-10-116-20СП | ||||
| 13 | Болт М8-6g?16 | - | ||||
| 14 | Прокладка | 700-40-6684-05 | ||||
| 15 | Хомутик | 700-41-2866 | ||||
| 16 | Сигнал С313 | 45 7374 2173 | ||||
| 16 | Сигнал С313-Э | 45 7374 2174 | ||||
| 16 | Сигнал С313-Т | 45 7374 2175 | ||||
| 17 | Провод | 2501-10-129-22СП(SP) | ||||
| 17 | Провод | 2501-10-129-22-20СП | ||||
Обращаем Ваше внимание, что пункты отмеченные звездочкой, обязательны для заполнения.