| ||||||
| № п/п | Наименование | Код детали | ||||
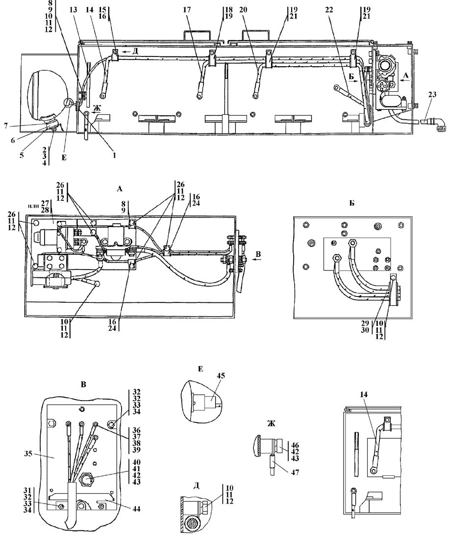
| 0 | Установка электрооборудования в контейнер АКБ | 2501-10-5-01СП(SP) | ||||
| 0 | Установка электрооборудования в контейнер АКБ | 2501-10-5-01-20СП(SP) | ||||
| 8 | Хомутик | 41 5045 | ||||
| 9 | Прокладка | 700-40-6684-08 | ||||
| 10 | Болт М8-6g?16 | - | ||||
| 11 | Шайба 8Т | - | ||||
| 12 | Шайба 8 | 31 0150 | ||||
| 12 | Шайба 8 | 31 0150-20 | ||||
| 14 | Провод | 2501-10-22-12СП(SP) | ||||
| 14 | Провод | 2501-10-22-12-20СП | ||||
| 15 | Прокладка | 700-40-6684-05 | ||||
| 16 | Хомутик | 700-41-2866 | ||||
| 17 | Провод | 2501-10-22-11СП(SP) | ||||
| 17 | Провод | 2501-10-22-11-20СП | ||||
| 18 | Хомутик | 58-41-2006-03 | ||||
| 19 | Прокладка | 700-40-6684-02 | ||||
| 20 | Провод | 2501-10-22-09СП(SP) | ||||
| 20 | Провод | 2501-10-22-09-20СП | ||||
| 21 | Хомутик | 700-41-3187 | ||||
| 22 | Провод | 2501-10-22-01СП(SP) | ||||
| 22 | Провод | 2501-10-22-01-20СП | ||||
| 23 | Жгут | 312505-10-111СП(SP) | ||||
| 23 | Жгут | 312505-10-111-20СП | ||||
| 24 | Прокладка | 700-40-6684-04 | ||||
| 26 | Болт М8-6g?30 | - | ||||
| 27 | Панель (допускается замена на поз.28) | 2501-10-171СП(SP) | ||||
| 27 | Панель | 2501-10-171-20СП(SP) | ||||
| 28 | Панель (допускается замена на поз. 27) | 2501-10-171-03СП(SP) | ||||
| 28 | Панель | 2501-10-171-03-10СП | ||||
| 28 | Панель | 2501-10-171-03-20СП | ||||
| 29 | Прокладка | 700-40-6684-01 | ||||
| 30 | Хомутик | 700-41-3185 | ||||
| 31 | Болт М6-6g?16 ГОСТ 7798-70 | - | ||||
| 32 | Гайка М6 ГОСТ 5915-70 | - | ||||
| 33 | Шайба 6Т | - | ||||
| 34 | Шайба 6 | 31 0110 | ||||
| 34 | Шайба 6 | 31 0110-20 | ||||
| 35 | Плата | 50 0057 | ||||
| 35 | Плата | 50 0057-20 | ||||
| 36 | Шпилька | 29 5010 | ||||
| 36 | Шпилька | 29 5010-20 | ||||
| 37 | Гайка М5 | - | ||||
| 38 | Шайба 5 | - | ||||
| 39 | Шайба 5 | 31 0080 | ||||
| 39 | Шайба 5 | 31 0080-20 | ||||
| 40 | Шпилька | 404-10-16 | ||||
| 40 | Шпилька | 404-10-16-20 | ||||
| 41 | Гайка М12 | - | ||||
| 42 | Шайба 12.ОТ | - | ||||
| 43 | Шайба 12?2 | 31 0210 | ||||
| 43 | Шайба 12?2 | 31 0210-20 | ||||
| 44 | Зажим | 404-10-22 | ||||
| 44 | Зажим | 404-10-22-20 | ||||
| 46 | Болт М12?1,25-6g?20 | 28 0320 | ||||
| 46 | Болт М12?1,25-6g?20 | 28 0320-20 | ||||
| 47 | Провод | 2702-10-167СП(SP) | ||||
| 47 | Провод | 2702-10-167-20СП(SP) | ||||
Обращаем Ваше внимание, что пункты отмеченные звездочкой, обязательны для заполнения.