| ||||||
| № п/п | Наименование | Код детали | ||||
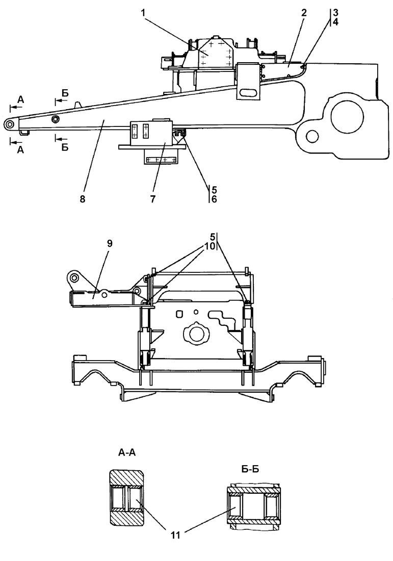
| 0 | Рама | 313502-11-2СП(SP) | ||||
| 0 | Рама | 313502-11-2-20СП(SP) | ||||
| 0 | Рама1* | 313502-11-2СП(SP) | ||||
| 0 | Рама | 313502-11-2-20СП(SP) | ||||
| 0 | Рама2* | 313502-11-2-01СП(SP) | ||||
| 0 | Рама | 313502-11-2-01-20СП | ||||
| 0 | Рама3* | 313502-11-2-03СП(SP) | ||||
| 0 | Рама | 313502-11-2-03-20СП | ||||
| 0 | Рама4* | 313502-11-2-04СП(SP) | ||||
| 0 | Рама | 313502-11-2-04-20СП | ||||
| 1 | Распорка | 313502-11-22СП(SP) | ||||
| 1 | Распорка | 313502-11-22-20СП | ||||
| 2 | Лист | 313502-11-36 | ||||
| 3 | Болт М16?1,5-6g?30 | 28 0520 | ||||
| 3 | Болт М16?1,5-6g?30 | 28 0520-20 | ||||
| 4 | Шайба 16.ОТ ГОСТ 6402-70 | - | ||||
| 5 | Шайба | 700-31-2522 | ||||
| 5 | Шайба | 700-31-2522-20 | ||||
| 6 | Болт М30?2-6g?110 | 28 0950 | ||||
| 6 | Болт М30?2-6g?110 | 28 0950-20 | ||||
| 7 | Балка | TT3501-11-14СП(SP) | ||||
| 8 | Корпус с лонжеронами | 313502-11-21СП(SP) | ||||
| 8 | Корпус с лонжеронами | 313502-11-21-20СП | ||||
| 8 | Корпус с лонжеро-нами1* | 313502-11-21-01СП | ||||
| 8 | Корпус с лонжеронами | 313502-11-21-01-20СП | ||||
| 8 | Корпус с лонжеронами2* | 313502-11-21-02СП | ||||
| 8 | Корпус с лонжеронами | 313502-11-21-02-20СП | ||||
| 8 | Корпус с лонжеронами3* | 313502-11-21-04СП | ||||
| 8 | Корпус с лонжеронами | 313502-11-21-04-20СП | ||||
| 8 | Корпус с лонжеронами4* | 313502-11-21-05СП | ||||
| 8 | Корпус с лонжеронами | 313502-11-21-05-20СП | ||||
| 9 | Платформа | 313502-11-19СП(SP) | ||||
| 9 | Платформа | 313502-11-19-20СП | ||||
| 10 | Болт М30х2-6gх80 | 28 0930 | ||||
| 10 | Болт М30х2-6gх80 | 28 0930-20 | ||||
| 11 | Втулка | 403-11-182 | ||||
Обращаем Ваше внимание, что пункты отмеченные звездочкой, обязательны для заполнения.