| ||||||
| № п/п | Наименование | Код детали | ||||
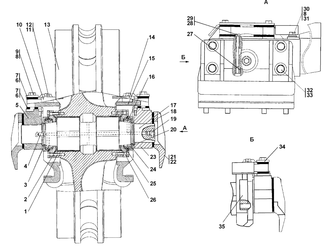
| 0 | Колесо натяжное* | 3501-21-15СП | ||||
| 0 | Колесо натяжное | 3501-21-15-20СП | ||||
| 0 | Колесо натяжное** | 3501-21-15-01СП | ||||
| 0 | Колесо натяжное | 3501-21-15-01-20СП | ||||
| 1 | Ось | 3501-21-19** | ||||
| 1 | Болт | 3501-21-85 | ||||
| 1 | Болт | 3501-21-85-20 | ||||
| 2 | Кольцо 145-150-36-2-51-1668 | - | ||||
| 3 | Кольцо 088-095-46-2-51-1668 | - | ||||
| 4 | Штифт | 32 5335 | ||||
| 4 | Штифт | 32 5335-20 | ||||
| 5 | Ползун | 403-21-310 | ||||
| 5 | Ползун | 403-21-310-20 | ||||
| 6 | Прокладка | 403-21-131-01 | ||||
| 7 | Прокладка | 403-21-131 | ||||
| 8 | Шайба 20 ОТ | - | ||||
| 9 | Болт | 28 5786 | ||||
| 9 | Болт | 28 5786-20 | ||||
| 10 | Щиток | 403-21-130 | ||||
| 10 | Щиток | 403-21-130-20 | ||||
| 11 | Шайба 16 ОТ | - | ||||
| 12 | Болт М16?1,5-6g?45 | 28 0544 | ||||
| 12 | Болт М16?1,5-6g?45 | 28 0544-20 | ||||
| 13 | Колесо натяжное | 3501-21-62СП(SP) | ||||
| 13 | Колесо натяжное | 3501-21-62-20СП(SP) | ||||
| 14 | Щиток | 403-21-130-01 | ||||
| 14 | Щиток | 403-21-130-01-20 | ||||
| 15 | Захват | 403-21-65СП(SP) | ||||
| 15 | Захват | 403-21-65-20СП(SP) | ||||
| 16 | Кольцо уплотнительное | 401-21-142 | ||||
| 17 | Ось | 3501-21-18* | ||||
| 18 | Крышка | 403-21-108 | ||||
| 18 | Крышка | 403-21-108-20 | ||||
| 19 | Пробка | 37 5509 | ||||
| 19 | Пробка | 37 5509-20 | ||||
| 20 | Кольцо | 58 5720 | ||||
| 21 | Прокладка | 403-21-132 | ||||
| 22 | Прокладка | 403-21-132-01 | ||||
| 23 | Ползун | 403-21-311 | ||||
| 23 | Ползун | 403-21-311-20 | ||||
| 24 | Крышка | 403-21-306 | ||||
| 25 | Кольцо упругое | 401-21-143 | ||||
| 26 | Фланец | 3501-21-75СП(SP) | ||||
| 27 | Клин | 403-21-128 | ||||
| 28 | Шайба 12 ОТ | - | ||||
| 29 | Болт М12?1,25-6g?140 | 28 0390 | ||||
| 29 | Болт М12?1,25-6g?140 | 28 0390-20 | ||||
| 30 | Болт | 28 5780 | ||||
| 30 | Болт | 28 5780-20 | ||||
| 31 | Шайба 20?4 | 31 0310 | ||||
| 31 | Шайба 20?4 | 31 0310-20 | ||||
| 32 | Болт М24?2-6g?170 | 28 0892 | ||||
| 32 | Болт М24?2-6g?170 | 28 0892-20 | ||||
| 33 | Шайба 24Т | - | ||||
| 34 | Планка | 403-21-129 | ||||
| 34 | Планка | 403-21-129-20 | ||||
| 35 | Планка | 403-21-134 | ||||
Обращаем Ваше внимание, что пункты отмеченные звездочкой, обязательны для заполнения.