| ||||||
| № п/п | Наименование | Код детали | ||||
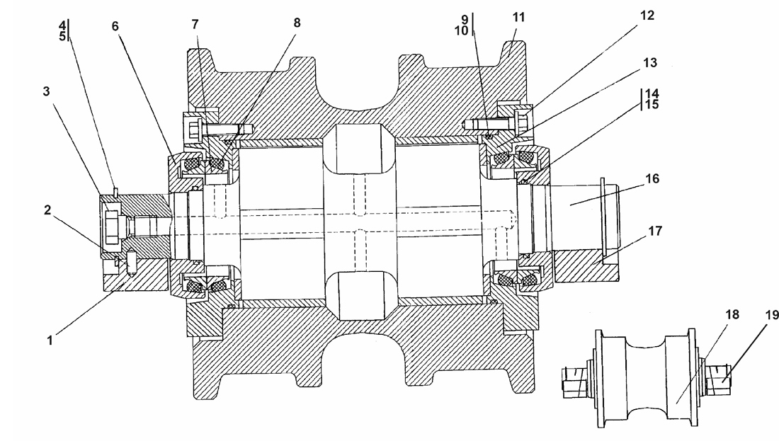
| 0 | Каток опорный | Т35-21-001СП* | ||||
| 0 | Каток опорный | Т35-21-001-20СП | ||||
| 0 | Каток опорный | Т35-21-001-01СП** | ||||
| 0 | Каток опорный | Т35-21-001-01-20СП | ||||
| 1 | Крышка | Т35-21-316-01 | ||||
| 2 | Штифт | 32 5380 | ||||
| 3 | Пробка | 37 5509 | ||||
| 3 | Пробка | 37 5509-20 | ||||
| 4 | Кольцо (доп. зам. на поз.5) | 700-58-2122 | ||||
| 5 | Кольцо С80 ГОСТ 13940-86 (доп. замена на поз.4) | - | ||||
| 6 | Крышка | Т35-21-309 | ||||
| 7 | Кольцо уплотнительное | 401-21-142 | ||||
| 8 | Кольцо упругое | 401-21-143 | ||||
| 9 | Кольцо 145-150-36-2-3 (доп. замена на поз.10) | - | ||||
| 10 | Кольцо 145-150-36-2-51-1668 (доп. замена на поз.9) | - | ||||
| 11 | Каток | 3501-21-48СП*(SP*) | ||||
| 11 | Каток | 3501-21-48-20СП(SP) | ||||
| 12 | Болт | 3501-21-85 | ||||
| 12 | Болт | 3501-21-85-20 | ||||
| 13 | Фланец | 3501-21-75СП(SP) | ||||
| 14 | Кольцо 090-095-30-2-3 (доп. замена на поз.15) | - | ||||
| 15 | Кольцо 090-095-30-2-51-1668 (доп. замена на поз.14) | - | ||||
| 16 | Ось | Т35-21-308 | ||||
| 17 | Крышка | Т35-21-316 | ||||
| 18 | Каток | 3501-21-48-01СП** | ||||
| 18 | Каток | 3501-21-48-01-20СП | ||||
| 19 | Проволока КС-1,0 ГОСТ792-67 | - | ||||
Обращаем Ваше внимание, что пункты отмеченные звездочкой, обязательны для заполнения.