| ||||||
| № п/п | Наименование | Код детали | ||||
| 0 | Каток поддерживающий | 403-21-15СП(SP) | ||||
| 0 | Каток поддерживающий | 403-21-15-20СП(SP) | ||||
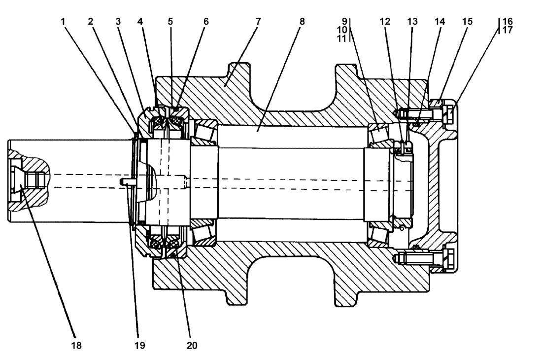
| 0 | Каток поддерживающий (состоит из узлов и деталей поз.1-20) | 403-21-140СП(SP) | ||||
| 0 | Каток поддерживающий (состоит из узлов и деталей поз.1-20) | 403-21-140-20СП(SP) | ||||
| 1 | Кольцо С90 ГОСТ 13940-86 | 58 0705 | ||||
| 2 | Кольцо 080-090-58-2-3 ГОСТ 18829-73 | - | ||||
| 3 | Крышка | 403-21-121 | ||||
| 4 | Кольцо уплотнительное | 401-21-142 | ||||
| 5 | Корпус уплотнения | 403-21-120 | ||||
| 6 | Кольцо 150-155-36-2-51-1688 | - | ||||
| 7 | Каток | 403-21-54СП(SP) | ||||
| 8 | Ось | 403-21-119 | ||||
| 9 | Подшипник 7215 (допускается замена на поз.10 или 11) | - | ||||
| 10 | Подшипник 7215А (допускается замена на поз. 9 или 11) | - | ||||
| 11 | Подшипник 7215К1 (допускается замена на поз. 9, 10) | - | ||||
| 12 | Кольцо стопорное | 403-21-125 | ||||
| 13 | Гайка | 403-21-124 | ||||
| 14 | Кольцо 122-130-46-2-51-1668 | - | ||||
| 15 | Крышка | 403-21-123 | ||||
| 16 | Болт М12х1,25-6gх40 ГОСТ 7796-70 | - | ||||
| 17 | Шайба 12 ОТ ГОСТ 6402-70 | - | ||||
| 18 | Пробка | 37 5509 | ||||
| 18 | Пробка | 37 5509-20 | ||||
| 19 | Штифт | 32 5280 | ||||
| 20 | Кольцо упругое | 401-21-143 | ||||
Обращаем Ваше внимание, что пункты отмеченные звездочкой, обязательны для заполнения.