| ||||||
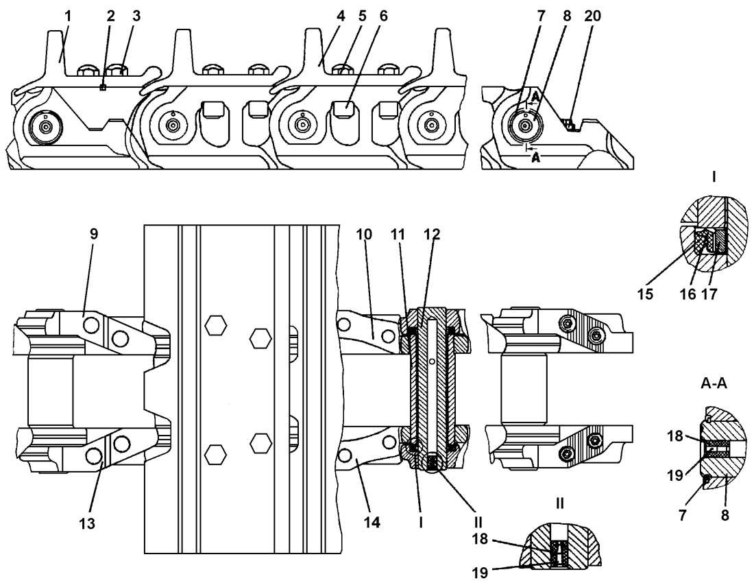
| № п/п | Наименование | Код детали | ||||
| 0 | Гусеница | 3501-22-1-05СП(SP) | ||||
| 0 | Уплотнение (состоит из деталей поз.15, 16) | 403-22-100СП(SP) | ||||
| 1 | Башмак | 405-22-2 | ||||
| 2 | Шпонка 2-10?8?50 ГОСТ 23360-78 | 700-34-2062 | ||||
| 3 | Болт | 28 5905 | ||||
| 4 | Башмак | 405-22-1 | ||||
| 5 | Болт | 28 5906 | ||||
| 6 | Гайка | 30 5370-01 | ||||
| 7 | Кольцо | 58 5520 | ||||
| 8 | Палец замыкающий | 403-22-16 | ||||
| 9 | Звено замыкающее | 3501-22-18СП(SP) | ||||
| 10 | Звено | 3501-22-1 | ||||
| 11 | Втулка | 403-22-9 | ||||
| 12 | Палец | 403-22-10 | ||||
| 13 | Звено замыкающее | 3501-22-19СП(SP) | ||||
| 14 | Звено | 3501-22-2 | ||||
| 15 | Кольцо нажимное | 40 0130 | ||||
| 16 | Кольцо уплотнительное | 403-22-11СП(SP) | ||||
| 17 | Втулка распорная | 403-22-11 | ||||
| 18 | Пробка | 40 0128 | ||||
| 19 | Заглушка | 44 0017 | ||||
| 20 | Заглушка | 44 0066 | ||||
Обращаем Ваше внимание, что пункты отмеченные звездочкой, обязательны для заполнения.