| ||||||
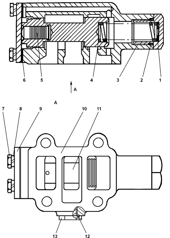
| № п/п | Наименование | Код детали | ||||
| 0 | Клапан | 2501-15-138-01СП(SP) | ||||
| 0 | Клапан | 2501-15-138-01-20СП(SP) | ||||
| 1 | Шайба | 31 5180 | ||||
| 2 | Кольцо 026-032-36-2-51-1668 | - | ||||
| 3 | Пробка | 2501-15-127-01 | ||||
| 4 | Пружина | 38 5487-01 | ||||
| 5 | Клапан | 47-15-19 | ||||
| 6 | Прокладка | 45 0161 | ||||
| 7 | Болт М8-6g?20 ГОСТ 7796-70 | - | ||||
| 8 | Шайба 8Т ГОСТ 6402-70 | - | ||||
| 9 | Крышка | 405-15-35 | ||||
| 10 | Корпус | 2501-15-122 | ||||
| 10 | Корпус | 2501-15-122-20СП(SP) | ||||
| 11 | Золотник | 2501-15-125 | ||||
| 12 | Кольцо 018-022-25-2-51-1668 | - | ||||
| 13 | Пробка | 37 5331 | ||||
| 13 | Пробка | 37 5331-20 | ||||
Обращаем Ваше внимание, что пункты отмеченные звездочкой, обязательны для заполнения.