| ||||||
| № п/п | Наименование | Код детали | ||||
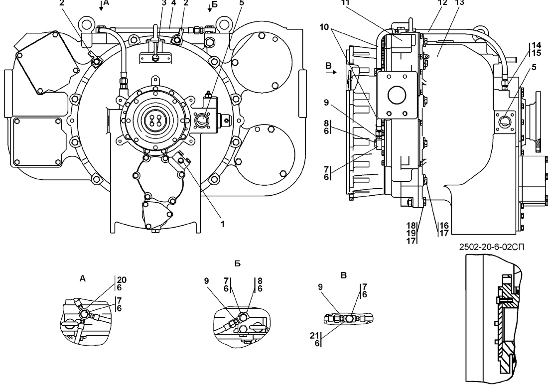
| 0 | Установка редуктора привода насосов* | 2502-20-6СП(SP) | ||||
| 0 | Установка редуктора привода насосов | 2502-20-6-20СП(SP) | ||||
| 0 | Установка редуктора привода насосов** | 2502-20-6-02СП(SP) | ||||
| 0 | Установка редуктора привода насосов | 2502-20-6-02-20СП(SP) | ||||
| 2 | Угольник | 401-10-1 | ||||
| 2 | Угольник | 401-10-1-20 | ||||
| 3 | Пробка | 44 0093 | ||||
| 4 | Рукав | 2501-20-113-01СП(SP) | ||||
| 4 | Рукав | 2501-20-113-01-20СП | ||||
| 5 | Пробка | 44 0006 | ||||
| 6 | Кольцо 018-022-25-2-51-1668 ТУ2531-260-00149245-00 | - | ||||
| 7 | Болт зажимной | 2501-20-8 | ||||
| 7 | Болт зажимной | 2501-20-8-20 | ||||
| 8 | Угольник | 2501-20-58 | ||||
| 9 | Штуцер | 2501-20-59 | ||||
| 9 | Штуцер | 2501-20-59-20 | ||||
| 10 | Рукав | 2501-20-113СП(SP) | ||||
| 10 | Рукав | 2501-20-113-20СП(SP) | ||||
| 11 | Редуктор привода насосов* | 2502-20-13СП(SP) | ||||
| 11 | Редуктор привода насосов | 2501-20-13-20СП(SP) | ||||
| 11 | Редуктор привода насосов** | 2502-20-13-02СП(SP) | ||||
| 11 | Редуктор привода насосов | 2501-20-13-02-20СП(SP) | ||||
| 12 | Рукав | 2501-20-113-02СП(SP) | ||||
| 12 | Рукав | 2501-20-113-02-20СП | ||||
| 13 | Гидротрансформатор | 2501-14-12СП(SP) | ||||
| 13 | Гидротрансформатор | 2501-14-12-20СП(SP) | ||||
| 14 | Штуцер | 46-18-65 | ||||
| 15 | Кольцо 12?16 МН 4152-62 | - | ||||
| 16 | Болт М16?6g?45 ГОСТ 7796-70 | - | ||||
| 17 | Шайба 16.ОТ ГОСТ 6402-70 | - | ||||
| 18 | Болт М16?1,5-6g?60 ГОСТ 7795-70 | - | ||||
| 19 | Гайка М16?1,5 | 30 5250 | ||||
| 19 | Гайка М16?1,5 | 30 5250-20 | ||||
| 20 | Угольник | 2501-20-57 | ||||
| 21 | Угольник | 2501-20-58-01 | ||||
Обращаем Ваше внимание, что пункты отмеченные звездочкой, обязательны для заполнения.