| ||||||
| № п/п | Наименование | Код детали | ||||
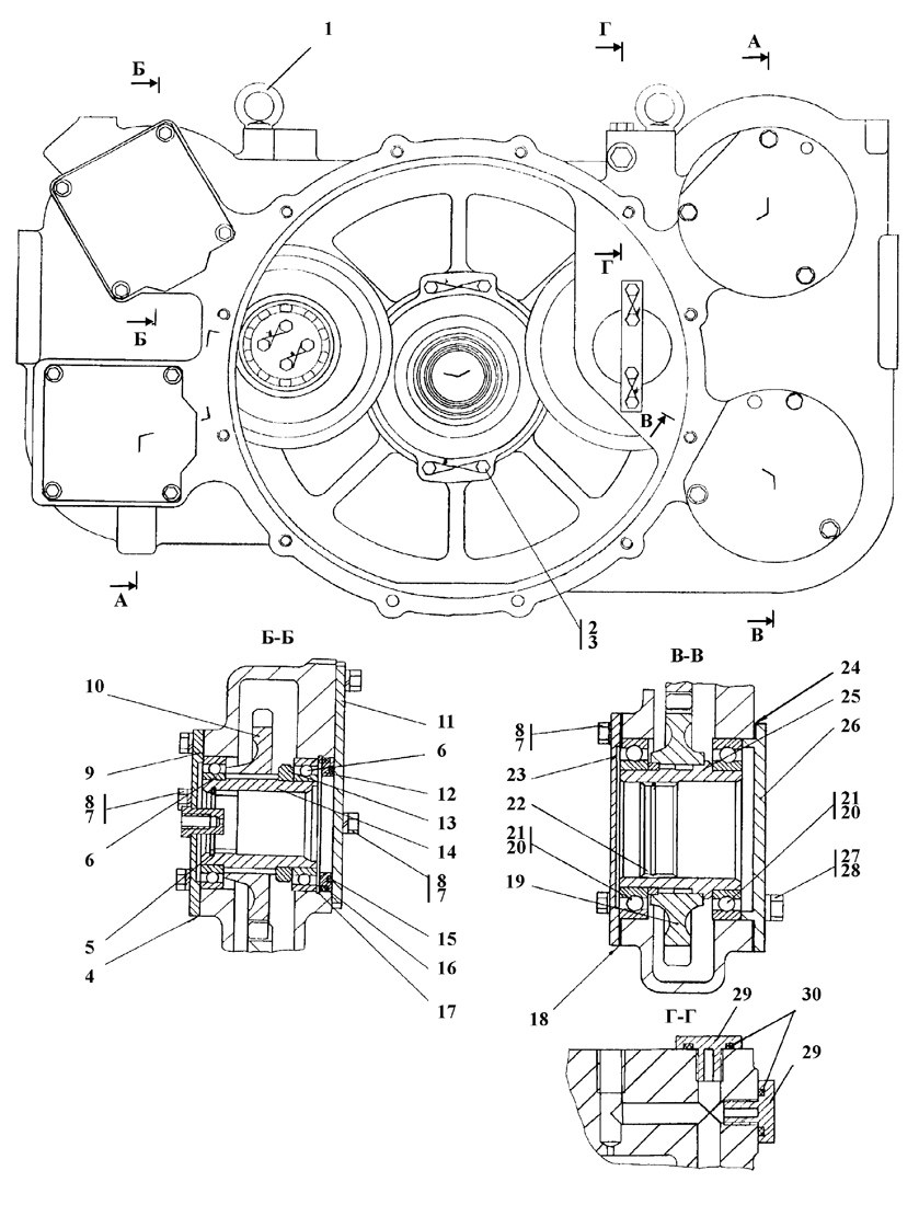
| 0 | Редуктор привода насосов* | 2502-20-13СП | ||||
| 0 | Редуктор привода насосов | 2502-20-13-20СП | ||||
| 0 | Редуктор привода насосов** | 2502-20-13-02СП | ||||
| 0 | Редуктор привода насосов | 2502-20-13-02-20СП | ||||
| 1 | Рым-болт М16 | 28 0590 | ||||
| 1 | Рым-болт М16 | 28 0590-20 | ||||
| 2 | Болт | 28 5330 | ||||
| 2 | Болт | 28 5330 | ||||
| 2 | Болт | 28 5330-20 | ||||
| 2 | Болт | 28 5330-20 | ||||
| 3 | Проволока 1,6-0-С ГОСТ 3282-74 | - | ||||
| 4 | Прокладка | 45 0104 | ||||
| 4 | Прокладка | 45 0104-20 | ||||
| 5 | Кольцо С58 | 700-58-2462 | ||||
| 6 | Подшипники 116А | - | ||||
| 7 | Шайба 12.ОТ | - | ||||
| 8 | Болт М12-6g?25 | - | ||||
| 9 | Крышка | 2501-20-108СП(SP) | ||||
| 9 | Крышка | 2501-20-108-20СП(SP) | ||||
| 10 | Шестерня | 2501-20-56 | ||||
| 11 | Крышка | 2501-20-33 | ||||
| 11 | Крышка | 2501-20-33-20 | ||||
| 12 | Втулка | 2501-20-51 | ||||
| 13 | Втулка | 2501-20-50 | ||||
| 14 | Ступица | 2501-20-49 | ||||
| 15 | Кольцо 100-110-58-2-ИРП 1314-1 | - | ||||
| 16 | Кольцо 115-125-58-2-51-1668 | - | ||||
| 17 | Кольцо С125 | 58 0818 | ||||
| 18 | Прокладка | 45 0103 | ||||
| 18 | Прокладка | 45 0103-20 | ||||
| 19 | Шестерня | 2501-20-103СП(SP) | ||||
| 20 | Подшипники 6022 (доп. зам. на поз.21) | - | ||||
| 21 | Подшипники 122 (доп. зам. на поз.20) | - | ||||
| 22 | Кольцо С85 | 58 0680 | ||||
| 23 | Крышка | 2501-20-32 | ||||
| 23 | Крышка | 2501-20-32-20 | ||||
| 24 | Прокладка | 50 0132 | ||||
| 25 | Ступица | 2501-20-20 | ||||
| 26 | Крышка | 404-20-8 | ||||
| 26 | Крышка | 404-20-8-20 | ||||
| 27 | Болт М16?1,5-6g?25 | 28 0515 | ||||
| 27 | Болт М16?1,5-6g?25 | 28 0515-20 | ||||
| 28 | Шайба 16.ОТ | - | ||||
| 29 | Пробка | 37 5330 | ||||
| 29 | Пробка | 37 5330-20 | ||||
| 30 | Кольцо 018-022-25-51-1668 | - | ||||
Обращаем Ваше внимание, что пункты отмеченные звездочкой, обязательны для заполнения.