| ||||||
| № п/п | Наименование | Код детали | ||||
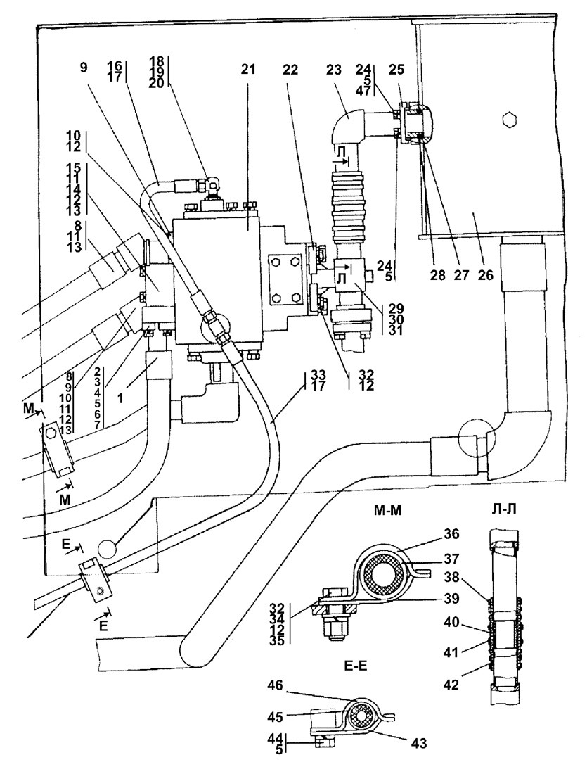
| 1 | Рукав d25 | 312501-26-29СП(SP) | ||||
| 1 | Рукав d25 | 312501-26-29-20СП | ||||
| 2 | Фланец | 2501-26-83 | ||||
| 2 | Фланец | 2501-26-83-20 | ||||
| 3 | Кольцо защитное | 44 0038 | ||||
| 4 | Болт М12?1,25-6g?35 | - | ||||
| 5 | Шайба 12 OT | - | ||||
| 6 | Кольцо 032-038-36-2-51-1688 | - | ||||
| 7 | Шайба 12?2 | 31 0210 | ||||
| 7 | Шайба 12?2 | 31 0210-20 | ||||
| 8 | Рукав d25 | 313502-26-12СП(SP) | ||||
| 8 | Рукав d25 | 313502-26-12-20СП | ||||
| 9 | Фланец | 46-26-280 | ||||
| 9 | Фланец | 46-26-280-20 | ||||
| 10 | Винт | 3502-20-4 | ||||
| 10 | Винт | 3502-20-4-20 | ||||
| 11 | Шайба защитная | 44 0005 | ||||
| 12 | Шайба 16 OT | - | ||||
| 13 | Кольцо 042-050-46-2-51-1688 | - | ||||
| 14 | Болт M16?1,5-6g?85 | 28 0566 | ||||
| 14 | Болт M16?1,5-6g?85 | 28 0566-20 | ||||
| 15 | Фланец | 3501-26-197 | ||||
| 15 | Фланец | 3501-26-197-20 | ||||
| 16 | Рукав d12 | 404-26-213-12СП(SP) | ||||
| 16 | Рукав d12 | 404-26-213-12-20СП | ||||
| 17 | Кольцо 012-016-25-2-51-1688 | - | ||||
| 18 | Угольник поворотный | 5001-26-77 | ||||
| 18 | Угольник поворотный | 5001-26-77-20 | ||||
| 19 | Кольцо 018-022-25-2-51-1688 | - | ||||
| 20 | Контргайка | H.036.23.022 | ||||
| 20 | Контргайка | H.036.23.022-01 | ||||
| 21 | Распределитель | 312501-26-40СП(SP) | ||||
| 21 | Распределитель | 312501-26-40-20СП | ||||
| 22 | Фланец | 312501-26-120 | ||||
| 22 | Фланец | 312501-26-120-20 | ||||
| 23 | Трубопровод | 312501-26-31СП(SP) | ||||
| 23 | Трубопровод | 312501-26-31-20СП | ||||
| 24 | Болт M12?1,25-6g?40 | - | ||||
| 25 | Фланец | 2501-26-362 | ||||
| 25 | Фланец | 2501-26-362-20 | ||||
| 26 | Бак гидросистемы | 313502-26-105СП(SP) | ||||
| 26 | Бак гидросистемы | 313502-26-105-20СП | ||||
| 27 | Кольцо 050-060-58-2-51-1688 | - | ||||
| 28 | Шайба защитная 60?50 | 700-40-5117 | ||||
| 29 | Трубопровод | 312501-26-17СП(SP) | ||||
| 29 | Трубопровод | 312501-26-17-20СП | ||||
| 30 | Шайба защитная | 700-40-6307 | ||||
| 31 | Кольцо 039-045-36-2-51-1688 | - | ||||
| 32 | Болт M16?1,5-6g?45 | 28 0544 | ||||
| 32 | Болт M16?1,5-6g?45 | 28 0544-20 | ||||
| 33 | Рукав d12 | 404-26-213-04СП(SP) | ||||
| 33 | Рукав d12 | 404-26-213-04-20СП | ||||
| 34 | Гайка M16?1,5 ГОСТ 5915-70 | - | ||||
| 35 | Шайба 16 | 31 0270 | ||||
| 35 | Шайба 16 | 31 0270-20 | ||||
| 36 | Скоба | 2501-26-220 | ||||
| 36 | Скоба | 2501-26-220-20 | ||||
| 37 | Втулка | 40 0354-03 | ||||
| 38 | Хомут стяжной червячный 1070-У-02 ПО4.435.002ТУ | - | ||||
| 39 | Планка | 2501-26-221 | ||||
| 39 | Планка | 2501-26-221-20 | ||||
| 40 | Втулка | 313502-26-221 | ||||
| 41 | Бандаж | 2501-26-346 | ||||
| 41 | Бандаж | 2501-26-346-20 | ||||
| 42 | Рукав | 46 1501-03 | ||||
| 42 | Рукав | 46 1501-03-20 | ||||
| 43 | Планка | 2501-26-217 | ||||
| 43 | Планка | 2501-26-217-20 | ||||
| 44 | Болт M12?1,25-6g?25 | - | ||||
| 45 | Втулка | 40 0354-02 | ||||
| 46 | Скоба | 2501-26-216 | ||||
| 46 | Скоба | 2501-26-216-20 | ||||
| 47 | Шайба | 46-11-476 | ||||
| 47 | Шайба | 46-11-476-20 | ||||
Обращаем Ваше внимание, что пункты отмеченные звездочкой, обязательны для заполнения.