| ||||||
| № п/п | Наименование | Код детали | ||||
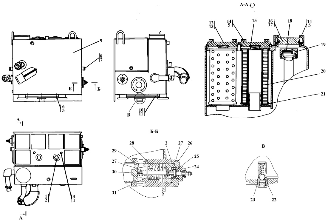
| 0 | Бак гидросисте-мы | 313502-26-105СП | ||||
| 0 | Бак гидросистемы | 313502-26-105-20СП | ||||
| 1 | Пробка | 37 5995 | ||||
| 1 | Пробка | 37 5995-20 | ||||
| 2 | Кольцо 045-050-30-2-51-1668 | - | ||||
| 3 | Пробка | 37 5245 | ||||
| 3 | Пробка | 37 5245-20 | ||||
| 4 | Кольцо 007-011-25-2-51-1668 | - | ||||
| 5 | Шайба 12 OT ГОСТ 6402-70 | - | ||||
| 6 | Болт M12?1,25-6g?30 | - | ||||
| 7 | Кольцо 018-022-25-2-51-1668 | - | ||||
| 8 | Пробка | 37 5625 | ||||
| 8 | Пробка | 37 5625-20 | ||||
| 9 | Бак | 313502-26-106СП | ||||
| 9 | Бак | 313502-26-106-20СП | ||||
| 10 | Крышка | 2501-26-178 | ||||
| 10 | Крышка | 2501-26-178-20 | ||||
| 11 | Кольцо 270-280-58-2-3 ГОСТ 18829-73 | - | ||||
| 12 | Крышка | 313502-26-262 | ||||
| 12 | Крышка | 313502-26-262-20 | ||||
| 13 | Кольцо 122-130-46-2-351-1688 | - | ||||
| 14 | Болт M12?1,25-6g?25 | - | ||||
| 15 | Пружина | 2.00.010 | ||||
| 16 | Крышка | 313502-26-250 | ||||
| 16 | Крышка | 313502-26-250-20 | ||||
| 17 | Кольцо 088-095-46-2-51-1668 | - | ||||
| 18 | Мембрана | 313502-26-252 | ||||
| 19 | Корпус | 313502-26-249 | ||||
| 20 | Элемент фильтрующий ЭФМ 020.1012040 ТУ 3117.008.00232058-97 | - | ||||
| 21 | Прокладка | 40 0380 | ||||
| 21 | Прокладка | 40 0380-20 | ||||
| 22 | Клапан | 1101-16-112СП(SP) | ||||
| 22 | Клапан | 1101-16-112-20СП(SP) | ||||
| 23 | Кольцо 040-045-30-2-51-1668 | - | ||||
| 24 | Пробка | 3500-15-15СП(SP) | ||||
| 24 | Пробка | 3500-15-15-20СП(SP) | ||||
| 25 | Кольцо 024-028-25-2-51-1668 | - | ||||
| 26 | Крышка | 1101-26-181 | ||||
| 26 | Крышка | 1101-26-181-20 | ||||
| 27 | Пружина | 700-38-2280 | ||||
| 28 | Пружина | 700-38-2183 | ||||
| 29 | Клапан | 313502-26-260 | ||||
| 30 | Шток | 2501-26-192СП(SP) | ||||
| 31 | Втулка | 2501-26-185 | ||||
Обращаем Ваше внимание, что пункты отмеченные звездочкой, обязательны для заполнения.