| ||||||
| № п/п | Наименование | Код детали | ||||
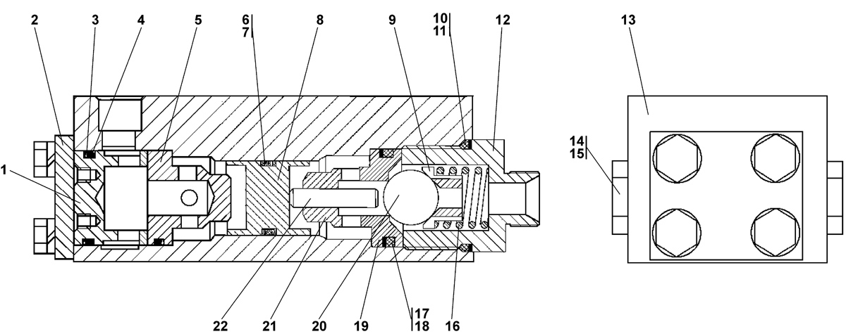
| 0 | Гидрозамок | 312501-26-24СП(SP) | ||||
| 0 | Гидрозамок | 312501-26-24-20СП | ||||
| 1 | Втулка | 312501-26-182 | ||||
| 1 | Втулка | 312501-26-182-20 | ||||
| 2 | Крышка | 312501-26-181 | ||||
| 2 | Крышка | 312501-26-181-20 | ||||
| 3 | Шайба защитная | 44 0005 | ||||
| 4 | Кольцо 042-050-46-2-51-1668 | - | ||||
| 5 | Седло | 312501-26-183 | ||||
| 6 | Кольцо защитное | 2501-93-581 | ||||
| 7 | Кольцо 032-038-36-2-51-1668 | - | ||||
| 8 | Поршень | 2501-93-573 | ||||
| 9 | Вкладыш | 2501-93-574 | ||||
| 10 | Шайба защитная | 2501-26-1158 | ||||
| 11 | Кольцо 049-055-36-2-51-1668 | - | ||||
| 12 | Крышка | 2501-93-571 | ||||
| 12 | Крышка | 2501-93-571-20 | ||||
| 12 | Шайба 16 OT ГОСТ 6402-70 | - | ||||
| 13 | Корпус | 312501-26-129 | ||||
| 14 | Пробка | 312501-26-134 | ||||
| 14 | Пробка | 312501-26-134-20 | ||||
| 15 | Кольцо 021-027-36-2-51-1668 | - | ||||
| 16 | Пружина | 38 5582 | ||||
| 17 | Кольцо защитное | 46-93-607-02 | ||||
| 18 | Кольцо 040-048-46-2-51-1668 ТУ 2531-260-149245-00 | - | ||||
| 19 | Седло | 2501-93-572-01 | ||||
| 20 | Шарик 26,988-40 ГОСТ 3722-81 | 46 9195 1665 06 | ||||
| 21 | Седло | 2501-93-572 | ||||
| 22 | Толкатель | 2501-93-577 | ||||
Обращаем Ваше внимание, что пункты отмеченные звездочкой, обязательны для заполнения.