| ||||||
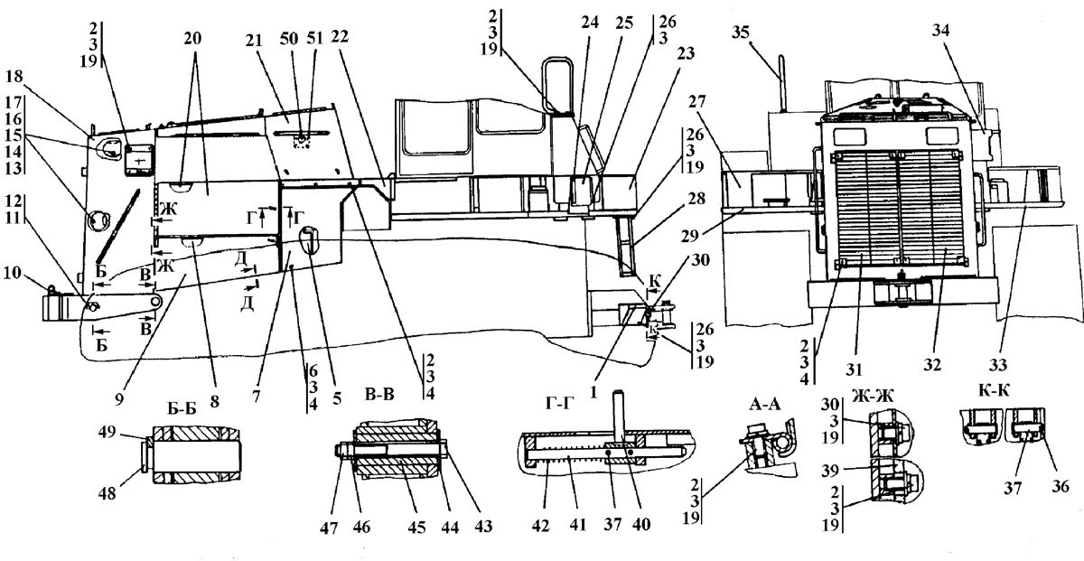
| № п/п | Наименование | Код детали | ||||
| 0 | Облицовка | 313502-55-1СП(SP) | ||||
| 0 | Облицовка | 313502-55-1-20СП(SP) | ||||
| 1 | Подножка | 313502-55-30СП(SP) | ||||
| 1 | Подножка | 313502-55-30-20СП | ||||
| 2 | Болт M12?1,25-6g?25 | - | ||||
| 2 | Болт M12?1,25-6g?25 | - | ||||
| 3 | Шайба 12 OT | - | ||||
| 4 | Шайба 12 | 31 0230 | ||||
| 4 | Шайба 12 | 31 0230-20 | ||||
| 5 | Боковина | 313502-55-22СП(SP) | ||||
| 5 | Боковина | 313502-55-22-20СП | ||||
| 6 | Болт M12?1,25-6g?45 | 28 0360 | ||||
| 6 | Болт M12?1,25-6g?45 | 28 0360-20 | ||||
| 7 | Боковина | 313502-55-21СП(SP) | ||||
| 7 | Боковина | 313502-55-21-20СП | ||||
| 8 | Защита | 313502-55-24СП(SP) | ||||
| 8 | Защита | 313502-55-24-20СП | ||||
| 9 | Защита | 313502-55-23СП(SP) | ||||
| 9 | Защита | 313502-55-23-20СП | ||||
| 10 | Палец | 405-51-16-02СП(SP) | ||||
| 10 | Палец | 405-51-16-02-20СП(SP) | ||||
| 11 | Шайба 16 OT | - | ||||
| 12 | Болт M16?1,5-6g?38 | 28 0535 | ||||
| 12 | Болт M16?1,5-6g?38 | 28 0535-20 | ||||
| 13 | Шплинт 2?14 ГОСТ 397-79 | - | ||||
| 14 | Гайка | 30 0160 | ||||
| 14 | Гайка | 30 0160-20 | ||||
| 15 | Защелка | 401-55-384 | ||||
| 15 | Защелка | 401-55-384-20 | ||||
| 16 | Ось | 401-55-383 | ||||
| 17 | Кольцо | 46-43-105-01 | ||||
| 17 | Кольцо | 46-34-105-01-20 | ||||
| 18 | Корпус | 313502-55-11СП(SP) | ||||
| 18 | Корпус | 313502-55-11-20СП | ||||
| 19 | Шайба 12?2 | 31 0210 | ||||
| 19 | Шайба 12?2 | 310210-20 | ||||
| 20 | Створка | 313502-55-25СП(SP) | ||||
| 20 | Створка | 313502-55-25-20СП | ||||
| 21 | Капот | 313502-55-20СП(SP) | ||||
| 21 | Капот | 313502-55-20-20СП | ||||
| 22 | Щиток | 313502-55-28СП(SP) | ||||
| 22 | Щиток | 313502-55-28-20СП | ||||
| 23 | Контейнер | 2504-55-212СП(SP) | ||||
| 23 | Контейнер | 2504-55-212-20СП(SP) | ||||
| 24 | Планка | 58-55-279 | ||||
| 25 | Прокладка | 40 0309 | ||||
| 25 | Прокладка | 40 0309-20 | ||||
| 26 | Болт M12?1,25-6g?35 | 28 0348 | ||||
| 26 | Болт M12?1,25-6g?35 | 28 0348-20 | ||||
| 27 | Кожух | 313502-55-19СП(SP) | ||||
| 27 | Кожух | 313502-55-19-20СП | ||||
| 28 | Трап | 313502-55-16СП(SP) | ||||
| 28 | Трап | 313502-55-16-20СП | ||||
| 29 | Крыло | 313502-55-15СП(SP) | ||||
| 29 | Крыло | 313502-55-15-20СП | ||||
| 30 | Ступенька | 313502-55-31СП(SP) | ||||
| 30 | Ступенька | 313502-55-31-20СП | ||||
| 31 | Решетка | 2501-55-182СП(SP) | ||||
| 31 | Решетка | 2501-55-182-20СП(SP) | ||||
| 32 | Решетка | 2501-55-181СП(SP) | ||||
| 32 | Решетка | 2501-55-181-20СП(SP) | ||||
| 33 | Крыло | 313502-55-32СП(SP) | ||||
| 33 | Крыло | 313502-55-32-20СП | ||||
| 34 | Кожух | TT2501-55-131-01СП | ||||
| 34 | Кожух | ТТ2501-55-131-01-20СП | ||||
| 35 | Поручень | 313502-55-29СП(SP) | ||||
| 35 | Поручень | 313502-55-29-20СП | ||||
| 36 | Ось 6-16?9?60.40.2.28…35Ц6Xp ГОСТ 9650-80 | 47 0560 | ||||
| 36 | Ось 6-16?9?60.40.2.28…35кд6Xp ГОСТ 9650-80 | 47 0560-20 | ||||
| 37 | Шплинт 4?25 ГОСТ 397-79 | - | ||||
| 38 | Болт M12?1,25-6g?20 | 28 0320 | ||||
| 38 | Болт M12?1,25-6g?20 | 28 0320-20 | ||||
| 39 | Планка | 313502-55-122 | ||||
| 39 | Планка | 313502-55-122-20 | ||||
| 40 | Ручка | 2501-55-169СП(SP) | ||||
| 41 | Стержень | 2501-55-215 | ||||
| 42 | Пружина | 700-38-2563 | ||||
| 42 | Пружина | 700-38-2563-20 | ||||
| 43 | Болт M24?2-6g?220 | 28 0897 | ||||
| 43 | Болт M24?2-6g?220 | 28 0897-20 | ||||
| 44 | Шайба | 31 5325 | ||||
| 44 | Шайба | 31 5325-20 | ||||
| 45 | Палец | TT2501-55-228 | ||||
| 45 | Палец | TT2501-55-228-20 | ||||
| 46 | Гайка M24?2 | 30 0365 | ||||
| 46 | Гайка M24?2 | 30 0365-20 | ||||
| 47 | Гайка M24?2 | 30 0350-01 | ||||
| 47 | Гайка M24?2 | 30 0350-01-20 | ||||
| 48 | Палец | TT2501-55-227 | ||||
| 48 | Палец | TT2501-55-227-20 | ||||
| 49 | Накладка | 2501-55-297 | ||||
| 50 | Табличка 125?80 ГОСТ 12971-67 | 42 0167 | ||||
| 51 | Заклепка 3?6.37 ГОСТ 10299-80 | 36 0100 | ||||
Обращаем Ваше внимание, что пункты отмеченные звездочкой, обязательны для заполнения.