| ||||||
| № п/п | Наименование | Код детали | ||||
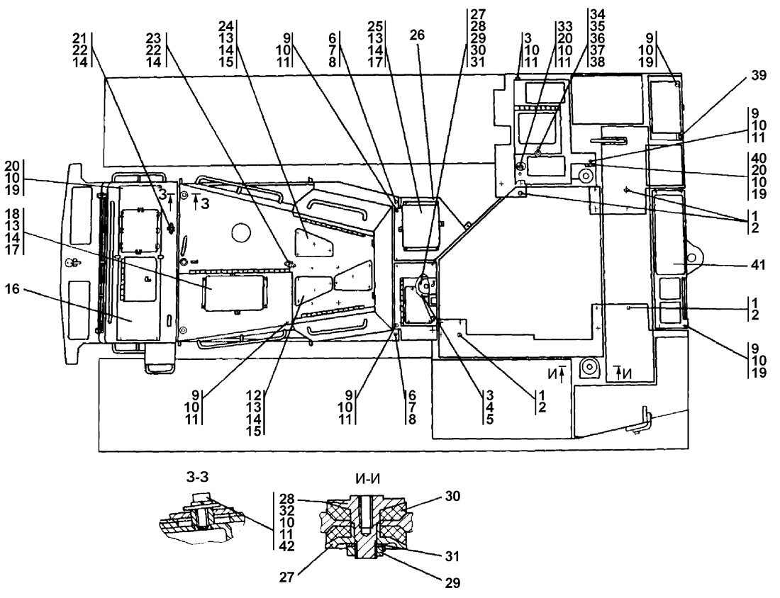
| 1 | Болт M24?2-6g?90 | 28 0840 | ||||
| 1 | Болт M24?2-6g?90 | 28 0840-20 | ||||
| 2 | Шайба 24 | 31 0350 | ||||
| 2 | Шайба 24 | 31 0350-20 | ||||
| 3 | Кронштейн | 313502-55-26СП(SP) | ||||
| 3 | Кронштейн | 313502-55-26-20СП | ||||
| 4 | Шайба | TT2501-55-230 | ||||
| 4 | Шайба | TT2501-55-230-20 | ||||
| 5 | Болт M20?1,5-6g?40 | 28 0720 | ||||
| 5 | Болт M20?1,5-6g?40 | 28 0720-20 | ||||
| 6 | Болт M20?1,5-6g?90 | 28 0746 | ||||
| 6 | Болт M20?1,5-6g?90 | 28 0746-20 | ||||
| 7 | Шайба 20 OT | - | ||||
| 8 | Шайба 20?4 | 31 0310 | ||||
| 8 | Шайба 20?4 | 31 0310-20 | ||||
| 9 | Болт M12?1,25-6g?25 | - | ||||
| 10 | Шайба 12 OT | - | ||||
| 11 | Шайба 12 | 31 0230 | ||||
| 11 | Шайба 12 | 31 0230-20 | ||||
| 12 | Решетка | 2501-55-211СП(SP) | ||||
| 12 | Решетка | 2501-55-211-20СП(SP) | ||||
| 13 | Болт M8-6g?25 | - | ||||
| 14 | Шайба 8T | - | ||||
| 15 | Шайба 8 | 31 0150 | ||||
| 15 | Шайба 8 | 31 0150-20 | ||||
| 16 | Крышка | 313502-55-13СП(SP) | ||||
| 16 | Крышка | 313502-55-13-20СП | ||||
| 17 | Шайба 8 | 31 0140 | ||||
| 17 | Шайба 8 | 31 0140-20 | ||||
| 18 | Решетка | 2501-55-207СП(SP) | ||||
| 18 | Решетка | 2501-55-207-20СП(SP) | ||||
| 19 | Шайба12?01 | 31 0210 | ||||
| 19 | Шайба12?01 | 31 0210-20 | ||||
| 20 | Болт M12?1,25-6g?35 | 28 0348 | ||||
| 20 | Болт M12?1,25-6g?35 | 28 0348-20 | ||||
| 21 | Хомут | 46-55-228СП (SP) | ||||
| 21 | Хомут | 46-55-228-20СП(SP) | ||||
| 22 | Болт M8-6g?20 | - | ||||
| 23 | Хомут | A30.06.100 | ||||
| 23 | Хомут | A30.06.100-20 | ||||
| 24 | Решетка | 2501-55-210СП(SP) | ||||
| 24 | Решетка | 2501-55-210-20СП(SP) | ||||
| 25 | Решетка | TT2501-55-140СП(SP) | ||||
| 25 | Решетка | TT2501-55-140-20СП | ||||
| 26 | Щиток | 313502-55-27СП(SP) | ||||
| 26 | Щиток | 313502-55-27-20СП | ||||
| 27 | Прижим | 2501-20-26 | ||||
| 27 | Прижим | 2501-20-26-20 | ||||
| 28 | Упор | 2501-60-134 | ||||
| 28 | Упор | 2501-60-134-20 | ||||
| 29 | Гайка | 30 5485 | ||||
| 29 | Гайка | 30 5485-20 | ||||
| 30 | Амортизатор | 40 0224 | ||||
| 31 | Шайба H42 | 31 0460 | ||||
| 31 | Шайба H42 | 31 0460-20 | ||||
| 32 | Болт M12?1,25-6g?20 | 28 0320 | ||||
| 32 | Болт M12?1,25-6g?20 | 28 0320-20 | ||||
| 33 | Кронштейн | 312501-55-108СП(SP) | ||||
| 33 | Кронштейн | 312501-55-108-20СП | ||||
| 34 | Ручка | 2501-55-170СП(SP) | ||||
| 35 | Стержень | 2501-55-215 | ||||
| 36 | Кольцо | 46-43-105-01 | ||||
| 36 | Кольцо | 46-43-105-01-20 | ||||
| 37 | Пружина | 700-38-2563 | ||||
| 37 | Пружина | 700-38-2563-20 | ||||
| 38 | Шплинт 425 ГОСТ 397-79 | - | ||||
| 39 | Опора | 40 0085 | ||||
| 40 | Стойка | 313502-55-18СП(SP) | ||||
| 40 | Стойка | 313502-55-18-20СП | ||||
| 41 | Щиток | 312501-55-111СП(SP) | ||||
| 41 | Щиток | 312501-55-111-20СП | ||||
| 42 | Шайба 20 | 31 0320 | ||||
| 42 | Шайба 20 | 31 0320-20 | ||||
Обращаем Ваше внимание, что пункты отмеченные звездочкой, обязательны для заполнения.