| ||||||
| № п/п | Наименование | Код детали | ||||
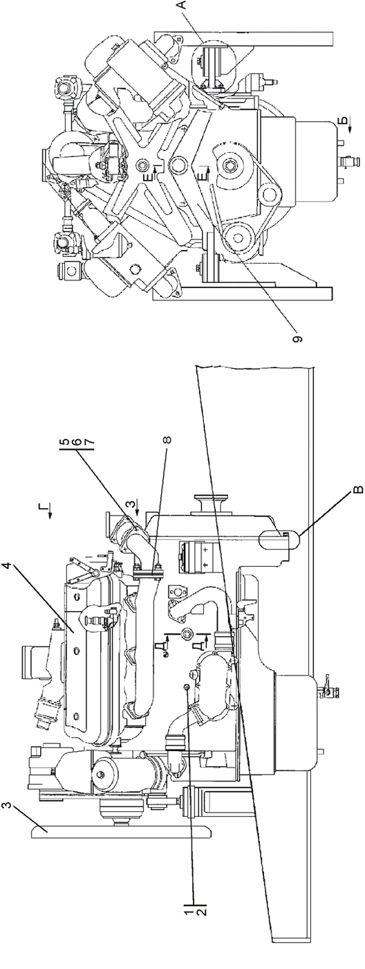
| 0 | Установка двигателя ЯМЗ- 236 | 0902-01-1СП | ||||
| 0 | Установка двигателя ЯМЗ- 236 | 0902-01-1-20СП | ||||
| 0 | Двигатель с оборудованием (состоит из узлов и деталей рис. 1.1, поз.3-8, рис. 1.2, поз.23-25, 28-31); | 1102-01-10-02СП | ||||
| 0 | Двигатель с оборудованием | 1102-01-10-02-20СП | ||||
| 9 | Опора передняя | 0902-01-101СП | ||||
| 9 | Опора передняя | 0902-01-101-20СП | ||||
| 3 | Крыльчатка вентилятора толкающая | 2002-01-104СП | ||||
| 3 | Крыльчатка вентилятора толкающая | 2002-01-104-20СП | ||||
| 8 | Прокладка | 1102-01-6 | ||||
| 2 | Переходник | 37263 | ||||
| 2 | Переходник | 2002-01-7-20 | ||||
| 5 | Болт М10-6g?40 | 280250 | ||||
| 5 | Болт М10-6g?40 | 28 0250-20 | ||||
| 6 | Гайка М10 | 300195 | ||||
| 7 | Шайба 10 | 310170 | ||||
| 7 | Шайба 10 | 31 0170-20 | ||||
| 1 | Датчик аварийного давления масла ММ111В | 4573826184 | ||||
| 1 | Датчик аварийного давления масла ММ111В-Э | 4573826185 | ||||
| 1 | Датчик аварийного давления масла ММ111В-Т | 4573826186 | ||||
| 4 | Двигатель ЯМЗ-236ДК-У | - | ||||
| 4 | Двигатель ЯМЗ-236ДК-Э | - | ||||
| 4 | Двигатель ЯМЗ-236ДК-Т | - | ||||
Обращаем Ваше внимание, что пункты отмеченные звездочкой, обязательны для заполнения.